Запчасти Case IH 4890 (8-324) - HITCH CONTROL CIRCUIT, PRIOR TO P.I.N. 8860450 (08) - HYDRAULICS

Схема запчастей Case IH 4890 - (8-324) - HITCH CONTROL CIRCUIT, PRIOR TO P.I.N. 8860450 (08) - HYDRAULICS
23
7
7
20
14
15
22
10
2
8
16
6
8
12
13
19
8
21
18
17
3
5
7
4
23
23
20
1
11
FIT
1:1
100%

Артикул

Название

Примечание

Количество

1

REF

INSTRUCTION

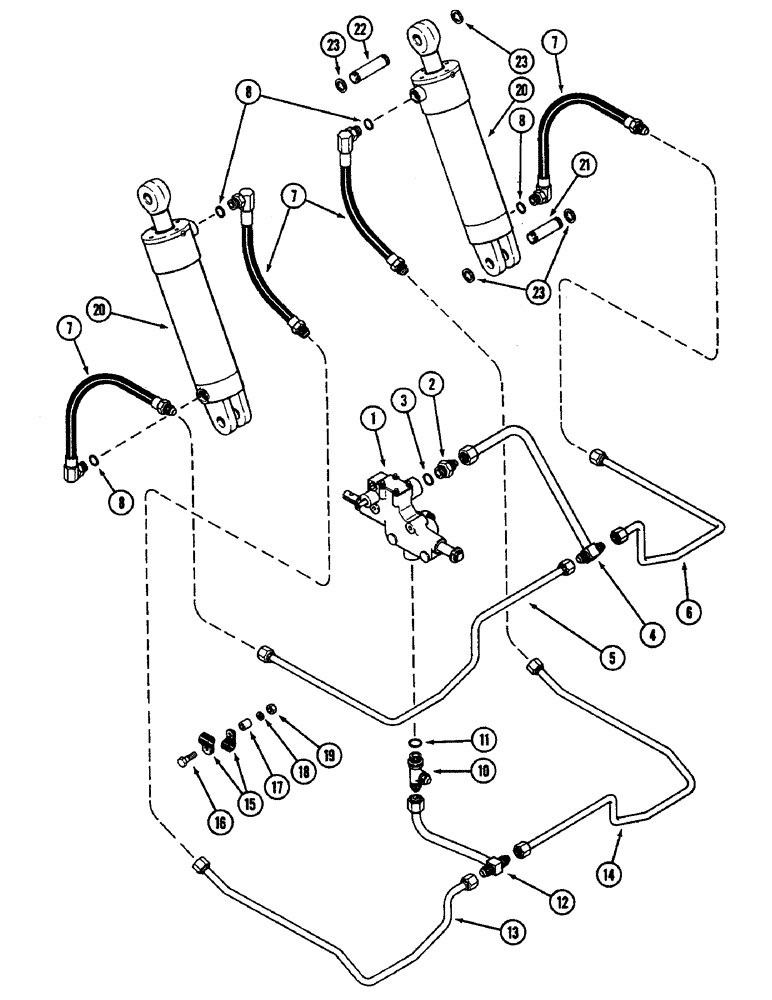
VALVE ASSEMBLY - hitch and depth control (See Figure 8-328)

1шт.

2

218-5064

HYD CONNECTOR,1-1/16" - 12 Male JIC x 1-1/16" - 12 Male ORB

CONNECTOR ASSEMBLY - straight, Incl. Ref. 3

1шт.

3

218-5008

O-RING,0.116" Thk x 0.924" ID, -912, Cl 6, 90 Duro

- 15/16 x 1-5/32 x 7/64" (23.8 x 29.4 x 2.8 MM)

1шт.

4

A148519

TUBE

- tee, pressure line

1шт.

5

A148521

TUBE

- pressure, RH cylinder

1шт.

6

A148522

TUBE

- pressure, LH cylinder

1шт.

7

A75438

HOSE

- lift cylinder

4шт.

8

237-6010

O-RING,0.097" Thk x 0.755" ID, -910, Cl 6, 90 Duro

- 3/4 x 61/64 x 3/32" (19.1 x 24.2 x 2.4 MM)

4шт.

10

218-5239

TEE,1-1/16" - 12 Male JIC x 1-1/16" - 12 Male JIC x 1-1/16" - 12 Male ORB

CONNECTOR ASSEMBLY - (Branch type), Includes: Ref. 11

1шт.

11

218-5008

O-RING,0.116" Thk x 0.924" ID, -912, Cl 6, 90 Duro

- 15/16 x 1-5/32 x 7/64" (23.8 x 29.4 x 2.8 MM)

1шт.

12

A148520

TUBE

- tee, return line

1шт.

13

A148523

TUBE

- return, RH cylinder

1шт.

14

A148524

TUBE

- return, LH cylinder

1шт.

15

515-23159

CLAMP,5/8", Insul, 3/8" Bolt

- tube

4шт.

16

113-259

BOLT,Hex, 3/8" - 16 x 4-1/2", Gr 5

2шт.

17

A140434

BUSHING

SPACER - tube clamp, 13/32 x 3/4 x 3/4" (10.32 x 19.05 x 19.05 MM)

2шт.

18

192-21

LOCK WASHER,3/8"

WASHER, LOCK, 3/8"

2шт.

19

129-103

NUT,Hex, 3/8" - 16, Gr 5

NUT, 3/8"-16, G5

2шт.

20

REF

INSTRUCTION

CYLINDER ASSEMBLY - lift, hitch (See Figure 8-334)

2шт.

21

A76281

PIN

- lower, 3-1/2" (88.9 MM) Long

2шт.

22

A76282

PIN

- upper, 4" (101.6 MM) Long

2шт.

23

A12667

RING

- snap

8шт.

Выбрано товаров: 22