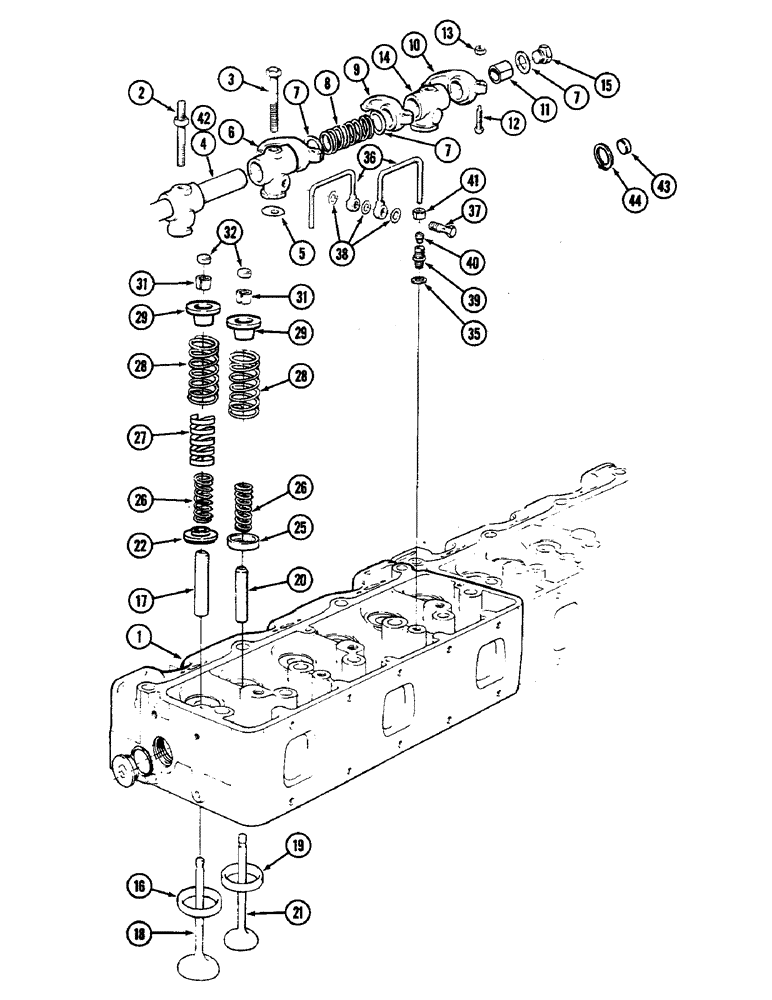
Запчасти Case IH 4890 (2-32) - VALVE MECHANISM, 674 CUBIC INCH DIESEL ENGINE (02) - ENGINE

Схема запчастей Case IH 4890 - (2-32) - VALVE MECHANISM, 674 CUBIC INCH DIESEL ENGINE (02) - ENGINE
2
19
21
4
8
15
40
43
27
12
31
18
11
16
39
6
1
29
41
25
17
5
26
13
35
7
32
28
31
7
3
29
22
37
42
38
26
36
44
7
28
20
9
10
14
FIT
1:1
100%

Артикул

Название

Примечание

Количество

1

REF

INSTRUCTION

HEAD ASSEMBLY - cylinder (See Figure 2-30)

2шт.

2

A45728

STUD

- rocker arm brackets, outer

4шт.

3

814-12080

BOLT,Hex, M12 x 1.75 x 80mm, Cl 8.8

2шт.

4

A45721

SHAFT

- rocker arm (Order A46586)

2шт.

Prior to engine serial no. 5247394. Prior to engine serial no. 3029066

1шт.

5

A45727

GASKET

- bracket, rocker arm shaft

6шт.

6

A45726

BRACKET

- center, rocker arm shaft

2шт.

7

A45724

WASHER

- rocker arm shaft

12шт.

8

A45722

SPRING

- rocker arm shaft

4шт.

9

A45716

ARM

ASSEMBLY - rocker RH (Includes ref. 11)

6шт.

10

A45715

ROCKER

ARM ASSEMBLY - rocker LH (Includes ref. 11)

6шт.

11

A46169

BUSHING

- rocker arm (Ream after assembly)

1шт.

12

A45718

STUD

- adjusting, rocker arm

12шт.

13

A45760

NUT

- lock, adjusting stud

12шт.

14

A45725

BRACKET

- outer, rocker arm shaft

4шт.

15

A45723

PLUG

- rocker arm shaft (Used with ref. 4)

4шт.

16

REF

INSTRUCTION

SEAT - intake valve (See Figure 2-30)

6шт.

17

REF

INSTRUCTION

GUIDE - intake valve (See Figure 2-30)

6шт.

18

A46416

VALVE

- intake

6шт.

Prior to engine serial no. 5247394. Prior to engine serial no. 3029066

1шт.

18

A46599

VALVE

- intake

6шт.

Engine serial no. 5247394 and after. Engine serial no. 3029066 and after.

1шт.

19

REF

INSTRUCTION

SEAT - exhaust valve (See Figure 2-30)

6шт.

20

REF

INSTRUCTION

GUIDE - exhaust valve (See Figure 2-30)

6шт.

21

A46380

VALVE

- exhaust

6шт.

22

A46431

ROTOR

- intake valve stem

6шт.

25

A45710

WASHER

- lower, exhaust valve spring

6шт.

26

A45709

SPRING

- inner, valve stem

12шт.

27

A46325

SPRING

- damper, intake valve

6шт.

28

A45708

SPRING

- outer, valve stem

12шт.

29

A46315

WASHER

upper, valve spring (intake)

6шт.

29

A45711

WASHER

upper, valve spring (exhaust)

6шт.

31

A45712

KEY

- valve stem

24шт.

32

A45713

CAP

- valve stem

12шт.

35

A45731

GASKET

- washer, lube tube fitting

6шт.

36

A45729

TUBE

- lube oil, rocker shaft

4шт.

37

A45730

BOLT

- hollow, lube, Serial Range: tube-bracket

2шт.

38

A45731

GASKET

- washer, lube tube fitting

6шт.

39

A45732

CONNECTOR, ELEC

CONNECTOR -, Serial Range: tube-head

4шт.

40

A45753

SLEEVE

- tube connector

4шт.

41

A45762

NUT

- tube connector

4шт.

42

A46586

SHAFT

ASSEMBLY - rocker arm, Includes: Ref. 43 and 44

2шт.

Engine serial no. 5247394 and after. Engine serial no. 3029066 and after.

1шт.

43

A46587

PLUG

- bowl type

2шт.

44

A46588

RING

- retaining

2шт.

Выбрано товаров: 45