Запчасти Case IH 4890 (3-66) - FUEL INJECTION SYSTEM, 674 CUBIC INCH DIESEL ENGINE, USED WITH A46568 FUEL INJECTION PUMP (03) - FUEL SYSTEM

Схема запчастей Case IH 4890 - (3-66) - FUEL INJECTION SYSTEM, 674 CUBIC INCH DIESEL ENGINE, USED WITH A46568 FUEL INJECTION PUMP (03) - FUEL SYSTEM
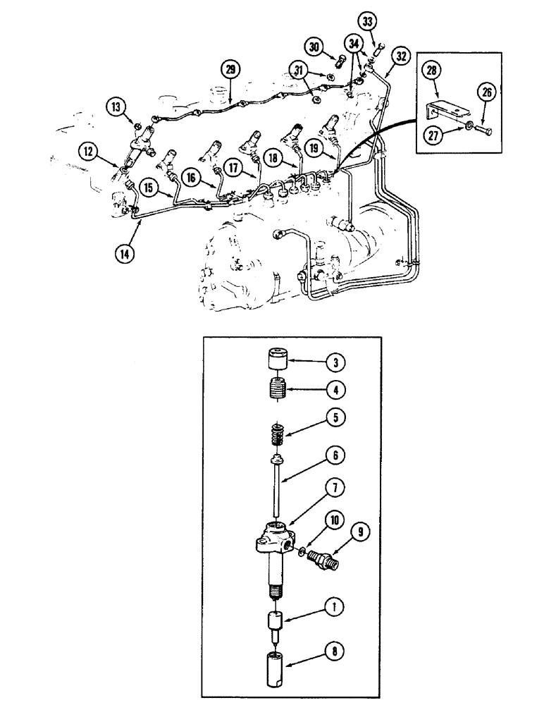
9
32
19
30
31
16
27
14
10
34
29
4
18
15
17
26
28
13
12
1
8
7
3
6
5
33
FIT
1:1
100%

Артикул

Название

Примечание

Количество

1

A46570

NOZZLE CAP

NOZZLE - fuel injection

6шт.

Reference 08-05-86 dated service bulletin (AG55-86) not (AG55-82) to assure proper nozzle to injection pump match. Improper match will cause low power and excessive smoke.

1шт.

A46569

HOLDER

ASSEMBLY - fuel injection nozzle, Includes: Ref. 3 - 10

6шт.

3

NSS

NOT SOLD SEPARAT

NUT - cap

1шт.

4

NSS

NOT SOLD SEPARAT

SCREW - plug

1шт.

5

NSS

NOT SOLD SEPARAT

SPRING - pressure

1шт.

6

NSS

NOT SOLD SEPARAT

SPINDLE - nozzle

1шт.

7

NSS

NOT SOLD SEPARAT

BODY - nozzle holder

1шт.

8

NSS

NOT SOLD SEPARAT

NUT - nozzle adjusting

1шт.

9

NSS

NOT SOLD SEPARAT

CONNECTOR - line

1шт.

10

NSS

NOT SOLD SEPARAT

WASHER - connector

1шт.

A46880

SEALING RING

- rubber dust, on holder (Not shown)

6шт.

A46571

YOKE

- nozzle holder (Not shown)

6шт.

12

NLS

NO LONGER SERVICED

- copper washer, Serial Range: nozzle-head

6шт.

13

A46073

NUT

- nozzle to head stud

12шт.

14

A46577

TUBE

- injection pump to no. 6 nozzle

1шт.

15

A46576

TUBE

- injection pump to no. 5 nozzle

1шт.

16

A46575

TUBE

- injection pump to no. 4 nozzle

1шт.

17

A46574

TUBE

- injection pump to no. 3 nozzle

1шт.

18

A46573

TUBE

- injection pump to no. 2 nozzle

1шт.

19

A46572

TUBE

- injection pump to no. 1 nozzle

1шт.

26

813-8014

BOLT,Hex, M8 x 1.25 x 14mm, Cl 8.8, Full Thd

- 8 x 1.25 x 14 MM hex.

4шт.

27

195-103

WASHER,5/16"

- 3/8 x 7/8 x 5/64" (9.52 x 22.22 x 1.98 MM)

4шт.

28

A46210

BRACKET

- tube clamp, filter and injection

1шт.

29

REF

INSTRUCTION

TUBE - leak-off (Order 2-A46533, 1-A46534, 3-A46058, 2-A46060 and 12-A46379)

1шт.

30

A46058

BANJO BOLT

- hollow, leak-off, Serial Range: tube-nozzle

5шт.

31

A46379

WASHER

GASKET - washer, injector nozzle

10шт.

32

A46059

TUBE

- nozzle leak-off valve

1шт.

33

A46060

BANJO BOLT

- hollow, tube to #1 nozzle

1шт.

34

A46379

WASHER

GASKET - washer, Serial Range: tube-nozzle

5шт.

Выбрано товаров: 0