Запчасти Case IH 4890 (3-68) - FUEL INJECTION RETAINING PARTS, 674 CUBIC INCH DIESEL ENGINE (03) - FUEL SYSTEM

Схема запчастей Case IH 4890 - (3-68) - FUEL INJECTION RETAINING PARTS, 674 CUBIC INCH DIESEL ENGINE (03) - FUEL SYSTEM
8
14
15
26
5
25
10
4
20
16
14
19
9
16
3
12
28
21
18
7
13
4
22
11
13
2
1
6
FIT
1:1
100%

Артикул

Название

Примечание

Количество

1

REF

INSTRUCTION

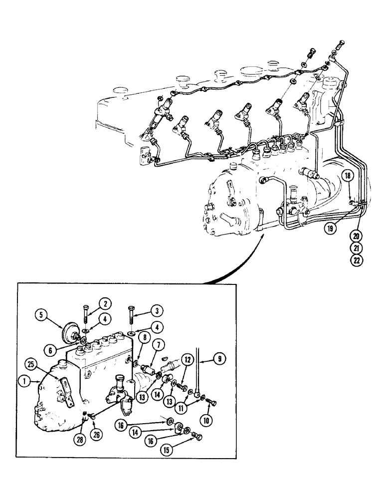
INJECTION PUMP ASSEMBLY - fuel (See Figure 3-58 and 3-60)

1шт.

2

813-10085

BOLT,Hex, M10 x 1.5 x 85mm, Cl 8.8

- 10 x 1.5 x 85 MM hex. (Pump mounting)

1шт.

Engine serial no. 5247396 and after. Engine serial no. 3028401 and after. Ref. 2, two used. Ref. 3, two used.

1шт.

Prior to engine serial no. 5247396. Prior to engine serial no. 3028401. Ref. 2, three used. Ref. 3, one used.

1шт.

3

A46068

BOLT

- guide, pump mounting

1шт.

Engine serial no. 5247396 and after. Engine serial no. 3028401 and after. Ref. 2, two used. Ref. 3, two used.

1шт.

Prior to engine serial no. 5247396. Prior to engine serial no. 3028401. Ref. 2, three used. Ref. 3, one used.

1шт.

4

195-525

WASHER,3/8", SAE

- 13/32 x 13/16 x 1/16" (10.32 x 20.64 x 1.59 MM)

4шт.

5

A46075

FUEL INJECTION PUMP

DIAPHRAGM - injection pump

1шт.

6

A46209

GASKET

-, Serial Range: diaphragm-pump

1шт.

7

A46564

VALVE

- pump leak-off (Replaces A46065)

1шт.

7

A46065

VALVE

- pump leak-off (Replaces by A46564)

1шт.

A45766

GASKET

-, Serial Range: valve-pump

1шт.

9

A46059

TUBE

- nozzle, Serial Range: leak-off-valve

1шт.

10

A46058

BANJO BOLT

-, Serial Range: tube-valve

1шт.

11

A46379

WASHER

GASKET - washer, tube bolt

2шт.

12

A46066

BANJO BOLT

- tank return, Serial Range: tube-valve

1шт.

13

A45766

GASKET

- washer, Serial Range: bolt-tube

2шт.

14

A46067

CONNECTOR, ELEC

CONNECTOR - banjo, tank lines

2шт.

15

A46063

BOLT,Hollow

- fuel line from tank

1шт.

16

A45766

GASKET

- washer, Serial Range: bolt-connector

2шт.

18

A46064

BRACKET

- injection tube

1шт.

19

A46226

CLAMP

- tube

2шт.

20

813-6016

BOLT,Hex, M6 x 1 x 16mm, Cl 8.8, Full Thd

- 6 x 1 x 16 MM hex.

2шт.

21

825-1006

NUT,M6, Cl 8

- 6 MM hex.

2шт.

22

195-515

WASHER,#12

- 1/4 x 1/2 x 3/64" (6.35 x 12.7 x 1.19 MM)

2шт.

25

A136995

LEVER

ARM - throttle lever

1шт.

26

814-6014

BOLT,Hex, M6 x 1 x 14mm, Cl 8.8, Full Thd

- 6 x 1.0 x 14 MM hex.

1шт.

26

A46074

BOLT

- 6 x 1.0 x 22 MM hex.

1шт.

28

195-515

WASHER,#12

- 1/4 x 1/2 x 3/64" (6.35 x 12.7 x 1.19 MM)

2шт.

Выбрано товаров: 0