Запчасти Case IH 4890 (3-74) - FUEL TANKS, 674 CUBIC INCH DIESEL ENGINE (03) - FUEL SYSTEM

Схема запчастей Case IH 4890 - (3-74) - FUEL TANKS, 674 CUBIC INCH DIESEL ENGINE (03) - FUEL SYSTEM
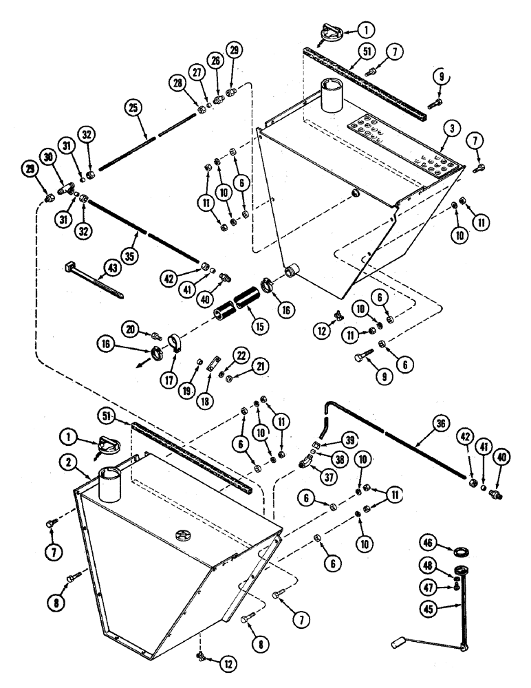
46
10
16
11
48
31
18
51
41
37
10
9
6
8
31
7
41
3
6
16
11
45
12
17
11
6
35
6
7
36
1
10
11
11
40
42
32
42
47
27
7
8
40
6
1
39
10
22
25
28
9
43
15
10
10
20
19
2
29
38
51
32
7
30
12
21
29
6
26
FIT
1:1
100%

Артикул

Название

Примечание

Количество

1

V34471

TUNNEL

- filler, fuel tank

2шт.

2

A144081

TANK

- fuel, RH

1шт.

3

A164414

TANK

- fuel, LH (Replaces A144075)

1шт.

3

A144075

TANK

- fuel, LH (Replaced by A164414)

1шт.

6

A162131

BUSHING

SPACER - fuel tank (Replaces A144080 and A140522)

8шт.

7

13-1032

BOLT,Hex, 5/8" - 11 x 2", Gr 5

3шт.

8

13-1044

BOLT,Hex, 5/8" - 11 x 2-3/4", Gr 5

- 5/8 x 2-3/4" NC hex. (Grade 5)

3шт.

9

13-1056

BOLT,Hex, 5/8" - 11 x 3-1/2", Gr 5

- 5/8 x 3-1/2" NC hex. (Grade 5)

2шт.

10

92-10

LOCK WASHER,5/8"

WASHER, LOCK, 5/8"

8шт.

11

25-1010

NUT,5/8"-11, G5

8шт.

12

217-81

VALVE

- drain, water trap, 1/8" PT

2шт.

15

A160192

HOSE,2.00" ID x 29.00", SAE 30R1 PER SAE J30 OR SAE 30R2 TYPE 2

2.00" ID x 29.00", SAE 30R1 per SAE J30 - Passage, Tank to Tank

1шт.

16

214-260

HOSE CLAMP,#36, 1.81" - 2.75", Type F Worm

(46 to 70 mm) #36, 1.81/2.75 Type F Worm

2шт.

17

A8593

CLAMP

- hose support

1шт.

18

A160255

STRAP

- hose support

1шт.

19

A31263

BUSHING

SPACER - clamp

1шт.

20

113-207

BOLT,Hex, 3/8" - 16 x 1", Gr 5

1шт.

21

129-103

NUT,Hex, 3/8" - 16, Gr 5

NUT, 3/8"-16, G5

1шт.

22

192-21

LOCK WASHER,3/8"

WASHER, LOCK, 3/8"

1шт.

25

A63670

TUBE

- vent, tank to tank, 3/8" OD x 30" (9.52 x 762 MM) Nylon (Replaces A63997)

1шт.

26

222-5101

CONNECTOR, ELEC,17/32"-24 x 1/4" NPT

CONNECTOR ASSEMBLY - LH tank, Includes: Ref. 27 and 28

1шт.

27

222-5186

SLEEVE,3/8" Tube

- for 3/8" (9.5 MM) Tube

1шт.

28

222-5181

NUT,9/16"-24

NUT - for 3/8" (9.5 MM) Tube

1шт.

29

217-2

ADAPTER,1/4"-18 Fem NPTF x 1/4"-18 NPTF Male

- brass, 1/4 x 1/4" PT

2шт.

30

222-5120

TEE,7/16"-24 x 1/4" NPT Run

CONNECTOR ASSEMBLY - RH tank (T type), Includes: Ref. 31 and 32

1шт.

31

222-5186

SLEEVE,3/8" Tube

- for 3/8" (9.5 MM) Tube

2шт.

32

222-5181

NUT,9/16"-24

NUT - for 3/8" (9.5 MM) Tube

2шт.

35

A144833

TUBE - return, nozzle leak-off to tank, 3/8" OD x 116" (9.52 x 2946.4 MM) Nylon (Replaces A60771) (Order A150838)

1шт.

36

A150838

TUBE

- tank to pump, 3/8" OD x 95" (9.52 x 2 413 MM) Nylon

1шт.

37

222-5140

FITTING,45 Degree, 17/32"-24 x 1/4" NPT

ELBOW ASSEMBLY - 45 degree, tube to tank, Includes: Ref. 38 and 39

1шт.

38

222-5186

SLEEVE,3/8" Tube

- for 3/8" (9.5 MM) Tube

1шт.

39

222-5181

NUT,9/16"-24

NUT - for 3/8" (9.5 MM) Tube

1шт.

40

222-5101

CONNECTOR, ELEC,17/32"-24 x 1/4" NPT

CONNECTOR ASSEMBLY, Includes: Ref. 41 and 42

2шт.

41

222-5186

SLEEVE,3/8" Tube

- for 3/8" (9.5 MM) Tube

1шт.

42

222-5181

NUT,9/16"-24

NUT - for 3/8" (9.5 MM) Tube

1шт.

43

A160890

STRAP

- nylon, fuel tubes

5шт.

45

A144084

UNIT

SENDER - fuel gauge

1шт.

46

A11822

GASKET

-, Serial Range: sender-tank

1шт.

47

173-221

SCREW,Sl Rnd Hd, #10 - 32 x 7/16"

- #10-32 x 7/16" round head

5шт.

48

192-18

LOCK WASHER,Helical Spring, #10, 0.196" ID, CST, ZND

WASHER, LOCK, #10

5шт.

51

A150492

FOAM

- sealing, tank to cab 2 x 2 x 35-1/2" (50.8 x 50.8 x 212 MM)

2шт.

Выбрано товаров: 0