Запчасти Case IH 4894 (8-342) - HITCH VALVE ASSEMBLY PRIOR TO P.I.N. 8865502 (08) - HYDRAULICS

Схема запчастей Case IH 4894 - (8-342) - HITCH VALVE ASSEMBLY PRIOR TO P.I.N. 8865502 (08) - HYDRAULICS
69
55
69
53
69
78
51
57
59
66
67
52
64
71
50
77
74
56
58
69
68
75
73
70
68
60
72
65
66
FIT
1:1
100%

Артикул

Название

Примечание

Количество

A166847

VALVE

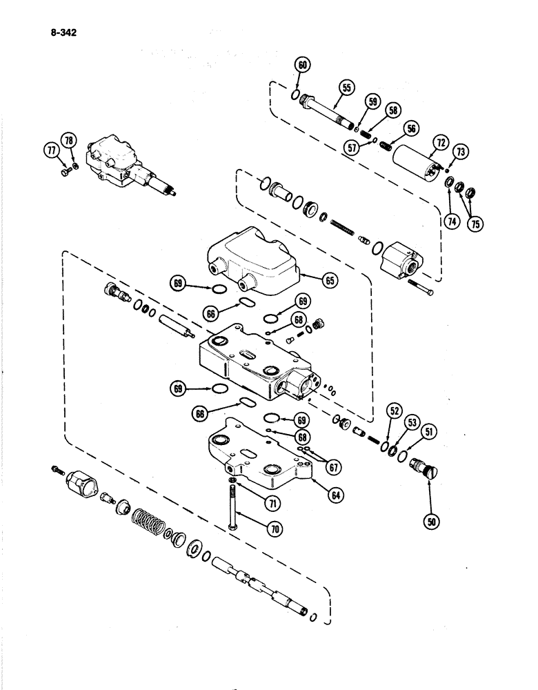
ASSEMBLY - hitch control (Continued from Figure 8-340), Includes: Ref. 50 - 78

1шт.

NSS

NOT SOLD SEPARAT

VALVE ASSEMBLY - three way (Continued from Figure 8-340), Includes: Ref. 50 - 60

1шт.

50

A47978

PLUG

ASSEMBLY - lockout, Includes: Ref. 51 - 53

1шт.

51

R30989

O-RING,0.103" Thk x 0.862" ID, -118, Cl 6, 90 Duro

- lockout plug

1шт.

Part of Three Way Valve Repair Kit, P/N A47985

1шт.

52

D31410

O-RING,0.103" Thk x 0.674" ID, -115, Cl 6, 90 Duro

- lockout plug

1шт.

Part of Three Way Valve Repair Kit, P/N A47985

1шт.

53

A41346

RING

- lockout plug backup

1шт.

Part of Three Way Valve Repair Kit, P/N A47985

1шт.

A47957

CORE

ASSEMBLY - solenoid, Includes: Ref. 55 - 60

1шт.

55

NSS

NOT SOLD SEPARAT

CORE ASSEMBLY - solenoid

1шт.

56

A47959

PLUG

- adjusting

1шт.

57

A47983

O-RING,2.38mm Thk x 18.82mm ID

- adjusting plug

1шт.

Part of Three Way Valve Repair Kit, P/N A47985

1шт.

58

A47961

SPRING

- solenoid

1шт.

59

A47960

WASHER

- solenoid core

1шт.

60

A47982

O-RING,0.489" ID x 0.629" OD

- solenoid core

1шт.

Part of Three Way Valve Repair Kit, P/N A47985

1шт.

A47985

SEAL

KIT - repair, threeway valve, Includes: ref. nos. 51, 52, 53, 57 and 60 on Figures 8-340 and 8-342)

1шт.

64

A47949

PLATE

- end, left

1шт.

65

A47952

PLATE

- end, right

1шт.

66

A47948

O-RING

- end, Serial Range: plate-valve

2шт.

Part of Repair Kit, P/N A47984

1шт.

67

A28090

O-RING,0.301" ID x 0.441" OD x 0.07"

-011, 70 Duro, .301" ID x .070" Thk - End plate to valve, 3/8 inch (10 mm) ID

2шт.

Part of Repair Kit, P/N A47984

1шт.

68

A47979

O-RING,0.07" Thk x 0.208" ID, -9, Cl 5, 75 Duro

- end plate to valve

2шт.

Part of Repair Kit, P/N A47984

1шт.

69

A47953

O-RING,0.364" ID x 0.504" OD

- end plate to valve, 1-1/8 inch (29 mm)

4шт.

70

A47956

BOLT

- end, Serial Range: plate-valve

4шт.

71

192-21

LOCK WASHER,3/8"

WASHER, LOCK, 3/8"

4шт.

72

A47947

COIL

ASSEMBLY - valve spool, Includes: Ref. 73

1шт.

73

129-13

NUT,#4-40

6шт.

74

A47955

WASHER

- coil

1шт.

75

A47950

NUT

- coil retaining

2шт.

77

113-417

BOLT,Hex, 1/2" - 13 x 1-1/4", Gr 5, Full Thd

3шт.

78

92-8

LOCK WASHER,1/2"

3шт.

A47984

SEAL

KIT - repair, between sections, Includes: ref. nos. 66, 67, 68

1шт.

Выбрано товаров: 37