Запчасти Case IH 4894 (2-46) - OIL PAN AND DIPSTICK 674 CUBIC INCH DIESEL ENGINE (02) - ENGINE

Схема запчастей Case IH 4894 - (2-46) - OIL PAN AND DIPSTICK 674 CUBIC INCH DIESEL ENGINE (02) - ENGINE
6
30
31
7
23
36
4
8
10
34
11
32
33
3
9
2
1
5
22
35
FIT
1:1
100%

Артикул

Название

Примечание

Количество

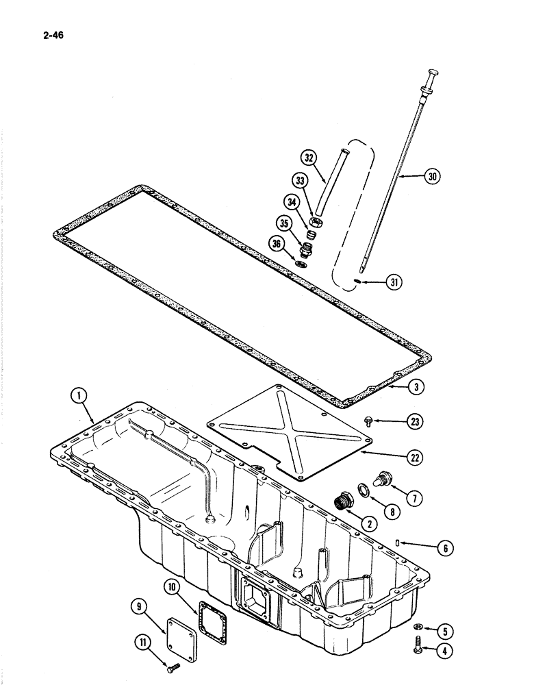
1

A46592

PAN

OIL PAN ASSEMBLY - engine, Includes: Ref. 2

1шт.

Ref #1 - Replaced by A49847 Pan & A49857 Baffle

1шт.

2

A45884

BUSHING

- reducer, drain plug

1шт.

3

A45860

GASKET

- oil, Serial Range: pan-block

1шт.

4

814-10040

BOLT,Hex, M10 x 1.5 x 40mm, Cl 8.8

- hex, M10 x 40 mm

34шт.

5

195-525

WASHER,3/8", SAE

- flat, 13/32 x 13/16 x 1/16 inch (10 x 21 x 2 mm)

34шт.

6

A45789

PIN

- guide, oil, Serial Range: pan-block

5шт.

7

A166208

PLUG

- drain, oil pan

1шт.

8

A45885

GASKET

- drain plug

1шт.

9

A46591

GASKET

COVER - pan

1шт.

10

A46593

GASKET

- cover

1шт.

11

A46594

BOLT

- front end cover, M8 x 30 mm

4шт.

Ref #11 - (Is a self tapping Screw)

1шт.

22

A46595

PLATE

- baffle, oil pan

1шт.

23

814-8016

BOLT,Hex, M8 x 1.25 x 16mm, Cl 8.8, Full Thd

SCREW - self tapping, M8 x 16 mm

6шт.

Ref #23A - A46700

1шт.

30

A46165

DIPSTICK

- oil level

1шт.

31

A46167

O-RING,9 mm ID x 15 mm OD

- dipstick seal

1шт.

32

A46618

TUBE

- dipstick guide

1шт.

33

A46620

TUBE NUT

- connector

1шт.

34

A46621

SLEEVE

FERRULE - tube

1шт.

35

A46619

FITTING

CONNECTOR - oil tube

1шт.

36

A46313

GASKET

- dipstick, Serial Range: tube-pan

1шт.

Выбрано товаров: 23