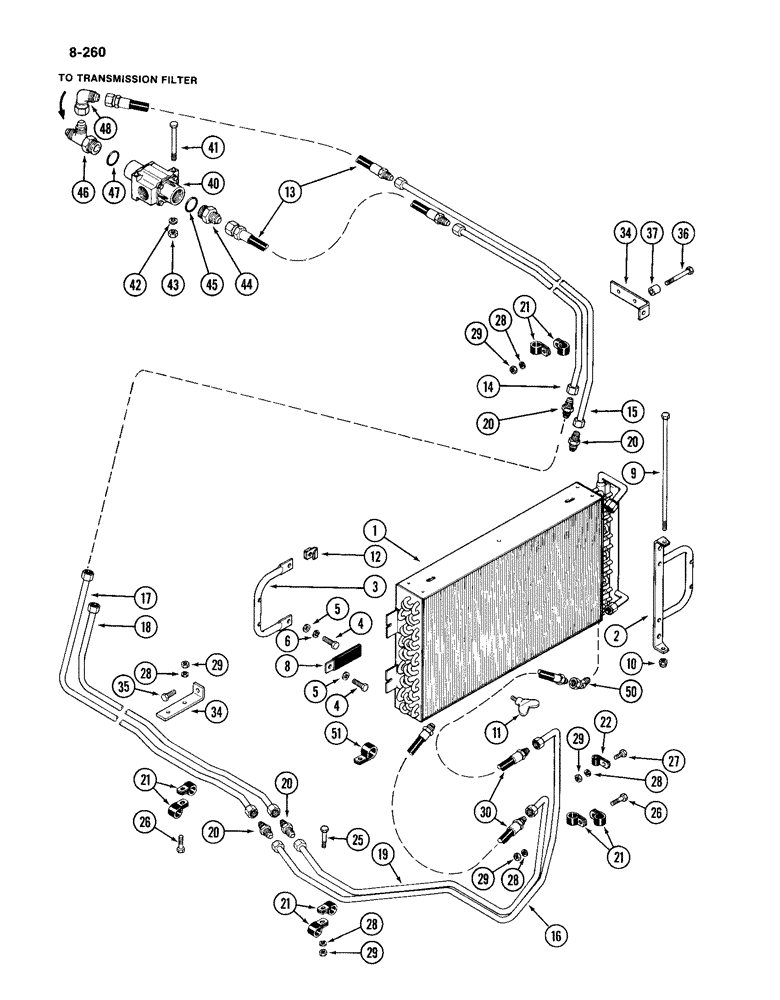
Запчасти Case IH 4994 (8-260) - TRANSMISSION HYDRAULIC CIRCUIT, OIL COOLER (08) - HYDRAULICS

Схема запчастей Case IH 4994 - (8-260) - TRANSMISSION HYDRAULIC CIRCUIT, OIL COOLER (08) - HYDRAULICS
29
5
45
42
48
25
29
13
40
20
21
1
28
34
29
9
44
41
3
27
21
30
36
17
2
47
51
5
28
19
20
28
11
26
28
16
20
28
28
4
21
12
4
50
18
8
34
22
14
35
20
37
21
10
15
46
6
29
43
29
FIT
1:1
100%

Артикул

Название

Примечание

Количество

1

A160190

COOLER

- oil

1шт.

2

A166906

PIVOT ASSY.

PIVOT - support

1шт.

3

A166904

TUBE

- support

1шт.

4

113-262

BOLT,Hex, 3/8" - 16 x 1-1/8", Gr 5, Full Thd

4шт.

5

195-525

WASHER,3/8", SAE

- flat, 13/32 x 13/16 x 1/19 inch (10 x 21 x 2 mm)

4шт.

6

192-21

LOCK WASHER,3/8"

WASHER, LOCK, 3/8"

3шт.

8

A149624

CLIP

- thumbscrew

2шт.

9

113-72

BOLT,Hex, 1/4" - 20 x 12-1/2", Gr 5

- hex, 1/4 NC x 12-3/4 inch

1шт.

10

131-1180

LOCK NUT,1/4"-20, GA

NUT, LOCK, 1/4"-20, GA

1шт.

11

A141485

THUMB SCREW,5/16" - 18 x 5/8"

- thumb, 5/16-18 x 5/8 inch

2шт.

12

131-616

NUT,Ret, J, 5/16"-18

- tinnerman, 5/16 inch (J Type)

2шт.

13

A167013

HOSE,12.70 mm ID x 533.00 mm, SAE 100R3

- Oil cooler 12.70 mm ID x 533.00 mm, SAE 100R3

2шт.

14

A176345

TUBE ASSY.

TUBE ASSEMBLY - pressure, upper

1шт.

15

A176346

TUBE ASSY.

TUBE ASSEMBLY - return, upper

1шт.

16

A167429

TUBE ASSY.

TUBE ASSEMBLY - pressure

1шт.

17

A176347

TUBE ASSY.

TUBE ASSEMBLY - pressure, lower

1шт.

18

A176348

TUBE ASSY.

TUBE ASSEMBLY - return, lower

1шт.

19

A167428

TUBE ASSY.

TUBE ASSEMBLY - return

1шт.

20

218-735

UNION,3/4"-16, 37 Degree x 3/4"-16, 37 Degree

CONNECTOR - straight, 1/2 tube 3/4-16 inch thread

4шт.

21

NLS

NO LONGER SERVICED

- tube

8шт.

22

515-22127

CLAMP,1/2", Insul, 5/16" Bolt

- tube

1шт.

25

113-121

BOLT,Hex, 5/16" - 18 x 2", Gr 5

1шт.

26

113-104

BOLT,Hex, 5/16" - 18 x 1-1/4", Gr 5

3шт.

27

113-102

BOLT,Hex, 5/16" - 18 x 3/4", Gr 5

Hex, 5/16"-18 x 3/4", G5, Full Thd

1шт.

28

192-20

LOCK WASHER,Helical Spring, 0.318" ID, CST, ZND

WASHER, LOCK, 5/16"

5шт.

29

9635082

NUT,5/16" - 18, Gr 5

7шт.

30

D70824

HOSE

ASSEMBLY - oil cooler

2шт.

34

A163968

BRACKET

- tube support

4шт.

35

187-1300

SELF-TAP SCREW,Hex, 3/8" - 18 x 1"

BOLT - hex taptite, 3/8 NC x 1 inch

2шт.

36

113-119

BOLT,Hex, 5/16" - 18 x 2-3/4", Gr 5

2шт.

37

A140434

BUSHING

SPACER - bracket

2шт.

40

A164010

VALVE

ASSEMBLY - bypass (See Figure 8-272)

1шт.

41

113-252

BOLT,Hex, 3/8" - 16 x 3-3/4", Gr 5

2шт.

42

192-21

LOCK WASHER,3/8"

WASHER, LOCK, 3/8"

2шт.

43

129-103

NUT,Hex, 3/8" - 16, Gr 5

NUT, 3/8"-16, G5

2шт.

44

218/5077

CONNECTOR ASSEMBLY - straight, 3/4 tube 1-1/16 inch thread x 1 tube 1-5/16 inch thread, Includes: Ref. 45

1шт.

45

218-5010

O-RING,0.116" Thk x 1.171" ID, -916, Cl 6, 90 Duro

- 1-11/64 x 1-13/32 x 7/94 inch (33 x 39 x 3 mm)

1шт.

46

218-5584

TEE,37 Degree, 1 5/16"-12, 1 5/16"-12 O-Ring Run, 1 1/16"-12

ASSEMBLY - 1 tube 1-5/16-12 thread x 3/4 tube 1-1/16-12 inch thread, Includes: Ref. 47

1шт.

47

218-5010

O-RING,0.116" Thk x 1.171" ID, -916, Cl 6, 90 Duro

- 1-11/64 x 1-13/32 x 7/64 inch (33 x 39 x 3 mm)

1шт.

48

218-5231

ELBOW,90 Degree, 1 1/16"-12, 37 Degree x 1 1/16"-12, 37 Degree Fem Sw

ASSEMBLY - 90 degree swivel, 3/4 tube 1-1/16-12 inch thread

1шт.

50

218-5173

ELBOW,45 Degree Elbow, 3/4" - 16 Male JIC x 3/4" - 16 Female JIC

ASSEMBLY - 90 degree swivel, 1/2 tube 3/4-16 thread

1шт.

51

R43738

CLAMP

- hose

1шт.

Выбрано товаров: 0