Запчасти Case IH 4994 (9-372) - REAR HOOD (09) - CHASSIS/ATTACHMENTS

Схема запчастей Case IH 4994 - (9-372) - REAR HOOD (09) - CHASSIS/ATTACHMENTS
26
8
4
16
16
18
24
3
9
26
25
5
15
27
17
19
6
7
2
20
10
7
6
1
14
25
FIT
1:1
100%

Артикул

Название

Примечание

Количество

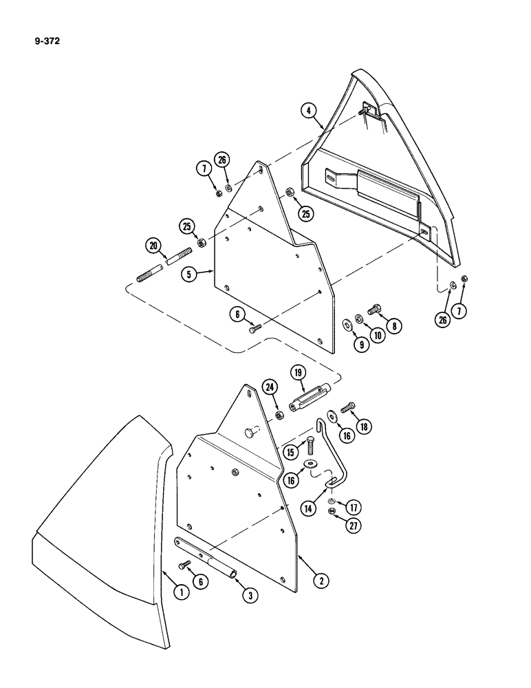
1

A166680

PANEL

ASSEMBLY - rear hood, RH (With decal) (White)

1шт.

1

A181509

PANEL

ASSEMBLY - rear hood, RH (With decal) (Red)

1шт.

2

A167080

MOUNTING PARTS

MOUNTING - rear hood, RH

1шт.

3

A166919

TUBE

- hood alignment

2шт.

4

A166677

PANEL

ASSEMBLY - rear hood, LH (With decal) (White)

1шт.

4

A181506

PANEL

ASSEMBLY - rear hood, LH (With decal) (Red)

1шт.

5

A167079

MOUNTING PARTS

MOUNTING - rear hood, LH

1шт.

6

113-103

BOLT,Hex, 5/16" - 18 x 1", Gr 5

8шт.

7

131-176

LOCK NUT,Prev Torque, Hex, 5/16" - 18, Gr A

NUT - hex lock, 5/16 inch NC

10шт.

8

113-424

BOLT,Hex, 1/2" - 13 x 1", Gr 5, Full Thd

4шт.

9

195-106

WASHER,1/2"

- flat, 9/16 x 1-3/8 x 7/64 inch (14 x 35 x 3 mm)

4шт.

10

192-23

LOCK WASHER,1/2"

WASHER, LOCK, 1/2"

4шт.

14

A165806

BRACE

- rear hood

2шт.

15

113-233

BOLT,Hex, 3/8" - 16 x 1-3/4", Gr 5

2шт.

16

195-2029

WASHER,7/16" x 1 1/4" x .134"

- flat, 7/16 x 1-1/14 x 5/32 inch (11 x 32 x 4 mm)

4шт.

17

192-21

LOCK WASHER,3/8"

WASHER, LOCK, 3/8"

4шт.

18

113-208

BOLT,Hex, 3/8" - 16 x 1-1/4", Gr 5

2шт.

19

F36877

TURNBUCKLE

TURN BUCKLE - adjustment rod

1шт.

20

A149856

ROD

- hood adjustment

1шт.

24

129-540

NUT,Jam, 1/2"-13, G5, LH

- hex jam, 1/2 inch NC (LH thread)

1шт.

25

129-105

NUT,Hex, 1/2" - 13, Gr 5

2шт.

26

195-521

WASHER,5/16", SAE

- flat, 11/32 x 11/16 x 1/16 (9 x 17 x 2 mm)

6шт.

27

129-103

NUT,Hex, 3/8" - 16, Gr 5

NUT, 3/8"-16, G5

4шт.

Выбрано товаров: 0