Запчасти Case IH 6388 (09-10) - FRAME, THREE POINT HITCH SPLIT COUPLER BALL (12) - FRAME

Схема запчастей Case IH 6388 - (09-10) - FRAME, THREE POINT HITCH SPLIT COUPLER BALL (12) - FRAME
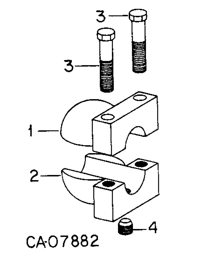
3
1
2
3
4
FIT
1:1
100%

Артикул

Название

Примечание

Количество

1252366C91

KIT

PARTS ACCESSORY, coupler ball half, Consists of

1шт.

1

1252305C1

BALL

coupler half

2шт.

2

1252306C1

BALL

coupler half

2шт.

3

9706702

BOLT,Hex, M12 x 1.75 x 50mm, Cl 8.8

M12 x 50MM class 8.8

4шт.

4

30384R1

SET SCREW,Hex Soc, M12 x 16, Cup Pt

SCREW, M12 x 16 c/pt pln hdl-hs set

2шт.

Выбрано товаров: 5