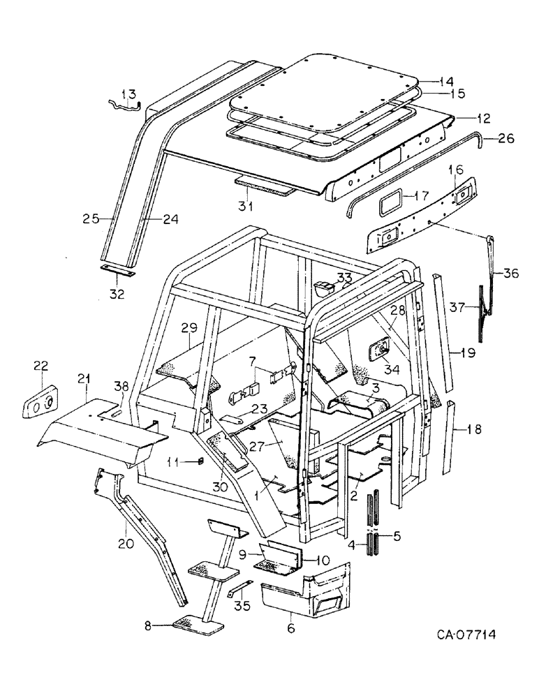
Запчасти Case IH 6388 (13-16) - SUPERSTRUCTURE, TRACTOR CAB AND CONNECTIONS (05) - SUPERSTRUCTURE

Схема запчастей Case IH 6388 - (13-16) - SUPERSTRUCTURE, TRACTOR CAB AND CONNECTIONS (05) - SUPERSTRUCTURE
34
15
33
27
11
23
31
22
30
25
24
35
10
12
6
28
8
9
13
3
21
5
37
7
32
29
20
2
36
14
1
19
18
4
17
38
26
16
FIT
1:1
100%

Артикул

Название

Примечание

Количество

1250523C92

CAB

ASSY, deluxe burgundy trim

1шт.

1250525C92

CAB

ASSY, deluxe western trim

1шт.

544678R1

NUT

10-24 U-shaped spring

6шт.

142093

HOLE PLUG BUTTON,1"

PLUG, 1.0 hole dia bld button

1шт.

117675C1

PLUG

1/2 inch Hole

4шт.

353-417

PLUG,Dome, 2.000" hole, Nylon

2.0 inch button

1шт.

118148C2

SELF-TAP SCREW,Hex, #10 x 3/8"

SCREW, hex-hd mach

6шт.

115109

WASHER,1/4"

1/4"

6шт.

17410R1

BOLT,Hex, 1/4" - 20 x 3/4", Gr 2

1/4 x 3/4 pln type 1

2шт.

445444

NUT,U, #10-16

10-12 phc U-spr stil II

4шт.

86625129

PLUG,Dome, 1" Hole, Nylon

2шт.

1

1255881C3

MAT

black vinyl

1шт.

1

1250639C3

MAT

black vinyl

1шт.

2

1255882C1

CARPET

LINER, floor mat

1шт.

3

1255825C3

MAT

CARPET, LH console, burgundy

1шт.

3

1255880C4

MAT

CARPET, LH console, western

1шт.

4

104754C1

CHANNEL

firewall seal

2шт.

5

104752C1

SEAL

firewall

2шт.

6

143172C3

PANEL

front lower LH

1шт.

6

143173C3

PANEL

front lower RH

1шт.

117987C1

SPRING NUT

10-16 U-shaped spring

2шт.

118071C2

SCREW,Phillips Drive, Truss HD, #8 - 18 x 1/2"

8-18 x 1/2 pan-hd tap

6шт.

143306C1

SELF-TAP SCREW,Cross Pan Hd, #10 x 1/2"

SCREW, 10 x 1/2 polyseal p/hdcr tap

2шт.

1267348C1

SHIM

light panel

1шт.

7

BELT, seat, See hyd seat attachment

1шт.

8

1262066C4

LADDER

ASSY, LH

1шт.

8

1262067C4

LADDER

ASSY, RH

1шт.

165420C1

BOLT,Hex Serr, 3/8"-16 x 1 1/4", Spcl

SCREW, 3/8-16 x 1-1/4 lock

4шт.

482256R1

BEARING LOCK NUT,Flg, USR, 3/8"-16

3/8 flange lock

10шт.

9

1250567C1

PANEL

inner step LH

1шт.

9

1250568C1

PANEL

inner step RH

1шт.

1276118C1

SELF-TAP SCREW,Cross Pan Hd, #8 x 3/4"

SCREW, SELF TAPPING, , Polyseal Cross Pan Hd, #8 x 3/4"

8шт.

10

111239C2

SEAL

inner step LH

1шт.

10

118038C2

SEAL

inner step RH

1шт.

11

109398C1

PLATE

lock striker tapping

2шт.

12

1262416C91

TOP

PACKAGE, fully trimmed roof assy, Consists of ref. nos. 13, 17, 24 & 32 plus

1шт.

PANEL ASSY, roof weld & caulk (NSS)

1шт.

445406

SPRING NUT,Tinn, 1/4"-14

14-10 r/p J-spr style I

14шт.

179093

HOLE PLUG BUTTON,9/32"

PHC 9/32"

1шт.

1276051C1

SELF-TAP SCREW,Cross Pan Hd, 1/4" x 1"

SCREW, 1/4 x 1 polyseal p/h cr tap

20шт.

118664

WASHER, .312 x .734 x .065 phc

12шт.

115109

WASHER,1/4"

1/4"

28шт.

406391C1

PLUG,1"

1.0 plastic hole

3шт.

111618C1

SCREW

14шт.

143309C1

SELF-TAP SCREW,Cross Pan Hd, #10 - 16 x 1/2"

SCREW, no. 10-16 x 1/2 polyseal c/r s/d tap

2шт.

167096

WASHER

SCREW, no. 10 x 1/2 crb p/hdcr tap

4шт.

172487

SCREW,Hex, 3/8" - 16 x 1"

3/8 x 1 h/hd tap

4шт.

120382

LOCK WASHER,Helical Spring, 3/8"

WASHER, LOCK, 3/8"

4шт.

1262166C1

STRIP

qtr panel chrome rear, trim

1шт.

109269C1

STRIP

roof eyebrow, trim

1шт.

109586C1

PAD

rear window hinge

1шт.

1276117C1

SELF-TAP SCREW,Cross Pan Hd, 1/4" x 3/4"

SCREW, 1/4 x 3/4 polyseal p/hdcr tap

8шт.

115109

WASHER,1/4"

1/4"

16шт.

109592C1

PAD

quarter window hinge

2шт.

118122C1

SEAL

quarter window hinge

2шт.

118144C1

SEAL

air intake rear long

2шт.

118145C1

SEAL

air intake rear short

2шт.

111662C2

EMBLEM CASE/IH

EMBLEM ASSY, IH trademark

2шт.

111690C1

FASTENER

push grip

4шт.

143306C1

SELF-TAP SCREW,Cross Pan Hd, #10 x 1/2"

SCREW, no. 10 x 1/2 polyseal tap

12шт.

INSTRUCTIONS (NSS)

1шт.

13

117727C2

ROD

filter retainer

3шт.

143309C1

SELF-TAP SCREW,Cross Pan Hd, #10 - 16 x 1/2"

SCREW, no. 10-16 x 1/2 polyseal c/r s/d tap

10шт.

14

143006C2

PANEL

roof access

1шт.

111618C1

SCREW

1/4-14 x 3/4 hex-hd tap

14шт.

15

109295C1

GASKET

roof access panel

1шт.

406391C1

PLUG,1"

1.0 inch hole

1шт.

16

109470C1

PANEL

front roof cap cover

1шт.

17

117732C2

GASKET

wiper opening

1шт.

143306C1

SELF-TAP SCREW,Cross Pan Hd, #10 x 1/2"

SCREW, 10-16 x 1/2 polyseal p/hdcr tap

12шт.

18

109485C1

PANEL

hinge pillar lower LH

1шт.

18

109486C1

PANEL

hinge pillar lower RH

1шт.

19

109489C1

PANEL

hinge pillar upper LH

1шт.

19

109490C1

PANEL ASSY.

PANEL, hinge pillar upper RH

1шт.

143309C1

SELF-TAP SCREW,Cross Pan Hd, #10 - 16 x 1/2"

SCREW, no. 10-16 x 1/2 polyseal tap

2шт.

261-1456

SELF-TAP SCREW,Cross Pan Hd, #10 x 3/8"

SCREW, no.. 10-16 x 1/2 polyseal tap

4шт.

20

111581C1

EXTENSION

ASSY, wheel well LH

1шт.

20

111582C1

EXTENSION

ASSY, wheel well RH

1шт.

938016R1

FLANGE NUT,Flg, USR, 1/4"-20

1/4 flange lock

14шт.

143309C1

SELF-TAP SCREW,Cross Pan Hd, #10 - 16 x 1/2"

SCREW, no. 10-16 x 1/2 polyseal c/r s/d tap

2шт.

120393

BEARING WASHER,5/16", SAE

WASHER, .344 x .688 x .051

14шт.

937059R1

SCREW,Serr, M10 x 70mm, Cl 10.9

1/4-20 x 1/2 slt-truss-hd

2шт.

21

109491C3

FENDER ASSY.

FENDER ASSY, LH

1шт.

21

109492C3

FENDER ASSY.

FENDER ASSY, RH

1шт.

143310C1

SELF-TAP SCREW,Cross Pan Hd, #10 - 24 x 1/2"

SCREW, no. 10 x 1/2 polyseal p/hdcr tap

4шт.

143309C1

SELF-TAP SCREW,Cross Pan Hd, #10 - 16 x 1/2"

SCREW, no. 10-16 x 1/2 polyseal c/r s/d tap

4шт.

120393

BEARING WASHER,5/16", SAE

WASHER, .344 x .688 x .051

4шт.

938017R1

FLANGE NUT,Flg, USR, 5/16"-18

5/16 flange lock

18шт.

180077

BOLT,Hex, 5/16" - 18 x 3/4", Gr 5

5/16 x 3/4 type 5

4шт.

492-11025

LOCK WASHER,1/4"

WASHER, LOCK, 1/4"

4шт.

120375

NUT,Hex, 1/4" - 20, Gr 5

4шт.

172487

SCREW,Hex, 3/8" - 16 x 1"

3/8 x 1 h/hd tap

4шт.

120382

LOCK WASHER,Helical Spring, 3/8"

WASHER, LOCK, 3/8"

4шт.

22

111562C2

PANEL

rear lamp LH

1шт.

22

111563C2

PANEL

rear lamp RH

1шт.

23

111346C1

PLATE

lock striker trim cover

1шт.

261-1456

SELF-TAP SCREW,Cross Pan Hd, #10 x 3/8"

SCREW, no. 10 x 3/8 polyseal p/hdcr tap

1шт.

24

109194C1

STRIP

qtr panel chrome front

1шт.

27904R1

SCREW,Cross Pan Hd, #10 x 1/2"

no. 10-16 x 1/2 crb c/r s/d tap

2шт.

25

1262166C1

STRIP

qtr panel chrome rear, Replaces 109193C1

1шт.

26

143294C1

SEALING STRIP

TRIM, roof eyebrow

1шт.

27

NOT USED THIS APPLICATION

1шт.

28

1267309C1

NOISE PROTECTION

SHEET, side panel insul, burgundy, Replaces 1255889C2 by also ordering (1) retainer, 1267292C1 and (5) screws, 456107C1

1шт.

28

1267310C1

NOISE PROTECTION

SHEET, side panel insul, western, Replaces 1255887C2 by also ordering (1) retainer, 1267292C1 and (5) screws, 456107C1

1шт.

29

143468C2

NOISE PROTECTION

SHEET, rear panel foam, burgundy

1шт.

29

1250442C2

SHEET

rear panel foam, western

1шт.

30

1255895C1

SHEET

insulation filler, burgundy

1шт.

30

1255896C1

NOISE PROTECTION

SHEET, insulation filler, western

1шт.

31

109290C6

NOISE PROTECTION

INSULATION, roof access cover

1шт.

32

111529C1

SEAL

, Serial Range: roof-fender

2шт.

33

111396C1

ASH TRAY

TRAY, ash

1шт.

34

66518C1

MIRROR

rear view

1шт.

120376

NUT,5/16"-18, G5

1шт.

623083R1

WASHER

5/16 cad lhtw lock

1шт.

35

NOT USED THIS APPLICATION

1шт.

36

1255815C1

ARM

ASSY, windshield wiper

1шт.

37

109225C1

WINDSHIELD WIPER

BLADE ASSY, flex windshield wiper

1шт.

38

SEAL, edge, Use 3 in. from bulk roll marked 198578C1

2шт.

534441R1

FLUID

ADHESIVE, misc trim & seal repair

1шт.

68554C1

PRODUCT GRAPHIC

rops model no.

1шт.

142862

SCREW,Type U Metallic, Rnd Hd, #4 x 1/4"

no. 4 x 1/4 r/hd drive

2шт.

111480C3

DECAL

PRODUCT GRAPHIC, cab safety caution

1шт.

70571C1

DECAL

PRODUCT GRAPHIC, rops caution instr.

1шт.

Выбрано товаров: 123