Запчасти Case IH 6588 (10-10) - HYDRAULICS, OIL COOLER CONNECTIONS (07) - HYDRAULICS

Схема запчастей Case IH 6588 - (10-10) - HYDRAULICS, OIL COOLER CONNECTIONS (07) - HYDRAULICS
8
4
19
16
10
9
7
12
15
5
7
6
2
19
17
13
20
3
18
13
11
14
8
FIT
1:1
100%

Артикул

Название

Примечание

Количество

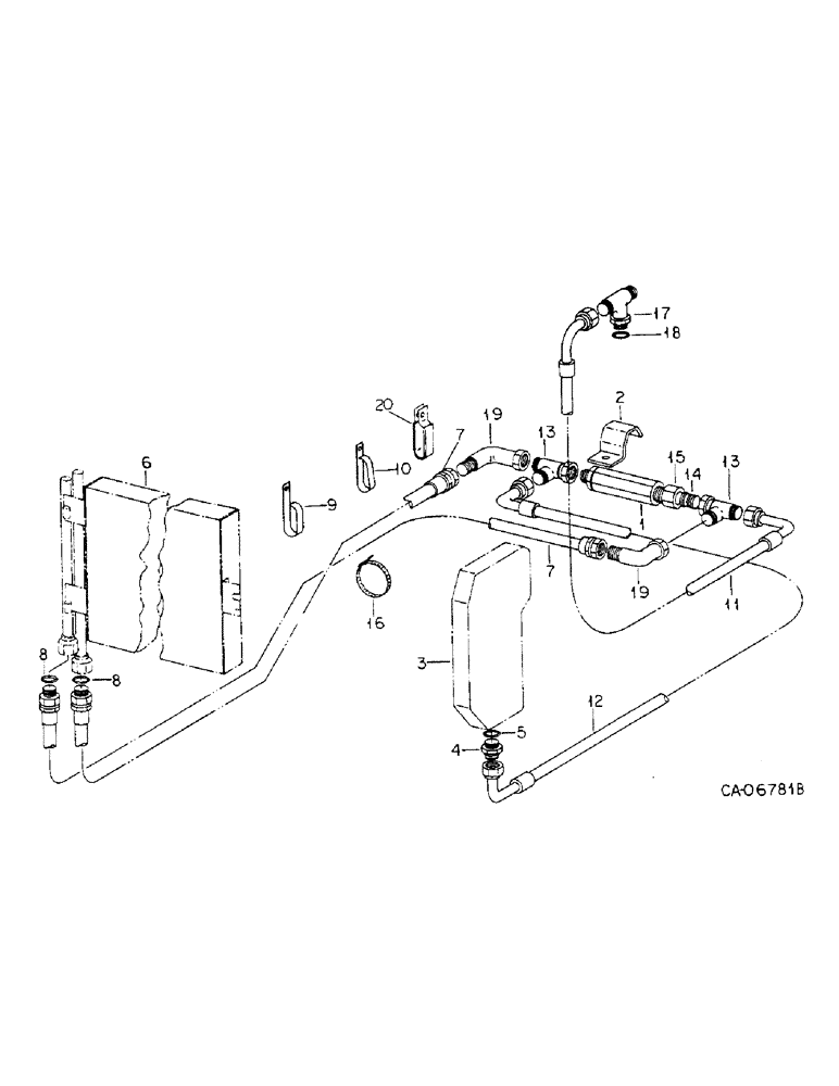
1

110578C91

VALVE

ASSY, oil cooler by-pass, Refer to oil cooler by-pass valve this group for list of components

1шт.

2

116687C1

BRACKET

by-pass valve

1шт.

179885

BOLT,Hex, 1/2" - 13 x 1 1/2", Gr 5

1шт.

9413956

LOCK NUT,1/2"-13, GB

NUT, 1/2 phc p/t lock type 5

1шт.

3

VALVE ASSY, multiple control, Refer to multiple control valve this group for list of components

1шт.

4

9410204

HYD CONNECTOR,7/8"-14, 37 Degree x 7/8"-14, O-Ring

CONNECTOR, 7/8-14 short swivel, MCV

1шт.

5

364885R1

O-RING,0.097" Thk x 0.755" ID, -910, Cl 6, 90 Duro

5/8 tube

1шт.

6

OIL COOLER, Refer to group 6 for oil cooler & mounting

1шт.

7

146849C1

HOSE,19.05mm ID x 6172mm L, SAE 100R1

ASSY, oil cooler

2шт.

8

368269R1

O-RING,0.116" Thk x 0.924" ID, -912, Cl 6, 90 Duro

3/4 tube

2шт.

9

141871C2

CLAMP

CLIP, oil cooler hose rear

2шт.

10

141871C2

CLAMP

CLIP, oil cooler hose rear

2шт.

11

142057C2

HOSE,19.05mm ID x 756mm L, SAE 100R1

ASSY, relief, Serial Range: valve-by-pass

1шт.

12

142056C1

HOSE

ASSY, Serial Range: by-pass-MCV

1шт.

13

9410335

TEE,37 Degree, 1 1/16"-12 x 1 1/16"-12, Fem Sw Run

by-pass valve

2шт.

14

9403406

REDUCER,37 Degree, 1" x 3/4" Tube

by-pass valve

1шт.

15

9403532

TUBE NUT,37 Degree, 1 5/16"-12, Type B

NUT, 1 C-Z hyd fld tube style B

1шт.

16

306132C1

CABLE TIE,14.5" L

STRAP, tie-wrap

1шт.

17

9411119

TEE,7/8"-14, 37 Degree x 7/8"-14, O-Ring Br

7/8-14 rel block return

1шт.

18

364885R1

O-RING,0.097" Thk x 0.755" ID, -910, Cl 6, 90 Duro

5/8 tube

1шт.

19

9410283

ELBOW,90 Degree, 1 1/16"-12, 37 Degree x 1 1/16"-12, 37 Degree Fem Sw

3/4 C-Z hyd fld 90D swivel

2шт.

20

224971C1

CLAMP

CLIP, oil cooler hose firewall

1шт.

Выбрано товаров: 22