Запчасти Case IH 6588 (07-32) - DRIVE TRAIN, GEAR SHIFT MECHANISM, SPEED TRANSMISSION, 6388 AND 6588 TRACTORS (04) - Drive Train

Схема запчастей Case IH 6588 - (07-32) - DRIVE TRAIN, GEAR SHIFT MECHANISM, SPEED TRANSMISSION, 6388 AND 6588 TRACTORS (04) - Drive Train
13
17
9
10
2
18
4
7
18
11
5
14
12
16
16
6
10
15
3
8
17
14
10
1
FIT
1:1
100%

Артикул

Название

Примечание

Количество

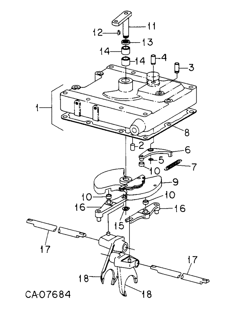
1

130540C91

COVER

ASSY, clutch housing, Consists of

1шт.

COVER (NSS)

1шт.

382563R1

PIN

1шт.

382564R1

PIN

1шт.

19962R1

DOWEL,3/8" x 3/4"

PIN

1шт.

26309R1

BOLT,Hex, 3/8" - 16 x 3/4", Gr 8

3/8 x 3/4 phc p/t type 8

1шт.

179850

BOLT,Hex, 3/8" - 16 x 2 3/4", Gr 5

3/8 x 2-3/4 pln type 5

9шт.

95-11041

WASHER,3/8"

(.406 x .812 x .051 pln) 3/8"

8шт.

2

19962R1

DOWEL,3/8" x 3/4"

PIN, 3/8 x 3/4 dowel

2шт.

3

382563R1

PIN

spring anchor

1шт.

4

382564R1

PIN

pivot

1шт.

11002VA

WASHER

.531 x .875 x .054 pln

1шт.

5

370290R1

SNAP RING,#50, .392" Dia, E-Type

Ring, Retaining, , shifter control arm pivot pin #50, .392" Dia, E-Type

1шт.

6

382565R21

ARM ASSY.

ARM ASSY, shifter control

1шт.

7

383997R1

SPRING

shifter control arm

1шт.

8

380112R1

GASKET

clutch housing cover

1шт.

9

380114R22

CAM

ASSY, clutch housing shift

1шт.

10

380115R2

ROLLER

cam

3шт.

11

130700C1

LEVER

ASSY, trans cam pivot

1шт.

615168R1

WASHER

.781 x 1.500 x .105 pln

1шт.

12

124549

WOODRUFF KEY,#9, 3/16" x 3/4", HT

Cam pivot shaft #9, 3/16" x 3/4", HT

1шт.

13

65457C1

SEAL,19.04mm ID x 25.5mm OD x 3.17mm Thk

oil

1шт.

14

359955R91

BEARING, NEEDLE,Needle, 19.04mm ID x 25.4mm OD x 15.76mm W

BEARING ASSY, needle

2шт.

15

603570R1

SNAP RING,#75, .574" Dia, E-Type

Ring, Retaining, , cam pivot shaft #75, .574" Dia, E-Type

1шт.

16

380120R12

ARM

ASSY, shift fork

2шт.

17

380122R1

RAIL

shift

2шт.

156454

SCREW,Cross Flat Hd, 5/16" - 18 x 7/8"

5/16 x 7/8 pln f/hdcr mach

4шт.

18

380123R21

FORK

ASSY, shift

2шт.

Выбрано товаров: 28