Запчасти Case IH 6788 (10-16) - HYDRAULICS, MULTIPLE CONTROL VALVE, TRACTORS WITH TORQUE AMPLIFIER (07) - HYDRAULICS

Схема запчастей Case IH 6788 - (10-16) - HYDRAULICS, MULTIPLE CONTROL VALVE, TRACTORS WITH TORQUE AMPLIFIER (07) - HYDRAULICS
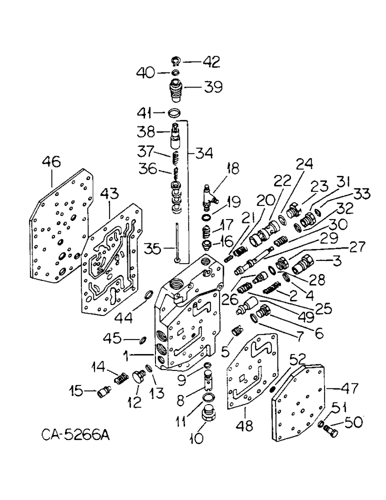
1
37
7
19
48
40
25
8
21
45
27
41
14
15
52
24
10
17
29
13
22
23
9
30
34
46
5
35
18
36
50
42
4
39
38
28
47
32
16
33
49
12
20
3
44
11
2
43
31
51
26
6
FIT
1:1
100%

Артикул

Название

Примечание

Количество

1263289C92

PACKAGE

VALVE ASSY, multiple control, See breakdown at end of this list

1шт.

1

BODY ASSY, multiple control valve, Not serviced separately, Order service package, 1263289C92

1шт.

2

379211R1

SPRING

flow control valve

1шт.

3

382297R1

PLUG

flow control valve

1шт.

4

364885R1

O-RING,0.097" Thk x 0.755" ID, -910, Cl 6, 90 Duro

5/8 OD tube, flow control valve plug

1шт.

5

63723C1

VENT

flow control, orifice

1шт.

6

9410357

PLUG

1/2-20 znd str-thd o-ring boss, flow control orifice port

1шт.

8

NOT USED THIS APPLICATION

1шт.

9

NOT USED THIS APPLICATION

1шт.

10

536855R1

PLUG

3/4-16 znd str-thd o-ring boss, safety valve

1шт.

11

570828R1

O-RING,0.087" Thk x 0.644" ID, -908, Cl 6, 90 Duro

1/2 OD tube, safety valve plug

1шт.

12

9410355

PLUG,Hex Hd, 3/8"-24 ORB

3/8-24 znd str-thd o-ring boss, power steering input port

1шт.

13

379795R1

O-RING,0.064" Thk x 0.301" ID, -903, Cl 6, 90 Duro

3-1, .301" ID x .064" Thk, 3/16 OD tube, Power steering input port plug

1шт.

14

123357C1

SPRING

oil cooler by-pass valve

1шт.

15

123356C1

VALVE

by-pass

1шт.

103697

PIN,1/8" x 1 3/8"

1/8 x 1-3/8 pln chamf str, by-pass valve retaining

1шт.

16

382304R1

CHECK VALVE

VALVE, brake check

1шт.

17

113936C1

SPRING

brake check valve, 6388 & 6588

1шт.

17

133545C1

SPRING

brake check valve, 6788

1шт.

18

123051C1

TEE

ASSY, hyd tube, 6388 & 6588

1шт.

18

9410228

HYD CONNECTOR,9/16"-18, 37 Degree x 9/16"-18, Pipe

CONNECTOR, 3/8 C-Z, 6788

1шт.

9403371

CAP,37 Degree, 9/16"-18

3/8 OD tube, 6788

1шт.

19

364839R1

O-RING,0.078" Thk x 0.468" ID, -906, Cl 6, 90 Duro

6-1, 90 Duro, .468" ID x .078" Thk, 3/8 OD tube, regulator pressure port

1шт.

20

382306R1

SPRING

pressure regulator valve outer

1шт.

21

390819R1

VALVE SPRING

SPRING, pressure regulator valve inner, 6388 & 658

1шт.

21

59752C1

SPRING

pressure regulator valve inner, 6788

1шт.

22

382307R11

VALVE

ASSY, pressure regulator

1шт.

23

536855R1

PLUG

3/4-16 znd str-thd o-ring boss, pressure regulator valve

1шт.

24

570828R1

O-RING,0.087" Thk x 0.644" ID, -908, Cl 6, 90 Duro

1/2 OD tube, pressure regulator valve plug

1шт.

25

382312R1

SPRING

lube regulator

1шт.

26

382301R1

LOCK VALVE

VALVE

1шт.

103697

PIN,1/8" x 1 3/8"

1/2 x 1-3/8 pln chamf str

1шт.

27

384403R1

PLUG

lube regulator by-pass valve

1шт.

28

570828R1

O-RING,0.087" Thk x 0.644" ID, -908, Cl 6, 90 Duro

1/2 OD tube, lube regulator by-pass valve plug

1шт.

29

391942R2

VALVE

clutch dump

1шт.

30

382310R1

SPRING

dump valve

1шт.

31

387934R2

PLUG

dump valve

1шт.

32

570828R1

O-RING,0.087" Thk x 0.644" ID, -908, Cl 6, 90 Duro

1/2 OD tube, dump valve plug

1шт.

33

529883R91

OIL SEAL

clutch dump valve plug

1шт.

34

382313R94

VALVE

ASSY, drive selector, 6388 & 6588

1шт.

34

59753C92

VALVE

ASSY, drive selector, 6788

1шт.

35

382315R2

GUIDE

drive selector

1шт.

36

382317R1

SPRING

selector valve inner, 6388 & 6588

1шт.

36

59755C1

SPRING

valve inner, 6788

1шт.

37

404290R1

SPRING

selector valve outer, 6388 & 6588

1шт.

37

59754C1

SPRING

valve outer, 6788

1шт.

38

382319R2

PIN,20.32mm OD x 93.98mm L

1шт.

20347R1

PIN,5/64" x 3/4", Coiled

1шт.

39

382321R2

SCREW,1 3/16" - 18 x 1.60"

drive selector valve retaining

1шт.

40

350429R1

O-RING,0.103" Thk x 0.612" ID, -114, Cl 5, 75 Duro

5/8 x 13/16 x 3/32, drive selector valve stem

1шт.

41

372821R1

O-RING,0.103" Thk x 1.049" ID, -121, Cl 5, 75 Duro

11/16 x 1-1/4 x 3/32, valve retaining screw

1шт.

42

382627R1

SNAP RING,#59, Ext

Ring, Snap, , drive selector valve #59, Ext

1шт.

43

382323R3

GASKET

multiple control valve inner

1шт.

44

20947R1

O-RING,0.103" Thk x 0.799" ID, -117, Cl 6, 90 Duro

13/16 x 1 x 3/32

1шт.

45

470585R1

O-RING,0.103" Thk x 0.487" ID, -112, Cl 6, 90 Duro

1/2 x 11/16 class 6, power steering input port

1шт.

46

133426C1

PLATE

multiple control valve inner

1шт.

47

1263290C1

COVER

multiple control valve outer

1шт.

179816

BOLT,Hex, 5/16" - 18 x 3/4", Gr 5

3шт.

48

382326R4

GASKET

multiple control valve cover

1шт.

49

VALVE, flow control, Not serviced separately, Order service package, 1263289C92

1шт.

50

25828R1

BOLT,Hex, 9/16" - 18 x 1", Gr 8

9/16-NF x 1 phc type 8

1шт.

51

138260C1

SEAL

Dyna

1шт.

52

392385R1

O-RING,0.07" Thk x 0.614" ID, -16, Cl 6, 90 Duro

-016, 90 Duro, .614" ID x .070" Thk

1шт.

1263289C92

PACKAGE

multiple control valve service, Consists of ref. nos. 1 thru 52 and service parts not applicable to this tractor

1шт.

364885R1

O-RING,0.097" Thk x 0.755" ID, -910, Cl 6, 90 Duro

1шт.

9410360

PLUG

1шт.

113935C1

ELBOW

1шт.

384444R92

VALVE

1шт.

113937C1

SPRING

1шт.

9410228

HYD CONNECTOR,9/16"-18, 37 Degree x 9/16"-18, Pipe

CONNECTOR

1шт.

59752C1

SPRING

1шт.

9403371

CAP,37 Degree, 9/16"-18

1шт.

382298R1

JET

VENT

1шт.

390820R1

VALVE SPRING

SPRING

1шт.

384443R92

VALVE

1шт.

1113938C1

SPRING

1шт.

INSTRUCTIONS (NSS)

1шт.

7

369384R1

O-RING,0.072" Thk x 0.414" ID, -905, Cl 6, 90 Duro

5-1, 90 Duro, .414" ID x .072" Thk, 5/16 OD tube, Flow control orifice port plug

1шт.

Выбрано товаров: 78