Запчасти Case IH 6788 (10-31) - HYDRAULICS, THIRD AUXILIARY VALVE CONTROLS (07) - HYDRAULICS

Схема запчастей Case IH 6788 - (10-31) - HYDRAULICS, THIRD AUXILIARY VALVE CONTROLS (07) - HYDRAULICS
8
16
12
21
16
21
13
5
20
19
1
15
6
7
3
4
9
2
2
18
11
17
23
6
14
22
17
5
10
FIT
1:1
100%

Артикул

Название

Примечание

Количество

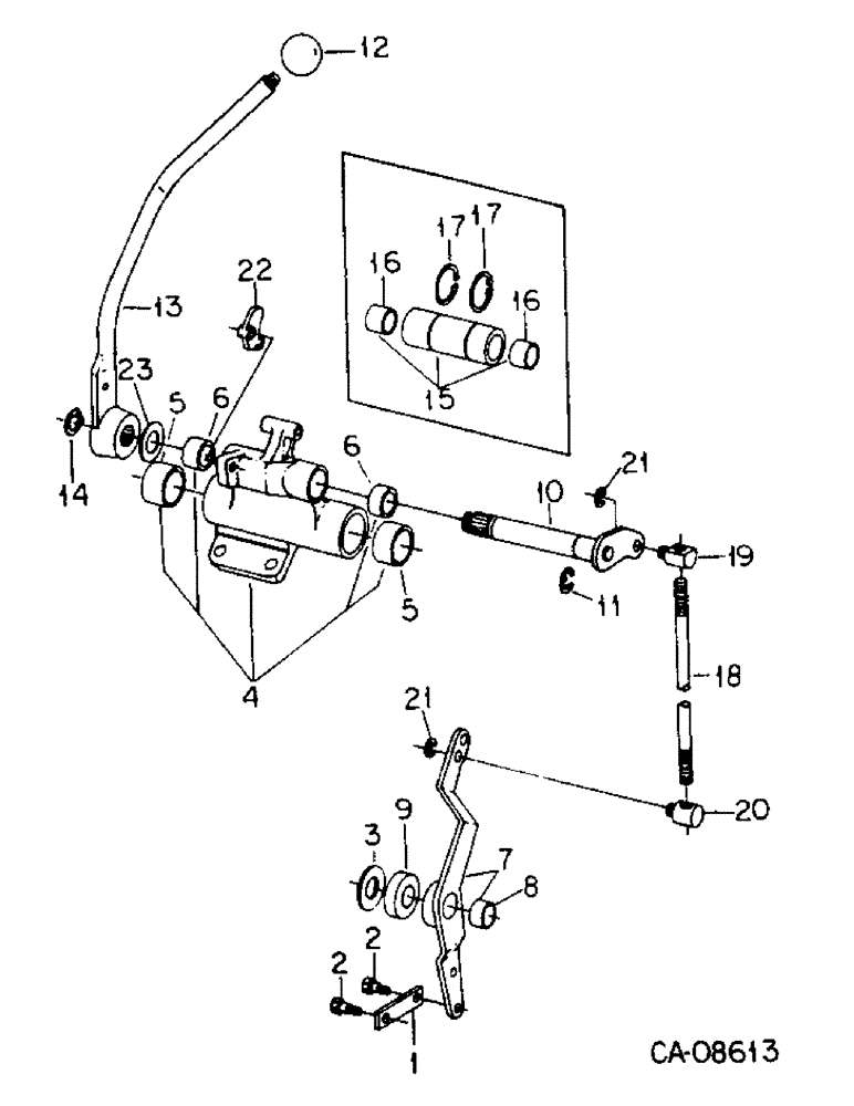
1

130690C1

LINK

aux valve operating

1шт.

2

400862R1

BOLT,Hex, 5/16" - 18 x 0.85"

shoulder

2шт.

390304C1

WASHER

.344 x .688 x .065 hdn

2шт.

9413952

LOCK NUT,5/16"-18, GB

NUT, 5/16 phc p/t lock type 5

2шт.

3

16066R1

WASHER

.781 x 1.500 x .054 pln

1шт.

4

148539C91

SUPPORT

ASSY W/BUSHINGS, valve lever

1шт.

5

149097C1

BUSHING

2шт.

6

149101C1

BUSHING

2шт.

7

1251559C91

LEVER

ASSY, 3rd aux valve

1шт.

8

120464C1

BUSHING,19.07mm ID x 20.68mm OD x 13.21mm L

2шт.

9

143998C1

SPACER

aux valve handle hub

1шт.

10

1251545C2

SHAFT

ASSY, 3rd aux valve, inner

1шт.

11

603570R1

SNAP RING,#75, .574" Dia, E-Type

Ring, Retaining, #75, .574" Dia, E-Type

1шт.

12

1259762C1

KNOB

3rd aux valve handle, blue, For flat handle

1шт.

12

1280098C1

KNOB

3rd aux valve handle, blue, For round handle

1шт.

13

1280019C1

HANDLE

ASSY, 3rd valve, or

1шт.

13

1280080C2

HANDLE

ASSY, 3rd valve, Replaces 1259887C2 and 1251549C4

1шт.

14

384098R1

SNAP RING,#62, Ext

Ring, Snap, #62, Ext

1шт.

15

130689C91

SHAFT

ASSY, 3rd aux valve spacer, Not required if support assy ref. no. 4, 148539C91 is on tractors, Includes ref. no. 16

1шт.

16

149101C1

BUSHING

2шт.

17

866189R1

SNAP RING,#125, Ext

Ring, Snap, #125, Ext

1шт.

18

1259534C1

ROD

3rd & 4th aux valve control

1шт.

30168R1

NUT,M10, Cl 10

M10 phc class 10

1шт.

19

1251968C2

PIN

TURNBUCKLE, upper control

1шт.

20

1251970C2

PIN

TURNBUCKLE, lower control

1шт.

21

896045R1

SNAP RING,#37, Ext

2шт.

22

1259816C1

LEVER

flow lockout

1шт.

23

1251551C1

WASHER

1шт.

12828242C91

PARTS ACCESSORY, third auxiliary valve w/ISO coupler, Consists of ref. nos. 1, 2, 3, 5, 7, 8, 10, 11, 12, 13, 14, 15, 16, 17, 18, 19, 20, 21, 22, 23 plus

1шт.

113888C93

VALVE

ASSY, close center aux control

1шт.

391912R1

O-RING,0.737" ID x 0.103" Width

3/4 x 15/16 class 6

4шт.

702788R1

O-RING,0.103" Thk x 0.362" ID, -110, Cl 6, 90 Duro

3/8 x 9/16 class 6

2шт.

20058R1

BOLT,Hex, 3/8" - 16 x 7", Gr 8

3/8 x 7 pln type 8

4шт.

20018R1

BOLT

7/16 x 3-1/4 pln type 8

1шт.

139214C1

SECTOR

flow control oper, blue

1шт.

139027C2

CABLE

ASSY, flow control oper

1шт.

120394

WASHER,3/8", SAE

WASHER, .406 x .812 x .051

1шт.

22844R1

SELF-TAP SCREW,Hex Hd, #10 x 1/2"

SCREW, SELF TAPPING, Hex Hd, #10 x 1/2"

1шт.

120391

WASHER,#10

.219 x .500 x .036

1шт.

544678R1

NUT

U-type speed

1шт.

159947

HYD CONNECTOR

no. 10 x 3/4 znp p/hdcr mach

1шт.

139150C1

BRACKET

ASSY, 3rd aux cable lower

1шт.

179791

BOLT,Hex, 1/4" - 20 x 1/2", Gr 5

1шт.

139029C2

CLIP

flow control cable

1шт.

159920

SCREW,Cross Pan Hd, #10 - 24 x 1/2"

1шт.

139030C1

LEVER

ASSY, flow control valve

1шт.

18607R1

LOCK PIN,1/8" x 3/4", Slotted

PIN, 1/8" x 3/4", Slotted

1шт.

120394

WASHER,3/8", SAE

WASHER, .406 x .812 x .051

2шт.

103373

COTTER PIN,3/32" x 3/4"

Pin, Split (Cotter), 3/32" x 3/4"

1шт.

133430C1

HYD TUBE

TUBE ASSY, 3rd valve raise, cat II

1шт.

127968C1

TUBE

ASSY, 3rd valve raise, cat III

1шт.

127969C1

HYD TUBE

TUBE ASSY, 3rd valve drop

1шт.

104795C1

CLAMP

aux valve tubes

2шт.

104797C1

PLATE

isomount aux valve tubes

1шт.

104798C1

STRIP

isomount aux valve tubes

1шт.

180137

BOLT,Hex, 3/8" - 16 x 2 3/4", Gr 5

3/8 x 2-3/4 type 5

1шт.

9413953

LOCK NUT,3/8"-16, GB

NUT, 3/8 phc p/t lock type 5

1шт.

120012C1

SUPPORT

BAR, coupler mtg

1шт.

180175

BOLT,Hex, 1/2" - 13 x 1 1/4", Gr 5

1/2 x 1-1/4 type 5

2шт.

1272192C91

COUPLING

COUPLER ASSY, female, ISO

1шт.

1272196C1

CAP

coupler dust

2шт.

1272197C1

RING, SNAP

RING, retaining

2шт.

1272765C1

FITTING,1/8" - 27 NPT

coupler drain

1шт.

1272764C1

SEAL

SEAL, coupler drain

1шт.

INSTRUCTIONS, installing (NSS)

1шт.

Выбрано товаров: 65