Запчасти Case IH 6788 (10-42) - HYDRAULICS, HYDRAULIC SEAT ATTACHMENT CONNECTIONS (07) - HYDRAULICS

Схема запчастей Case IH 6788 - (10-42) - HYDRAULICS, HYDRAULIC SEAT ATTACHMENT CONNECTIONS (07) - HYDRAULICS
27
9
6
20
19
22
21
11
26
14
4
3
7
24
26
12
16
8
23
17
15
12
18
5
10
19
25
11
13
2
1
FIT
1:1
100%

Артикул

Название

Примечание

Количество

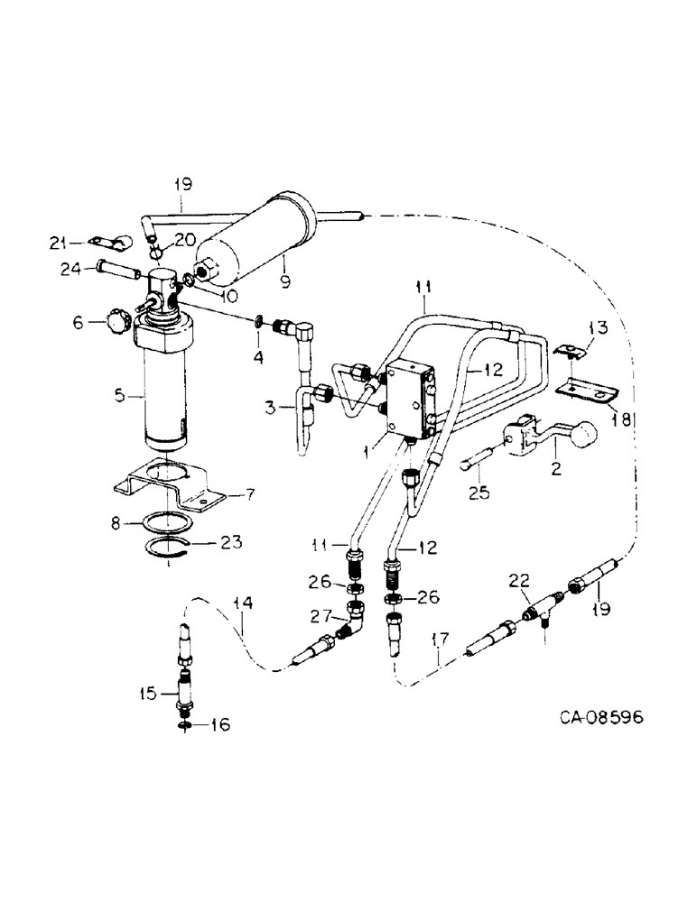
1

399088R92

VALVE

ASSY, hydraulic seat control, Refer to hydraulic seat valve this group for list of components

1шт.

27480R1

CARRIAGE BOLT,5/16" x 2", Gr 5

BOLT, 5/16 x 2 pln crg type 1

2шт.

7770

NUT,Hex, 1/4 - 20, Cl 5

5/16-18 hex

2шт.

2

539584R2

LEVER

seat control valve

1шт.

3

148656C2

HYD TUBE

TUBE ASSY, Serial Range: valve-cylinder

1шт.

4

364839R1

O-RING,0.078" Thk x 0.468" ID, -906, Cl 6, 90 Duro

6-1, 90 Duro, .468" ID x .078" Thk, 15/32 OD tube

1шт.

5

149674C94

CYLINDER

ASSY, RAM hydraulic, Refer to hydraulic cylinder this group for list of components

1шт.

6

399094R1

KNOB

seat ride control

1шт.

7

104227C2

BRACKET

seat cylinder mounting

1шт.

931829R1

BOLT,Hex, M8 x 1.25 x 12mm, Cl 8.8, Full Thd

2шт.

8

633090R1

WASHER

2.28 x 2.78 x .060 flat

1шт.

9

1272647C1

ACCUMULATOR

ABSORBER, hydraulic accumulator, Replaces 399100R2

1шт.

10

570828R1

O-RING,0.087" Thk x 0.644" ID, -908, Cl 6, 90 Duro

.644 x .087 thick

1шт.

11

148657C2

HOSE

ASSY, hydraulic seat pressure

1шт.

12

148658C2

HOSE

ASSY, hydraulic seat dump

1шт.

13

384891R11

CLAMP

ASSY, hydraulic seat tubes

1шт.

95-11028

WASHER,1/4"

.281 x .625 x .051 pln

1шт.

86505867

BOLT,Hex, 1/4" - 20 x 1", Gr 5

1шт.

14

120400C1

HOSE

ASSY, lower hyd seat pressure

1шт.

15

9410228

HYD CONNECTOR,9/16"-18, 37 Degree x 9/16"-18, Pipe

CONNECTOR, 3/8 tube long 37 deg

1шт.

16

364839R1

O-RING,0.078" Thk x 0.468" ID, -906, Cl 6, 90 Duro

6-1, 90 Duro, .468" ID x .078" Thk

1шт.

17

104477C1

HOSE

ASSY, lower hyd seat dump

1шт.

18

104226C1

ANGLE,4.5" Length

tube support

1шт.

180174

BOLT,Hex, 1/2" - 13 x 1 1/8", Gr 5

1/2 x 1-1/8 type 5

1шт.

120384

WASHER,1/2"

LOCK, 1/2"

2шт.

19

1266779C1

HOSE

cylinder drain

1шт.

20

210511R1

HOSE CLAMP,#8, 1/2", Spring

CLAMP, no. 8 type E spring wire hose

1шт.

21

400505R1

CLAMP

CLIP, cyl drain hose

1шт.

22

1266780C1

TEE

hyd 37 deg flared tube

1шт.

23

644771R1

SNAP RING,#225, Ext

RING, 2.081 ext ret

1шт.

24

90560H

CLEVIS PIN,1/2" x 2.766"

PIN, 1/2 x 2.766 pln clevis

1шт.

103385

COTTER PIN,1/8" x 1"

PIN, SPLIT (COTTER), 1/8" x 1"

1шт.

25

52893H

CLEVIS PIN,3/8" x 1.781"

PIN, 3/8 x 1.781 pln clevis

1шт.

95-11041

WASHER,3/8"

(.406 x .812 x .051 pln) 3/8"

1шт.

103373

COTTER PIN,3/32" x 3/4"

Pin, Split (Cotter), 3/32" x 3/4"

1шт.

26

9403293

LOCK NUT,Blkhd, 9/16"-18

NUT, 3/8 C-Z bulkhead union lock

2шт.

27

9410254

ELBOW,45 Degree, 9/16"-18, 37 Degree x 9/16"-18, 37 Degree Fem Sw

3/8 C-Z hyd fld 45D swivel

1шт.

Выбрано товаров: 37