Запчасти Case IH 6788 (12-07) - POWER, AUXILIARY FUEL TANK ATTACHMENT Power

Схема запчастей Case IH 6788 - (12-07) - POWER, AUXILIARY FUEL TANK ATTACHMENT Power
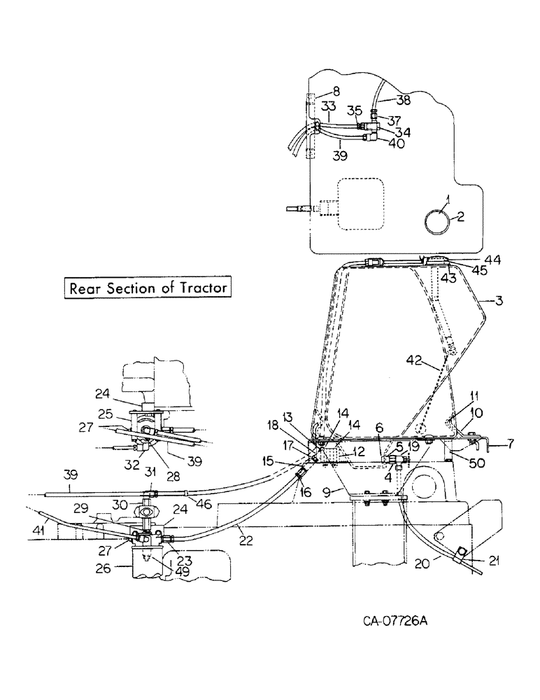
44
33
43
39
14
27
26
39
2
8
4
5
30
32
18
27
24
42
17
11
28
31
20
1
13
9
40
37
29
41
45
12
7
19
22
10
24
15
16
50
23
49
39
21
46
25
35
14
6
3
38
34
FIT
1:1
100%

Артикул

Название

Примечание

Количество

1

104781C1

CAP

fuel tank filler

1шт.

2

23977DD

GASKET,47.5mm ID x 65.89mm OD x 2.39mm Thk

fuel tank filler cap

1шт.

3

130449C91

TANK

ASSY, fuel, Includes ref. no. 4, 5 & 6

1шт.

4

120156C1

NUT

fuel tank, well

1шт.

5

536652R1

WASHER,11.13mm ID x 28.57mm OD x 1.22mm Thk

1шт.

6

120157C1

CONNECTOR, ELEC

CONNECTOR, fuel tank, stud

1шт.

7

130226C2

SUPPORT

ASSY, fuel tank

1шт.

179837

BOLT,Hex, 3/8" - 16 x 3/4", Gr 5

1шт.

619008R1

BOLT

1/2 x 1 pln crg type 5

4шт.

102637

NUT,1/2"-13, G5

4шт.

8

130225C1

SUPPORT

fuel tank front bracket

1шт.

88574

BOLT,Hex, 5/16" - 18 x 1/2", Gr 5, Full Thd

5/16 x 1/2 pln type 5

2шт.

9

130224C1

SUPPORT

bracket

2шт.

930051R1

BOLT,Hex, M10 x 1.5 x 40mm, Cl 8.8

M10 x 40 pln class 8.8

4шт.

30184R1

WASHER,M10 x 24.5 x 3, HT

10.8 x 24 x 3MM phc

4шт.

30168R1

NUT,M10, Cl 10

M10 phc class 10

4шт.

10

130253C1

BRACKET

fuel tank hold down

1шт.

30021R1

BOLT,Hex, M10 x 1.5 x 30mm, Cl 10.9, Full Thd

PHC Hex, M10 x 30, 10.9, Full Thd

2шт.

933965R1

LOCK WASHER,M10

2шт.

30184R1

WASHER,M10 x 24.5 x 3, HT

10.8 x 24 2 3MM phc

2шт.

11

NOT USED IN THIS APPLICATION

1шт.

12

130345C1

FUEL HOSE

HOSE, fuel outlet

1шт.

13

130346C1

ADAPTER

fuel line

1шт.

14

681209C1

HOSE CLAMP,#32, 1.56/2.50 Type F Worm, W/liner

CLAMP, fuel tank outlet hose

2шт.

15

130306C1

VALVE

shut-off

1шт.

16

184820H1

CONNECTOR, ELEC

CONNECTOR, 1/2 x 1/4 male

1шт.

17

443978

FITTING,1/4"-18 NPTF, Brass

NIPPLE, 1/4-18 auto-pipe

1шт.

18

444054

ELBOW,45 Degree, 1/4"-18 NPTF, Fem x 1/4"-18 NPTF Male

1/4-18 pipe 45 deg

1шт.

19

104465C1

DRAIN VALVE

VALVE, fuel tank drain

1шт.

20

TUBE, aux fuel drain line, Use 450MM (178.72 in.) of 3/8 OD nylon tube from a bulk roll marked 74813C1

1шт.

21

384558R1

CLIP

fuel tank drain tube

1шт.

22

TUBE, aux fuel tank to fuel filter, Use 540MM (21.26 in.) of 1/2 OD nylon tube from a bulk roll marked 71814C1

1шт.

23

887714C91

CONNECTOR, ELEC

CONNECTOR, 1/2 tube x 3/8 npt

1шт.

24

146387C1

BRACKET

ASSY, fuel pump

1шт.

413-1036

BOLT,Hex, 5/8" - 11 x 2-1/4", Gr 5

5/8 x 2-1/4 pln type 5

1шт.

25

1802072C1

HEAD (CYLINDER)

HEADER, fuel filter

1шт.

186284

BOLT,Hex, 3/8" - 16 x 3 3/4", Gr 5

3/8 x 3-3/4 pln type 5

2шт.

26

625625C1

FILTER, ELEMENT

ELEMENT, fuel filter

1шт.

27

444584

PLUG

3/8-18 auto sq-hd brass pipe

1шт.

28

444614

PLUG,Hex Hd, 1/8"-27, Brass

1/8-27 auto hex-hd brass pipe

1шт.

29

121207

PIPE,Nipple, 3/8" NPT x 1"

NIPPLE, 3/8-18 stl pipe

1шт.

30

146397C1

PUMP

fuel electric

1шт.

31

127992H1

ELBOW

3/8 npt 1/2 OD tube

1шт.

32

175777H1

ELBOW

3/8 npt 3/8 OD tube

1шт.

33

TUBE, fuel pump to tee, Use 1420MM (55.91 in.) of 1/2 OD nylon tube from a bulk roll marked 74814C1

1шт.

34

444120

TEE,1/4"-18 NPTF Fem

1/4-18 auto pipe

1шт.

35

184820H1

CONNECTOR, ELEC

CONNECTOR, 1/2 tube, 1/4 npt male

2шт.

36

TANK ASSY, fuel 89 gal, Refer to fuel tank, support & fuel lines in this group

1шт.

37

142241C1

VALVE

3/8 tube 1/4 npt ball check

1шт.

38

TUBE, fuel return, Use 533MM (20.99 in.) of 3/8 OD nylon tube from a bulk roll marked 74813C1

1шт.

39

TUBE, tee to main tank, use 4265MM (167.91 in.) of 1/2 OD nylon tube from bulk roll marked 74814C1

1шт.

40

104469C1

ELBOW

1/4 npt x 1/2 OD tube male

2шт.

41

TUBE, fuel return, Use 3880MM (152.76 in.) of 3/8 OD nylon tube from a bulk roll marked 74813C1

1шт.

42

1250195C1

X

GAGE, sending unit aux tank

1шт.

28068R1

HOSE CLAMP,#4, 1/4", Spring

CLAMP, fuel tank vent tube

1шт.

872436R1

HOSE CLAMP,#6, 3/8", Spring

CLAMP, fuel tank return

1шт.

423546

SCREW,Hex Hd, #10-24 x 3/4", w/LW

no. 10 x 3/4 znp h/hd l/w mach

5шт.

43

104812C1

GASKET

aux tank sending unit

1шт.

44

120194C1

CAP

GASKET, breather

1шт.

45

120193C2

CLAMP

mounting bracket

1шт.

167084

SEAL PROTECTION

no. 10 x 1/2 p/hdcr tap

1шт.

46

111619C1

STRAP

cable lock

2шт.

47

146399C1

TRANSMITTER

GAGE, fuel tank sender main

1шт.

48

146398C2

FLOAT

sensor switch

1шт.

49

224979C1

VALVE

1/2 tube x 3/8 npt ball check

1шт.

50

104722C1

CHANNEL

rear tank support

1шт.

202013C2

TRAFFIC SIGN

PRODUCT GRAPHIC, SMV

1шт.

144261C2

FASTENER

SMV hold down

3шт.

Выбрано товаров: 0