Запчасти Case IH 6788 (07-33) - DRIVE TRAIN, GEAR SHIFT MECHANISM, SPEED TRANSMISSION, 6788 TRACTORS (04) - Drive Train

Схема запчастей Case IH 6788 - (07-33) - DRIVE TRAIN, GEAR SHIFT MECHANISM, SPEED TRANSMISSION, 6788 TRACTORS (04) - Drive Train
20
11
18
20
14
9
13
16
14
5
7
2
17
16
17
16
10
16
3
8
4
15
19
1
12
6
10
10
FIT
1:1
100%

Артикул

Название

Примечание

Количество

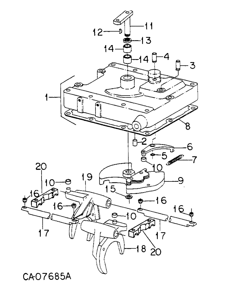
1

130540C91

COVER

ASSY, clutch housing, Consists of

1шт.

COVER (NSS)

1шт.

382563R1

PIN

1шт.

382564R1

PIN

1шт.

19962R1

DOWEL,3/8" x 3/4"

PIN

1шт.

26309R1

BOLT,Hex, 3/8" - 16 x 3/4", Gr 8

3/8 x 3/4 phc p/t type 8

2шт.

179850

BOLT,Hex, 3/8" - 16 x 2 3/4", Gr 5

3/8 x 2-3/4 pln type 5

9шт.

95-11041

WASHER,3/8"

(.406 x .812 x .051 pln) 3/8"

8шт.

2

19962R1

DOWEL,3/8" x 3/4"

PIN, 3/8 x 3/4 dowel

2шт.

3

382563R1

PIN

spring anchor

1шт.

4

382564R1

PIN

pivot

1шт.

11002VA

WASHER

.531 x .876 x .054 pln

1шт.

5

370290R1

SNAP RING,#50, .392" Dia, E-Type

Ring, Retaining, , shifter control arm pivot pin #50, .392" Dia, E-Type

1шт.

6

382565R21

ARM ASSY.

ARM ASSY, shifter control

1шт.

7

383997R1

SPRING

shifter control arm

1шт.

8

380112R1

GASKET

clutch housing cover

1шт.

9

68058C2

CAM

ASSY, clutch housing shift

1шт.

10

68065C1

ROLLER

cam

3шт.

104186

RIVET

5/16 x 1-3/8 pln 90D c/hd sol

2шт.

11

130700C1

LEVER

ASSY, tran cam pivot

1шт.

615168R1

WASHER

.781 x 1.500 x .105 pln

1шт.

12

124549

WOODRUFF KEY,#9, 3/16" x 3/4", HT

Cam pivot shaft #9, 3/16" x 3/4", HT

1шт.

13

65457C1

SEAL,19.04mm ID x 25.5mm OD x 3.17mm Thk

oil

1шт.

14

359955R91

BEARING, NEEDLE,Needle, 19.04mm ID x 25.4mm OD x 15.76mm W

BEARING ASSY, needle

1шт.

15

603570R1

SNAP RING,#75, .574" Dia, E-Type

Ring, Retaining, , cam pivot shaft #75, .574" Dia, E-Type

1шт.

16

BUSHING, shift rail, Order shift rail hold-down package, 149071C91, Serial Range: -8809

4шт.

24642R1

BOLT,5/16" x 1 1/4", Gr 8

5/16 x 1-1/4 pln type 8

4шт.

114605

LOCK WASHER,Ext Tooth, 5/16"

WASHER, LOCK, Ext Tooth, 5/16"

4шт.

17

380122R1

RAIL

shift

2шт.

18

68063C3

FORK

ASSY, 1st and 2nd gear shift

1шт.

19

68066C2

FORK

ASSY, 3rd gear shift

1шт.

20

148953C1

BLOCK

SUPPORT, shift rail, block, Start Serial: 8810

2шт.

186623

BELT,Hex, 5/16" - 18 x 1 3/8", Gr 8

5/16 x 1-3/8 pln type 8

4шт.

114605

LOCK WASHER,Ext Tooth, 5/16"

WASHER, LOCK, Ext Tooth, 5/16"

4шт.

149071C91

PACKAGE

shift rail hold down block service, Consists of, Serial Range: -8809

1шт.

148953C1

BLOCK

2шт.

413-524

BOLT,Hex, 5/16" - 18 x 1-1/2", Gr 5

5/16 x 1-3/8 pln type 8

4шт.

114605

LOCK WASHER,Ext Tooth, 5/16"

WASHER, LOCK, Ext Tooth, 5/16"

4шт.

INSTRUCTIONS (NSS)

1шт.

Выбрано товаров: 39