Запчасти Case IH 6788 (13-02) - SUPERSTRUCTURE, REAR HOOD (05) - SUPERSTRUCTURE

Схема запчастей Case IH 6788 - (13-02) - SUPERSTRUCTURE, REAR HOOD (05) - SUPERSTRUCTURE
6
8
18
9
2
5
16
3
17
15
4
14
7
1
12
10
11
8
19
13
FIT
1:1
100%

Артикул

Название

Примечание

Количество

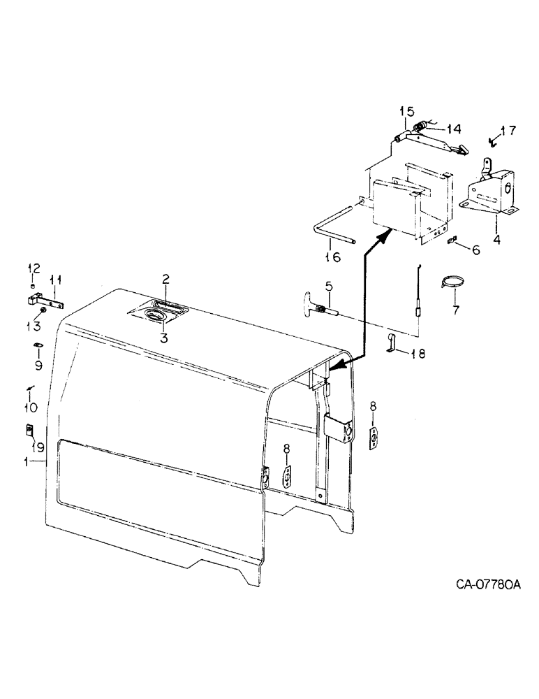
1

1268431C2

HOOD

ASSY, rear, Replaces 146920C2 by also furnishing two bar assys, 1258372C1

1шт.

180174

BOLT,Hex, 1/2" - 13 x 1 1/8", Gr 5

1/2 x 1-1/8 type 5

4шт.

390307C1

WASHER

.531 x 1.062 x .054 hdn

4шт.

2

138970C1

POCKET

rear hood hand

1шт.

3

141877C1

GROMMET

fuel filler neck

1шт.

4

138879C4

LATCH

ASSY, hood

1шт.

180077

BOLT,Hex, 5/16" - 18 x 3/4", Gr 5

5/16 x 3/4 type 5

3шт.

178532

LOCK WASHER,Ext-Int Tooth, 5/16"

WASHER, 5/16 ext-int tooth lock

3шт.

120393

BEARING WASHER,5/16", SAE

WASHER, .344 x .688 x .51

3шт.

120376

NUT,5/16"-18, G5

3шт.

5

132949C2

CABLE

ASSY, hood release

1шт.

6

146700C1

CLAMP

control cable

1шт.

492-11025

LOCK WASHER,1/4"

WASHER, LOCK, 1/4"

2шт.

186491

SCREW,Hex Hd, 1/4"-20 x 1/2", w/LW

1/4 x 1/2 znp h/hd l/w mach

2шт.

7

289862C1

CABLE TIE,3/16" x 7"

STRAP, hood latch cable

2шт.

8

132915C1

BAR

bumper, cup

2шт.

120394

WASHER,3/8", SAE

WASHER, .406 x .812 x .051

4шт.

180077

BOLT,Hex, 5/16" - 18 x 3/4", Gr 5

5/16 x 3/4 type 5

4шт.

10174

BOLT, 1/2 x 1-1/8 type 5

4шт.

390307C1

WASHER

.531 x 1.062 x .095 hdn

4шт.

9

138664C2

CLAMP

rear hood support

2шт.

120392

WASHER,1/4", SAE

.281 x .625 x .051

2шт.

180016

SPRING

1/4 x 1/2 type 5

2шт.

10

155499C1

RIVET

12шт.

11

138713C2

BRACKET

ASSY, bellow pivot

1шт.

12

138770C1

BUSHING

bellows pivot

2шт.

13

938017R1

FLANGE NUT,Flg, USR, 5/16"-18

5/16-18 flange lock

2шт.

14

146702C1

SPRING

torsion

1шт.

15

146703C1

LEVER

ASSY, hood latch cable

1шт.

28259R1

SCREW

1/4 x 2 znp h/hd mach

1шт.

120375

NUT,Hex, 1/4" - 20, Gr 5

2шт.

120423

LOCK WASHER,Int Tooth, 0.267" ID x 0.478" OD x 0.028"

WASHER, LOCK, Int Tooth, 1/4"

1шт.

16

146701C1

SHAFT

hood latch pivot

1шт.

17080R1

LOCK PIN,5/32" x 1 1/4", Slotted

PIN, 5/32" x 1 1/4", Slotted

1шт.

591225R1

PIN,5/32" x 1 1/4", Coiled

1шт.

120394

WASHER,3/8", SAE

WASHER, .406 x .812 x .051

1шт.

103384

COTTER PIN,1/8" x 3/4"

Pin, Split (Cotter), 1/8" x 3/4"

1шт.

17

138881C2

LINK

hood latch handle

1шт.

18

362126R1

CLIP

hood latch cable

4шт.

19

1258372C1

BAR

ASSY, nut plate

2шт.

Выбрано товаров: 40