Запчасти Case IH 9310 (7-004) - PARKING BRAKE CONTROLS (07) - BRAKES

Схема запчастей Case IH 9310 - (7-004) - PARKING BRAKE CONTROLS (07) - BRAKES
9
14
4
2
10
12
11
5
3
1
2
13
6
10
7
8
3
FIT
1:1
100%

Артикул

Название

Примечание

Количество

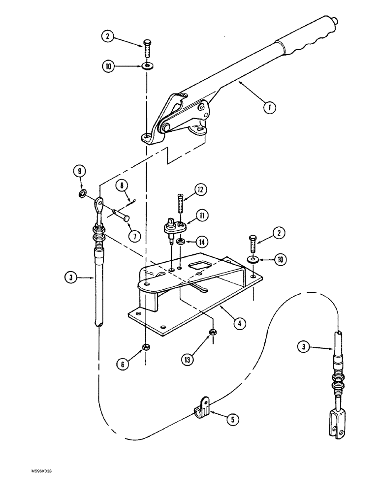
1

60-7209T1

HANDLE

LEVER - parking brake

1шт.

2

426-516

BOLT,Hex, 5/16" - 18 x 1", Gr 8

- hex, 5/16 NC x 1 inch, grade 8

6шт.

3

60-7003T1

CABLE

- parking brake, all models except Sugar Cane Special

1шт.

3

60-7005T1

CABLE

- parking brake, Sugar Cane Special

1шт.

4

60-7006T1

SUPPORT

MOUNT - parking brake lever and cable

1шт.

5

515-23190

CLAMP,3/4", Insul, 3/8" Bolt

P-type 3/4", Insul, 3/8" Bolt

1шт.

6

425-105

NUT,5/16"-18, G5

- hex, 5/16 inch NC

2шт.

7

427-6106

CLEVIS PIN,9.53mm OD x 26.92mm L

PIN, CLEVIS, , Hardened 3/8" x 1 1/16"

1шт.

8

432-612

COTTER PIN,3/32" x 3/4"

PIN , SPLIT (COTTER), 3/32" x 3/4"

1шт.

9

495-11041

WASHER,0.406" ID x 0.812" OD x 0.065" W

(Flat, 13/32 x 13/16 x 1/16") 3/8", SAE

1шт.

10

495-11034

WASHER,5/16", SAE

5/16" SAE (flat, 11/32 x 11/16 x 1/16")

6шт.

11

1534229C1

PUSH BUTTON SWITCH

SWITCH - parking brake

1шт.

12

473-10810

SCREW,Slotted Flat Hd, #8-32 x 5/8"

- machine, flat head slotted, No. 8 NC x 5/8 inch

1шт.

13

225-14108

NUT,#8-32

- hex, No. 8 NC

1шт.

14

495-21019

WASHER,#8

1шт.

Выбрано товаров: 15