Запчасти Case IH 9310 (9-014) - LONG DRAWBAR KIT, WITH THREE POINT HITCH (09) - CHASSIS/ATTACHMENTS

Схема запчастей Case IH 9310 - (9-014) - LONG DRAWBAR KIT, WITH THREE POINT HITCH (09) - CHASSIS/ATTACHMENTS
4
10
9
10
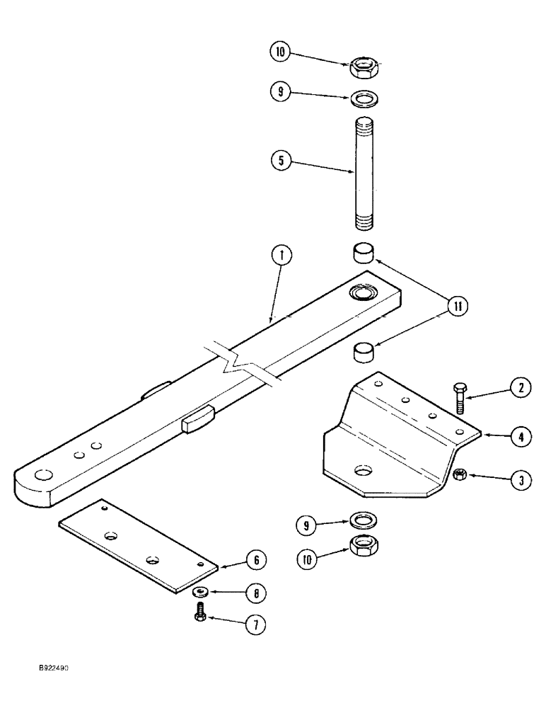
2
9
3
11
6
7
1
8
5
FIT
1:1
100%

Артикул

Название

Примечание

Количество

35-1916T91

DRAWBAR

KIT - drawbar, long, no longer available, order component parts separately, Includes: Ref. 1 - 11

1шт.

1

70-6401T91

DRAWBAR

- long

1шт.

70-6401T91. Where pin 70-4189T1 goes thru there is a spherical ball. Checked print and the part number was 15-19 which subs to 613524C91.

1шт.

2

426-1232

BOLT,Hex, 3/4" - 10 x 2", Gr 8

2шт.

3

425-1012

NUT,3/4"-10, G5

- hex, 3/4 inch NC

2шт.

4

70-6293T1

LARGE PLATE

PLATE - support, drawbar hinge

2шт.

5

70-4189T1

PIN,44.37mm OD x 339.85mm L

- threaded, drawbar

1шт.

6

70-6394T1

LARGE PLATE

PLATE - drawbar retaining

1шт.

7

426-1216

SCREW

BOLT - hex, 3/4 NC x 1 inch, grade 8

2шт.

8

495-11081

WASHER,3/4", SAE

2шт.

9

1-4088

WASHER,45mm ID x 69.9mm OD x 6.35mm Thk

- flat, 1-3/4 x 2-3/4 x 1/4 inch

2шт.

10

70-6221T1

JAM NUT

- special locking

2шт.

11

70-6403T1

SPACER

- bolt, drawbar

2шт.

Выбрано товаров: 13