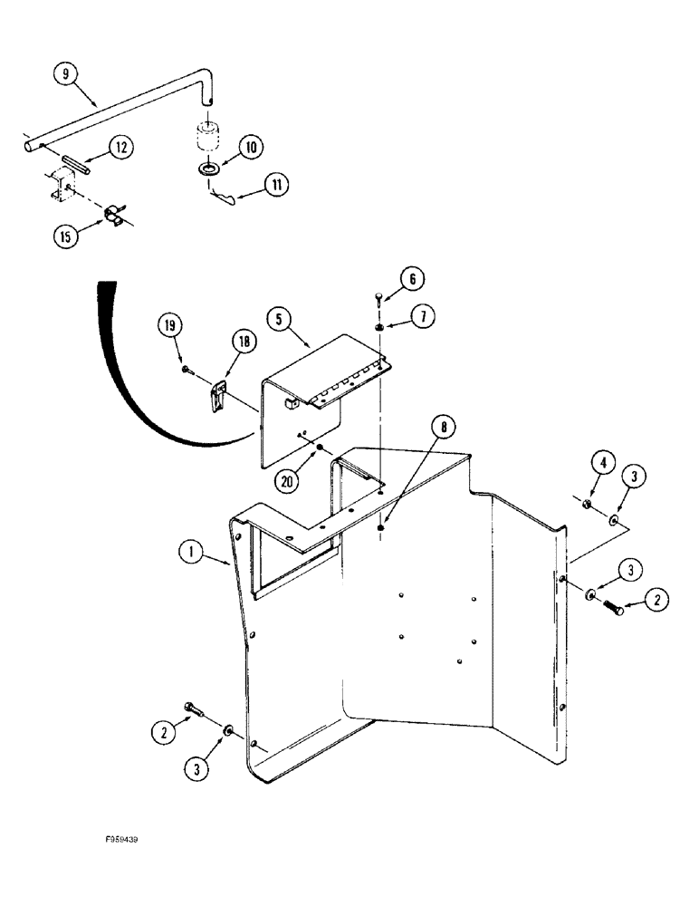
Запчасти Case IH 9310 (9-024) - HYDRAULIC OIL TANK COVER (09) - CHASSIS/ATTACHMENTS

Схема запчастей Case IH 9310 - (9-024) - HYDRAULIC OIL TANK COVER (09) - CHASSIS/ATTACHMENTS
11
9
10
3
3
7
19
20
8
2
3
18
5
1
2
12
6
15
4
FIT
1:1
100%

Артикул

Название

Примечание

Количество

1

70-4548T1

COVER

- oil tank, hydraulic

1шт.

2

426-616

BOLT,Hex, 3/8" - 16 x 1", Gr 8

6шт.

3

495-21044

WASHER,3/8"

(7/16 x 1 x 5/64 inch) 3/8"

8шт.

4

425-106

NUT,3/8"-16, Cl 5

2шт.

5

70-6736T1

TANK

DOOR - access, oil tank

1шт.

6

426-512

BOLT,Hex, 5/16" - 18 x 3/4", Gr 8

- hex, 5/16 NC x 3/4 inch, grade 8

3шт.

7

495-21038

WASHER,5/16"

(flat, 3/8 x 7/8 x 3/32") 5/16"

3шт.

8

231-1445

NUT,5/16"-18, GB

NUT - hex, self-locking, 5/16 inch NC

3шт.

9

70-4815T2

ROD

- support, door

1шт.

10

495-11041

WASHER,0.406" ID x 0.812" OD x 0.065" W

(Flat, 13/32 x 13/16 x 1/16") 3/8", SAE

1шт.

11

32-612

COTTER PIN,3/32" x 3/4"

PIN, SPLIT (COTTER), 3/32" x 3/4"

1шт.

12

19711R1

PIN,3.17mm OD x 31.75mm L, Coiled

1шт.

15

L128879

CLIP,ELECTRICAL

CLIP - rod retainer

1шт.

18

70-4156T1

LATCH

- access door

1шт.

19

440-1068

SCREW,Cross Pan Hd, #6-32 x 1/2"

- machine, pan Phillips, No. 6 NC x 1/2 inch

2шт.

20

230-14106

LOCK NUT,#6-32, GB

NUT - hex, self-locking, No. 6 NC

2шт.

Выбрано товаров: 16