Запчасти Case IH 9310 (9-064) - VINYL SEAT ASSEMBLY, MECHANICAL SUSPENSION (09) - CHASSIS/ATTACHMENTS

Схема запчастей Case IH 9310 - (9-064) - VINYL SEAT ASSEMBLY, MECHANICAL SUSPENSION (09) - CHASSIS/ATTACHMENTS
27
24
8
6
1
20
26
22
9
29
10
11
30
10
28
21
23
25
5
27
7
2
FIT
1:1
100%

Артикул

Название

Примечание

Количество

1987174C2

SEAT ASSY.

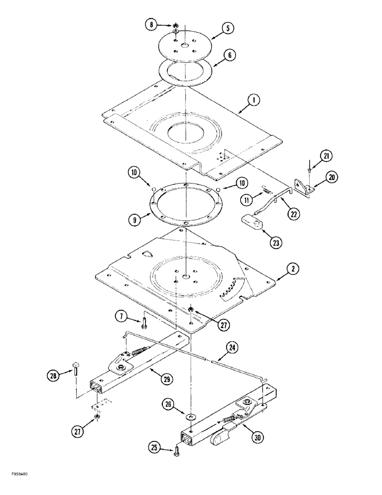
SEAT ASSEMBLY - mechanical, with vinyl upholstery, parts list Figures 9-60 - 9-66, Includes: Ref. 1 - 30

1шт.

241198A1

SEAT SUPPORT

SWIVEL ASSEMBLY - seat, replaces 1344003C3 swivel, Includes: Ref. 1 - 23

1шт.

1

1343857C1

LARGE PLATE

PLATE - swivel, upper

1шт.

2

1343858C1

LARGE PLATE

PLATE - swivel, lower

1шт.

5

1343859C1

RETAINER

- swivel

1шт.

6

1343860C1

PLATE

PLATE - swivel bearing

1шт.

7

413-620

BOLT,Hex, 3/8" - 16 x 1-1/4", Gr 5

- hex, 3/8 NC x 1-1/4 inch

4шт.

8

231-4206

LOCK NUT,Hex, 3/8"-16, GB

NUT, LOCK, Hex, 3/8"-16, GB

4шт.

9

A49555

LARGE PLATE

RETAINER - ball

1шт.

10

211-1016

BALL,12.7mm OD, Gr 24

- chrome alloy steel, 1/2 inch, grade 24

8шт.

11

N8680

SPRING

- latch rod

1шт.

20

1343861C1

SUPPORT

BRACKET - swivel rod

1шт.

21

49-36

RIVET,Truss Hd, 3/16" x 3/8"

- truss head, 3/16 x 3/8 inch

2шт.

22

1343862C2

ROD, ADJUSTMENT

ROD - swivel

1шт.

23

1999692C1

LEVER ASSY & KNOB

KIT - knob, replaces 1343863C1 knob, Includes: Ref. 24 - 30

1шт.

1344248C1

SLIDE

KIT - double locking slide

1шт.

24

1981825C1

ELECTRICAL WIRE

WIRE - slide

1шт.

25

426-512

BOLT,Hex, 5/16" - 18 x 3/4", Gr 8

- hex, 5/16 NC x 3/4 inch, grade 8

4шт.

26

495-11034

WASHER,5/16", SAE

5/16" SAE (flat, 11/32 x 11/16 x 1/16")

4шт.

27

230-4115

LOCK NUT,5/16"-18, GA

NUT - hex, self-locking, 5/16 inch NC

8шт.

28

417-512

BOLT,Sq Hd, 5/16" - 18 x 3/4", Gr 2

- square head, 5/16 NC x 3/4 inch, grade 2

4шт.

29

1981823C1

SLIDE

- seat, right-hand

1шт.

30

1981822C1

SLIDE

- seat, left-hand, with handle

1шт.

Выбрано товаров: 23