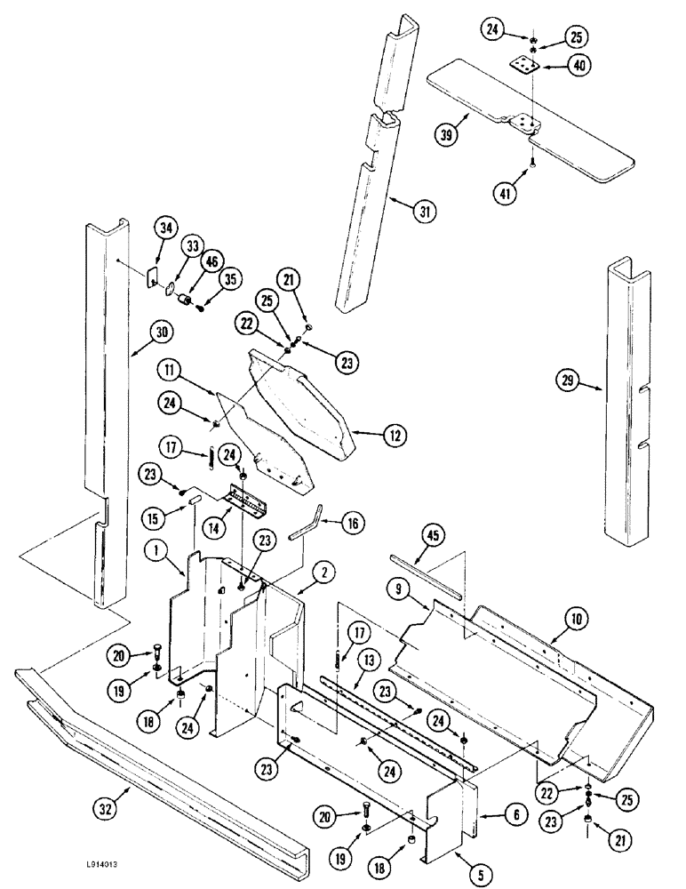
Запчасти Case IH 9310 (9-082) - CAB STORAGE COMPARTMENTS, COVERS AND SUN VISOR, IF EQUIPPED (09) - CHASSIS/ATTACHMENTS

Схема запчастей Case IH 9310 - (9-082) - CAB STORAGE COMPARTMENTS, COVERS AND SUN VISOR, IF EQUIPPED (09) - CHASSIS/ATTACHMENTS
6
10
24
19
14
40
24
23
41
2
18
22
25
18
12
20
39
11
25
45
23
21
31
16
32
22
46
34
24
19
24
23
21
24
13
5
25
24
23
17
33
23
29
17
35
30
23
20
15
1
9
FIT
1:1
100%

Артикул

Название

Примечание

Количество

35-1803T91

KIT - cab, deluxe, order from Machinery Price List, Includes: Ref. 1 - 32

1шт.

1

60-6366T91

HOOD

CONTAINER ASSEMBLY - storage compartment, Includes: Ref. 2

1шт.

2

NSS

NOT SOLD SEPARAT

COVER - storage compartment

1шт.

5

60-6362T91

HOOD

CONTAINER ASSEMBLY - storage compartment, Includes: Ref. 6

1шт.

6

NSS

NOT SOLD SEPARAT

COVER - storage compartment

1шт.

9

60-6370T1

COVER

- door, storage compartment

1шт.

10

60-6369T1

HOOD

COVER - door

1шт.

11

60-6372T2

FLAP

DOOR - storage compartment

1шт.

12

60-6371T2

COVER

- door

1шт.

13

60-6360T1

HINGE

- door

1шт.

14

60-6361T1

HINGE

- door

1шт.

15

60-6358T1

GASKET

TRIM - edge, 63 mm (2-1/2 inch) long, cut from F64277X bulk trim, see below

1шт.

16

60-6359T1

GASKET

TRIM - edge, 194 mm (7-5/8 inch) long, cut from F64277X bulk trim, see below

1шт.

17

60-6374T2

SPRING

- cover

4шт.

18

425-108

NUT,1/2" - 13, Gr 5

NUT, , Hex, Mounting, seat 1/2"-13, G5

6шт.

19

495-11028

WASHER,1/4", SAE

(flat, 9/32 x 5/8 x 1/16") 1/4", SAE

6шт.

20

426-424

BOLT,Hex, 1/4" - 20 x 1-1/2", Gr 8

- hex, 1/4 NC x 1-1/2 inch, grade 8

6шт.

21

60-5920T1

CAP

- trim, gray

12шт.

22

1-8674

CAP WASHER

- trim

12шт.

23

463-3108

SCREW,Hex Wash Hd, #10-24 x 1/2"

- machine, hex washer head, No. 10 NC x 1/2 inch

23шт.

24

193-1004

NUT,Keps, #10 - 24, w/ Ext Tooth LW

NUT - hex, with external tooth lock washer, No. 10 NC

23шт.

25

495-31022

WASHER,#10

20шт.

29

60-6354T2

COVER

- cab post, right-hand rear

1шт.

30

60-6352T2

COVER

- cab post, left-hand rear

1шт.

31

60-6353T1

COVER

- cab post, left-hand front

1шт.

32

60-6355T1

COVER

- cab frame, rear

1шт.

33

3234176R1

COAT HOOK

HOOK - coat

1шт.

34

60-6520T1

PLATE

- coat hook

1шт.

35

363-11020

SCREW,Hex Hd, #10-24 x 1 1/4"

- machine, hex head, No. 10 NC x 1-1/4 inch

1шт.

39

1971228C1

VISOR, SUN

VISOR - sun

1шт.

40

60-6521T1

LARGE PLATE

PLATE - mounting, sun visor

1шт.

41

343-11016

SCREW,Cross Flat Hd, #10-24 x 1"

- machine, flat Phillips, No. 10 NC x 1 inch

3шт.

45

60-6531T1

FOAM

SEAL - foam, 292 mm (11-1/2 inch) long, cut from 60-4596T1 bulk seal, see below

2шт.

46

60-6576T1

SPACER

- hook

1шт.

F64277X

SEAL

TRIM - edge, bulk, 14478 mm (570 inch) long

1шт.

60-4596T1

SEAL

SEAL - foam, bulk, 3048 mm (120 inch) long

1шт.

Выбрано товаров: 36