Запчасти Case IH 9310 (9-096) - COMPRESSOR MOUNTING AND DRIVE, AIR CONDITIONER (09) - CHASSIS/ATTACHMENTS

Схема запчастей Case IH 9310 - (9-096) - COMPRESSOR MOUNTING AND DRIVE, AIR CONDITIONER (09) - CHASSIS/ATTACHMENTS
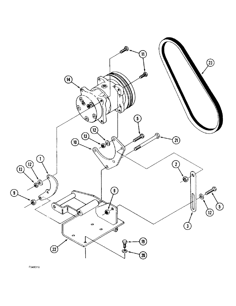
1
9
20
13
5
23
11
9
21
12
12
13
12
10
19
14
5
22
3
2
FIT
1:1
100%

Артикул

Название

Примечание

Количество

1

2-5295T2

BRACKET

- compressor pivot

1шт.

2

231-1446

NUT,3/8" - 16, Gr 5

NUT, LOCK, 3/8"-16, GB

2шт.

3

90-7587T1

ADJUSTING PLATE

STRAP - adjusting, compressor belt

1шт.

5

426-620

BOLT,Hex, 3/8" - 16 x 1-1/4", Gr 8

2шт.

9

231-1448

NUT,1/2"-13, GB

- hex, self-locking, 1/2 inch NC

3шт.

10

90-7591T1

BRACKET

- compressor mounting

1шт.

11

614-10035

BOLT,Hex, M10 x 1.5 x 35mm, Cl 8.8, Full Thd

- hex, full threads, 10 - 1.5 x 35 mm

5шт.

12

495-21044

WASHER,3/8"

(7/16 x 1 x 5/64 inch) 3/8"

6шт.

13

825-1410

NUT,M10, Cl 8

5шт.

14

1999755C2

COMPRESSOR

ASSEMBLY - air conditioning, parts list Figure 9-98

1шт.

14

86993462R

REMAN-COMPRESSOR

9310, 9330 both (6/95-8/00); Reman For New P/N 1999755C2

1шт.

14

86993462C

CORE-COMPRESSOR

Return Part Number

1шт.

14

48017123R

REMAN-A/C COMP KIT

Reman A/C Compressor, Receiver-Dryer, Valve Kit

1шт.

14

48017123C

REMAN-A/C COMP KIT

Return Part Number

1шт.

14

1999755C3R

REMAN-A/C COMPRESSOR

Inc.- 8 Mounting holes, 2 Groove Pulley, For Use w/HFC134A Refrigerant

1шт.

14

1999755C3C

CORE-COMPRESSOR

Return Part Number

1шт.

19

614-10020

BOLT,Hex, M10 x 1.5 x 20mm, Cl 8.8, Full Thd

4шт.

20

492-11044

LOCK WASHER,7/16"

WASHER, LOCK, 7/16"

4шт.

21

426-880

BOLT,Hex, 1/2" - 13 x 5", Gr 8

- hex, 1/2 NC x 5 inch, grade 8

1шт.

22

90-7754T1

ANCHOR

MOUNT - compressor

1шт.

23

90-7729T1

V-BELT,0.53" W x 51.75" L

Compressor, Air conditioning 0.53" W x 51.75" L

1шт.

Выбрано товаров: 21