Запчасти Case IH 9330 (6-036) - TRANSMISSION SHIFT CONTROLS, MODE CONTROL ASSEMBLY (06) - POWER TRAIN

Схема запчастей Case IH 9330 - (6-036) - TRANSMISSION SHIFT CONTROLS, MODE CONTROL ASSEMBLY (06) - POWER TRAIN
3
11
12
14
36
21
15
23
3
4
13
5
6
3
19
17
22
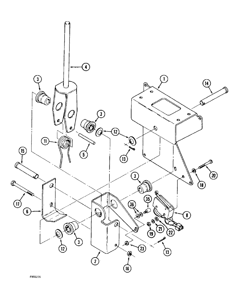
1
2
3
18
12
35
20
13
8
16
FIT
1:1
100%

Артикул

Название

Примечание

Количество

60-6060T91

CONTROL

ASSEMBLY - mode, forward or reverse, Includes: Ref. 1 - 22

1шт.

1

60-6057T2

BRACKET

HOUSING - upper, control assembly

1шт.

2

60-5887T1

JOINT

TRUNNION - shift control

1шт.

3

60-6141T1

BUSHING

- flanged, nylon

4шт.

4

60-6756T1

LEVER ASSY.

YOKE - pivot, shift control

1шт.

5

60-5892T1

PIN

- spring tension

1шт.

6

60-6056T1

LARGE PLATE

STRIKER - switch actuating

1шт.

8

60-6059T91

IGNITION SWITCH

SWITCH - neutral

1шт.

11

60-6197T1

SPRING

- return

1шт.

12

19-6034

SPRING WASHER

- spring, 1/2 x 1 x 1/64 inch

3шт.

13

432-816

COTTER PIN,1/8" x 1"

1/8" x 1"

2шт.

14

19-6158

CLEVIS PIN,1/2" x 2 3/4"

PIN - clevis, 1/2 x 2-3/4 inch

1шт.

15

H382416

CLEVIS PIN

PIN - clevis, 1/2 x 2-1/4 inch

1шт.

16

111626C1

NUT

- hex, self-locking, special, 1/4 inch NC

1шт.

17

413-440

BOLT,Hex, 1/4" - 20 x 2-1/2", Gr 5

1шт.

18

493-11014

LOCK WASHER,Ext-Int Tooth, #6

WASHER - internal-external tooth lock, 1/8 inch

2шт.

19

225-14106

NUT,#6-32

2шт.

20

470-10620

SCREW,Pan HD, #6 - 32 x 1-1/4"

- machine, pan head slotted, No. 6 NC x 1-1/4 inch

2шт.

21

492-11006

LOCK WASHER,#6

Washer, Lock, #6

2шт.

22

495-31016

WASHER,#6

- flat, 5/32 x 3/8 x 3/64 inch

2шт.

23

193-1002

NUT,Keps, #8 - 32, w/ Ext Tooth LW

- hex, with external tooth lock washer, No. 8 NC

1шт.

35

20-1316T1

ACTUATOR

- mode

1шт.

36

495-21019

WASHER,#8

2шт.

Выбрано товаров: 23