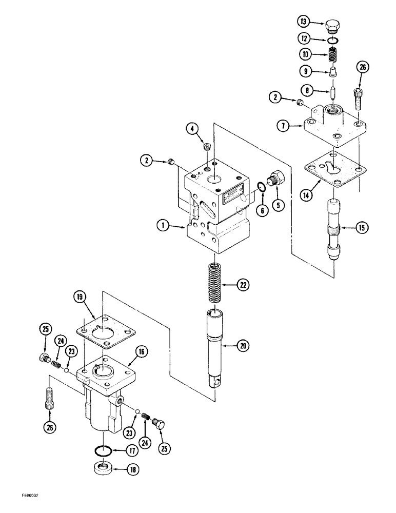
Запчасти Case IH 9330 (6-060) - PTO CONTROL VALVE ASSEMBLY (06) - POWER TRAIN

Схема запчастей Case IH 9330 - (6-060) - PTO CONTROL VALVE ASSEMBLY (06) - POWER TRAIN
19
5
23
8
24
24
23
10
2
22
7
17
4
25
20
14
1
26
18
15
6
9
13
16
26
12
25
2
FIT
1:1
100%

Артикул

Название

Примечание

Количество

S9500S00F

VALVE

ASSEMBLY - PTO control, Includes: Ref. 1 - 26

1шт.

1

S9580S00F

BODY

- modulator

1шт.

2

S9720S00F

PLUG

- pipe

4шт.

4

S9730S00F

PLUG

- orifice

1шт.

5

S1390S00F

PLUG

- O-ring boss

2шт.

6

S1320S00F

O-RING

- plug

2шт.

7

S9610S00F

COVER

- valve

1шт.

8

S9620S00F

PISTON

SPOOL - reducing, valve

1шт.

9

S9640S00F

PIN

- centering

1шт.

10

S9650S00F

SPRING

- compression

1шт.

12

S9660S00F

GASKET

O-RING - plug

1шт.

13

S9670S00F

PLUG

- O-ring boss

1шт.

14

S9600S00F

GASKET

- cover

1шт.

Included in S9870S00F PTO overhaul kit.

1шт.

15

S9590S00F

PISTON

SPOOL - modulator

1шт.

16

S9550S00F

CAP

COVER - control stem

1шт.

17

S9540S00F

GASKET

O-RING - seal

1шт.

18

S9530S00F

SEAL

- control stem

1шт.

19

S9570S00F

GASKET

- stem cover

1шт.

Included in S9870S00F PTO overhaul kit.

1шт.

20

S9520S00F

STEM

- control

1шт.

22

S9560S00F

SPRING

- compression

1шт.

23

S9690S00F

BALL

- steel

2шт.

24

S9700S00F

SPRING

- compression

2шт.

25

S9710S00F

PLUG

- hex head

2шт.

26

S9680S00F

SCREW

BOLT - hex, special

8шт.

Выбрано товаров: 0