Запчасти Case IH 9330 (8-042) - REMOTE HYDRAULIC CONTROL (08) - HYDRAULICS

Схема запчастей Case IH 9330 - (8-042) - REMOTE HYDRAULIC CONTROL (08) - HYDRAULICS
17
7
43
20
41
42
25
39
28
26
46
15
8
31
20
47
7
37
27
7
18
24
9
1
45
4
38
8
19
31
14
2
10
16
23
40
3
7
14
8
48
29
8
10
FIT
1:1
100%

Артикул

Название

Примечание

Количество

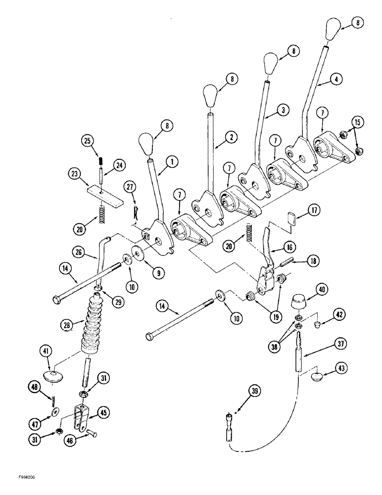
1

60-6073T1

LEVER

- control, first remote

1шт.

2

60-6074T1

LEVER

- control, second remote

1шт.

3

60-6075T1

LEVER

- control, third remote

1шт.

4

60-6076T1

LEVER

- control, fourth remote

1шт.

7

60-6067T1

CONTROL LEVER

BUSHING - lever pivot

4шт.

8

60-4346T1

KNOB

- lever, control

4шт.

9

19-6154

WASHER

- flat, nylon, 3/8 x 1-1/4 x 1/16 inch

1шт.

10

495-11041

WASHER,0.406" ID x 0.812" OD x 0.065" W

(Flat, 13/32 x 13/16 x 1/16") 3/8", SAE

2шт.

14

426-696

BOLT,Hex, 3/8" - 16 x 6", Gr 8

- hex, 3/8 NC x 6 inch, grade 8

2шт.

15

231-1446

NUT,3/8" - 16, Gr 5

NUT, LOCK, 3/8"-16, GB

6шт.

16

60-6081T1

LEVER

LOCKOUT - lever

4шт.

17

60-6068T1

CAP

- lockout lever

4шт.

18

38-11618

LOCK PIN,1/4" x 1 1/8", Slotted

Pin, 1/4" x 1 1/8", Slotted

4шт.

19

19-6113

NYLON BEARING,0.484" ID x 0.578" OD x 0.14"

BUSHING - nylon, split, flanged

8шт.

20

K14651

SPRING

- lockout, lever

8шт.

23

60-3933T1

BRACKET

- lockout, lever

4шт.

24

38-31222

PIN,3/16" x 1 3/8", Coiled

- roll, 3/16 x 1-5/16 inch, replaces 20092R1 pin

4шт.

25

60-3937T1

CYLINDER END CAP

CAP - lockout, lever

4шт.

26

60-4283T1

STEM

ROD - actuating

4шт.

27

19-5380

PIN

- hair, 5/64 x 1-3/16 inch

4шт.

28

60-4279T2

BELLOWS

BOOT - rubber

4шт.

29

22-824

CABLE TIE,3/16" x 7 1/4"

STRAP - tie, 7 inch

4шт.

31

425-106

NUT,3/8"-16, Cl 5

8шт.

37

60-4688T1

CABLE

SHAFT ASSEMBLY - flex, flow control, Includes: Ref. 38 and 39

1шт.

38

125-11006

SPECIAL NUT,3/8"-32, G2

2шт.

39

483-1084

SET SCREW,Hex Soc, #8-32 x 1/4"

SCREW - set, hex socket headless, No. 8 NC x 1/4 inch, cup point

1шт.

40

60-4339T1

BUTTON

KNOB - flow control

1шт.

41

22-619

GROMMET

- hole plug

1шт.

42

60-4258T1

PLUG

- hole, flow control access

1шт.

43

64-146

PLUG

- hole, access

1шт.

45

60-6686T1

CLEVIS

- actuating rod

1шт.

46

427-6106

CLEVIS PIN,9.53mm OD x 26.92mm L

PIN, CLEVIS, , Hardened 3/8" x 1 1/16"

4шт.

47

495-11041

WASHER,0.406" ID x 0.812" OD x 0.065" W

(Flat, 13/32 x 13/16 x 1/16") 3/8", SAE

6шт.

48

32-612

COTTER PIN,3/32" x 3/4"

PIN, SPLIT (COTTER), 3/32" x 3/4"

4шт.

Выбрано товаров: 34