Запчасти Case IH 9330 (8-050) - HYDRAULIC REMOTE VALVE SECTION, FIRST, SECOND, THIRD OR FOURTH SECTIONS W/FLOAT ONLY (CONTD) (08) - HYDRAULICS

Схема запчастей Case IH 9330 - (8-050) - HYDRAULIC REMOTE VALVE SECTION, FIRST, SECOND, THIRD OR FOURTH SECTIONS W/FLOAT ONLY (CONTD) (08) - HYDRAULICS
69
77
107
75
89
64
91
108
65
92
112
66
104
111
67
105
85
71
106
76
70
62
90
100
63
64
95
75
88
110
93
97
73
68
79
83
84
109
96
65
72
74
94
99
98
62
78
113
FIT
1:1
100%

Артикул

Название

Примечание

Количество

50-2302T91

ASSEMBLY

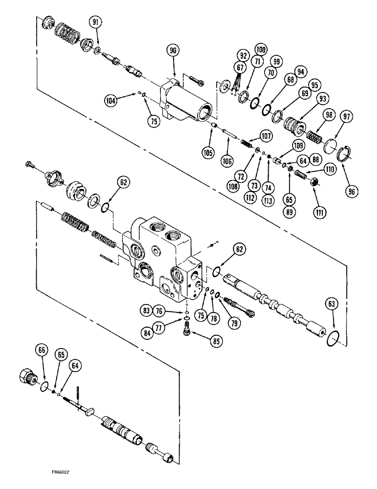
SECTION ASSEMBLY - valve, float, Includes: Ref. 1 - 58 and 62 - 113 on Fig. 8-50

1шт.

50-2388T1

SEAL KIT

KIT - seal, detent, primary and secondary, Includes: Ref. 62 - 79

1шт.

62

238-5116

O-RING,0.103" Thk x 0.75" ID, -116, Cl 5, 75 Duro

Spool -116, 70 Duro, .737" ID x .103" Thk

2шт.

63

238-5026

O-RING,0.07" Thk x 1.239" ID, -26, Cl 5, 75 Duro

-026, 70 Duro, 1.239" ID x .070" Thk, Detent housing

1шт.

64

238-5008

O-RING,0.07" Thk x 0.18" ID, -8, Cl 5, 75 Duro

-008, 70 Duro, .176" ID x .070" Thk

2шт.

65

D71056

RING,Split, 4.47mm ID x 7.21mm OD x 1.32mm Thk

- backup

2шт.

66

237-6010

O-RING,0.097" Thk x 0.755" ID, -910, Cl 6, 90 Duro

10-1, 90 Duro, .755" ID x .097" Thk, Plug

1шт.

67

211-1007

BALL,7/32" Dia

- chrome alloy steel, 7/32", Gr 24

8шт.

68

238-5022

O-RING,0.07" Thk x 0.99" ID, -22, Cl 5, 75 Duro

-022, 70 Duro, .989" ID x .070" Thk, Kickout piston

1шт.

69

A52208

SEAL,25.98mm ID x 28.73mm OD x 1.32mm Thk

RING - backup

1шт.

70

238-5021

O-RING,0.07" Thk x 0.926" ID, -21, Cl 5, 75 Duro

-021, 70 Duro, .926" ID x .070" Thk, Kickout piston

1шт.

71

L35295

SEALING RING,Split, 24.38mm ID x 27.13mm OD x 1.32mm Thk

RING - backup

1шт.

72

A48935

WASHER

- poppet valve, spring

1шт.

73

238-5006

O-RING,0.07" Thk x 0.114" ID, -6, Cl 5, 75 Duro

-006, 70 Duro, .114" ID x .070" Thk, Poppet

1шт.

74

A52378

RING,Split, 3.56mm ID x 6.3mm OD x 1.32mm Thk

- back-up

1шт.

75

238-6009

O-RING,0.07" Thk x 0.208" ID, -9, Cl 6, 90 Duro

3шт.

76

238-6008

O-RING,0.07" Thk x 0.176" ID, -8, Cl 6, 90 Duro

Shuttle, secondary -008, 90 Duro, .176" ID x .070" Thk

1шт.

77

237-6003

O-RING,0.064" Thk x 0.301" ID, -903, Cl 6, 90 Duro

3-1, .301" ID x .064" Thk, Shuttle, secondary

1шт.

78

238-6010

O-RING,0.07" Thk x 0.239" ID, -10, Cl 6, 90 Duro

Shuttle, primary -010, 90 Duro, .239" ID x .070" Thk

1шт.

79

237-6004

O-RING,0.072" Thk x 0.351" ID, -904, Cl 6, 90 Duro

4-1, 90 Duro, .351" ID x .072" Thk, Shuttle, primary

1шт.

A47210

PLUG

SHUTTLE ASSEMBLY - secondary, no longer available, order component parts separately, Includes: Ref. 83 and 84

1шт.

R30185

SEAL KIT

KIT - seal, Includes: Ref. 83 and 84

1шт.

83

238-6008

O-RING,0.07" Thk x 0.176" ID, -8, Cl 6, 90 Duro

Secondary -008, 90 Duro, .176" ID x .070" Thk

1шт.

84

237-6003

O-RING,0.064" Thk x 0.301" ID, -903, Cl 6, 90 Duro

3-1, .301" ID x .064" Thk, Shuttle, secondary

1шт.

85

A47204

PLUG

BODY - shuttle, secondary

1шт.

A52435

HOUSING ASSY.

HOUSING ASSEMBLY - detent, Includes: Ref. 88 - 113

1шт.

88

238-5008

O-RING,0.07" Thk x 0.18" ID, -8, Cl 5, 75 Duro

-008, 70 Duro, .176" ID x .070" Thk, Poppet

1шт.

89

D71056

RING,Split, 4.47mm ID x 7.21mm OD x 1.32mm Thk

- backup

1шт.

90

NSS

NOT SOLD SEPARAT

HOUSING - detent

1шт.

91

A48931

WASHER

- guide

1шт.

92

211-1007

BALL,7/32" Dia

- chrome alloy steel, 7/32", Gr 24

8шт.

93

A48932

PISTON

- kickout

1шт.

94

238-5022

O-RING,0.07" Thk x 0.99" ID, -22, Cl 5, 75 Duro

-022, 70 Duro, .989" ID x .070" Thk, Piston

1шт.

95

A52208

SEAL,25.98mm ID x 28.73mm OD x 1.32mm Thk

RING - backup

1шт.

96

100-21118

SNAP RING,1.188", Int, #118

Ring, Snap, 1.188", Int, #118

1шт.

97

A48933

RING

RETAINER - piston

1шт.

98

A48934

SPRING

- detent

1шт.

99

238-5021

O-RING,0.07" Thk x 0.926" ID, -21, Cl 5, 75 Duro

-021, 70 Duro, .926" ID x .070" Thk, Piston

1шт.

100

L35295

SEALING RING,Split, 24.38mm ID x 27.13mm OD x 1.32mm Thk

RING - backup

1шт.

104

A47658

PLUG

- orifice

1шт.

105

A47201

SEAT

- pilot float

1шт.

106

NSS

NOT SOLD SEPARAT

POPPET - relief

1шт.

107

NSS

NOT SOLD SEPARAT

SPRING - valve poppet

1шт.

108

A48935

WASHER

- poppet valve, spring

1шт.

109

A48936

GOVERNOR

PISTON - regulator

1шт.

110

A47173

SCREW,3/8" - 24 x 0.96"

- adjusting

1шт.

111

425-156

JAM NUT,Jam, 3/8"-24, G5

1шт.

112

238-5006

O-RING,0.07" Thk x 0.114" ID, -6, Cl 5, 75 Duro

-006, 70 Duro, .114" ID x .070" Thk, Poppet

1шт.

113

A52378

RING,Split, 3.56mm ID x 6.3mm OD x 1.32mm Thk

- back-up

1шт.

Выбрано товаров: 49