Запчасти Case IH 9330 (8-052) - HYDRAULIC REMOTE VALVE SECTION, FIRST SECTION WITH PRIORITY & FLOAT (08) - HYDRAULICS

Схема запчастей Case IH 9330 - (8-052) - HYDRAULIC REMOTE VALVE SECTION, FIRST SECTION WITH PRIORITY & FLOAT (08) - HYDRAULICS
8
42
47
13
56
18
55
58
1
31
5
9
27
50
45
44
36
41
7
49
57
51
34
20
33
37
24
17
35
26
43
25
46
19
2
23
40
32
6
48
28
12
FIT
1:1
100%

Артикул

Название

Примечание

Количество

50-3562T91

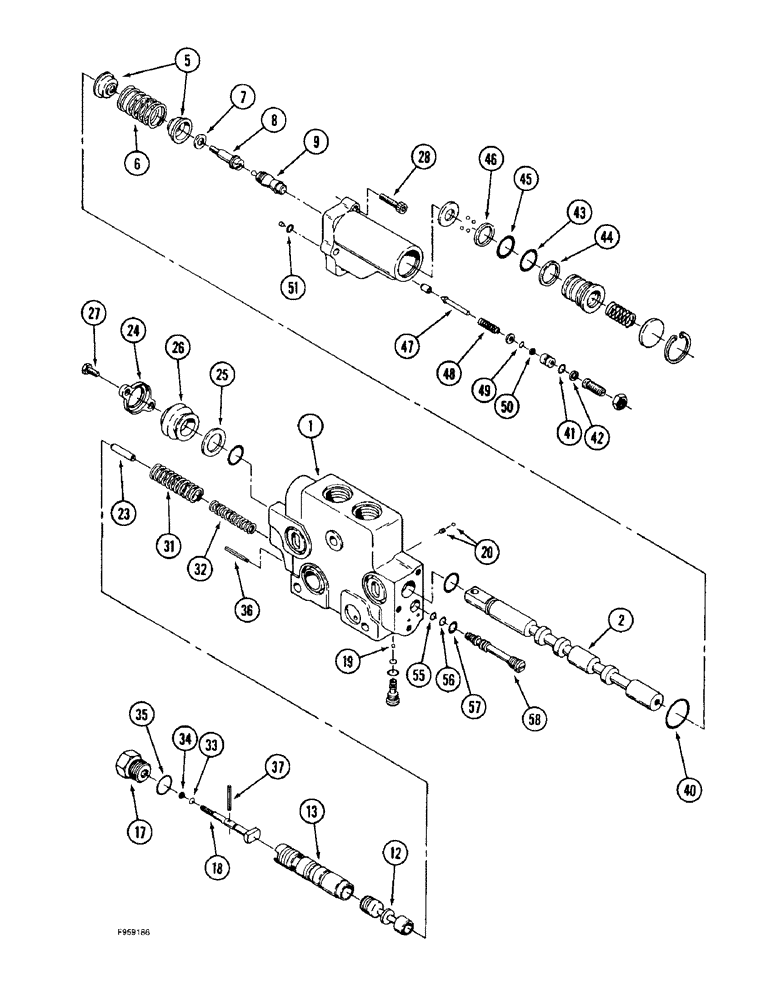
VALVE, CONTROL

SECTION ASSEMBLY - valve, priority and float, Includes: Ref. 1 - 58 and 62 - 113 on Fig. 8-58

1шт.

1

NSS

NOT SOLD SEPARAT

BODY - valve

1шт.

2

NSS

NOT SOLD SEPARAT

SPOOL - valve

1шт.

5

A47197

RETAINER

- spring

2шт.

6

A47177

SPRING

- centering, spool

1шт.

7

A47199

BUSHING

SPACER - detent

1шт.

8

A47193

COUPLING, BREAK AWAY

COUPLER - detent pivot

1шт.

9

A52409

SHAFT

- detent

1шт.

12

A52411

PISTON

SPOOL - flow control

1шт.

13

A52412

TUBE

- flow control

1шт.

17

A48925

PLUG

- flow control

1шт.

18

A48929

SHAFT

- adjusting

1шт.

19

211-1006

BALL,3/16" Dia

- chrome alloy steel, 3/16 inch, grade 24

1шт.

20

A47105

PLUG

- expansion

1шт.

23

A52410

PIN

- spring guide

1шт.

24

A47196

RETAINER

- dust guard

1шт.

25

A47205

SEAL,22.61mm ID x 32.13mm OD x 2.67mm Thk

FILTER - spool

1шт.

26

A47188

COVER

- dust

1шт.

27

86019274

SCREW,Hex, 1/4"-20 x 1/2", G5

- retainer

2шт.

28

61-32516

HEX SOC SCREW,1/4"-20 x 1"

SCREW, Hex Soc Hd, 1/4"-20 x 1"

3шт.

50-2386T1

SEAL KIT

KIT - seal, flow control, no longer available, order component parts separately, Includes: Ref. 31 - 37

1шт.

31

A48959

SPRING

- outer, flow control, outer

1шт.

32

A48960

SPRING

- inner, flow control, inner

1шт.

33

238-5008

O-RING,0.07" Thk x 0.18" ID, -8, Cl 5, 75 Duro

-008, 70 Duro, .176" ID x .070" Thk, Shaft

1шт.

34

D71056

RING,Split, 4.47mm ID x 7.21mm OD x 1.32mm Thk

- backup

1шт.

35

237-6010

O-RING,0.097" Thk x 0.755" ID, -910, Cl 6, 90 Duro

10-1, 90 Duro, .755" ID x .097" Thk, Plug

1шт.

36

138-1816

LOCK PIN,1/8" x 1", Slotted, Stainless

Pin, 1/8" x 1, Slotted, Stainless, control stop

1шт.

37

19711R1

PIN,3.17mm OD x 31.75mm L, Coiled

control stop 1/8" x 1 1/4", Coiled

1шт.

A48942

KIT

- seal, detent, Includes: Ref. 40 - 51

1шт.

40

238-5026

O-RING,0.07" Thk x 1.239" ID, -26, Cl 5, 75 Duro

-026, 70 Duro, 1.239" ID x .070" Thk, Detent housing

1шт.

41

238-5008

O-RING,0.07" Thk x 0.18" ID, -8, Cl 5, 75 Duro

-008, 70 Duro, .176" ID x .070" Thk, Relief

1шт.

42

D71056

RING,Split, 4.47mm ID x 7.21mm OD x 1.32mm Thk

- backup

1шт.

43

238-5022

O-RING,0.07" Thk x 0.99" ID, -22, Cl 5, 75 Duro

-022, 70 Duro, .989" ID x .070" Thk, Kickout piston

1шт.

44

A52208

SEAL,25.98mm ID x 28.73mm OD x 1.32mm Thk

RING - backup

1шт.

45

238-5021

O-RING,0.07" Thk x 0.926" ID, -21, Cl 5, 75 Duro

-021, 70 Duro, .926" ID x .070" Thk, Kickout piston

1шт.

46

L35295

SEALING RING,Split, 24.38mm ID x 27.13mm OD x 1.32mm Thk

RING - backup

1шт.

47

NSS

NOT SOLD SEPARAT

POPPET - relief

1шт.

48

NSS

NOT SOLD SEPARAT

SPRING - valve poppet

1шт.

49

238-5006

O-RING,0.07" Thk x 0.114" ID, -6, Cl 5, 75 Duro

-006, 70 Duro, .114" ID x .070" Thk, Poppet

1шт.

50

A52378

RING,Split, 3.56mm ID x 6.3mm OD x 1.32mm Thk

- back-up

1шт.

51

238-6010

O-RING,0.07" Thk x 0.239" ID, -10, Cl 6, 90 Duro

Housing -010, 90 Duro, .239" ID x .070" Thk

2шт.

A47209

SPOOL

SHUTTLE ASSEMBLY - primary, Includes: Ref. 55 - 57

1шт.

50-1655T1

SEAL KIT

KIT - seal, primary shuttle, order component parts separately, Includes: Ref. 55 - 57

1шт.

55

238-6009

O-RING,0.07" Thk x 0.208" ID, -9, Cl 6, 90 Duro

1шт.

56

238-6010

O-RING,0.07" Thk x 0.239" ID, -10, Cl 6, 90 Duro

1шт.

57

237-6004

O-RING,0.072" Thk x 0.351" ID, -904, Cl 6, 90 Duro

4-1, 90 Duro, .351" ID x .072" Thk

1шт.

58

NSS

NOT SOLD SEPARAT

SHUTTLE - primary, continued

1шт.

Выбрано товаров: 47