Запчасти Case IH 9330 (8-058) - HYDRAULIC REMOTE VALVE SECTION, SECOND & THIRD SECTIONS WITH "B" PORT LOAD LOCK & FLOAT (CONTD) (08) - HYDRAULICS

Схема запчастей Case IH 9330 - (8-058) - HYDRAULIC REMOTE VALVE SECTION, SECOND & THIRD SECTIONS WITH "B" PORT LOAD LOCK & FLOAT (CONTD) (08) - HYDRAULICS
65
72
78
64
88
70
77
112
76
84
113
108
94
64
63
68
105
109
74
73
111
110
71
65
79
67
104
66
75
85
96
90
93
99
107
95
100
89
83
98
92
91
69
75
97
62
106
62
FIT
1:1
100%

Артикул

Название

Примечание

Количество

50-3563T91

HYD VALVE SECTION

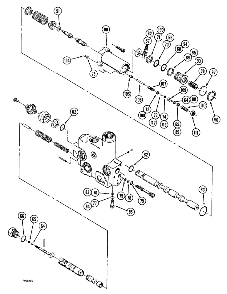
SECTION ASSEMBLY - B port load lock and float, continued, Includes: Ref. 62 - 113 and 1 - 58 on Fig. 8-56

1шт.

50-2388T1

SEAL KIT

KIT - seal, detent, primary and secondary, Includes: Ref. 62 - 79

1шт.

62

238-5116

O-RING,0.103" Thk x 0.75" ID, -116, Cl 5, 75 Duro

Spool -116, 70 Duro, .737" ID x .103" Thk

2шт.

63

238-5026

O-RING,0.07" Thk x 1.239" ID, -26, Cl 5, 75 Duro

-026, 70 Duro, 1.239" ID x .070" Thk, Detent housing

1шт.

64

238-5008

O-RING,0.07" Thk x 0.18" ID, -8, Cl 5, 75 Duro

-008, 70 Duro, .176" ID x .070" Thk

2шт.

65

D71056

RING,Split, 4.47mm ID x 7.21mm OD x 1.32mm Thk

- backup

2шт.

66

237-6010

O-RING,0.097" Thk x 0.755" ID, -910, Cl 6, 90 Duro

10-1, 90 Duro, .755" ID x .097" Thk

1шт.

67

211-1007

BALL,7/32" Dia

- chrome alloy steel, 7/32", Gr 24

8шт.

68

238-5022

O-RING,0.07" Thk x 0.99" ID, -22, Cl 5, 75 Duro

-022, 70 Duro, .989" ID x .070" Thk

1шт.

69

A52208

SEAL,25.98mm ID x 28.73mm OD x 1.32mm Thk

RING - backup

1шт.

70

238-5021

O-RING,0.07" Thk x 0.926" ID, -21, Cl 5, 75 Duro

-021, 70 Duro, .926" ID x .070" Thk, Kickout piston

1шт.

71

L35295

SEALING RING,Split, 24.38mm ID x 27.13mm OD x 1.32mm Thk

RING - backup

1шт.

72

A48935

WASHER

- poppet valve, spring

1шт.

73

238-5006

O-RING,0.07" Thk x 0.114" ID, -6, Cl 5, 75 Duro

-006, 70 Duro, .114" ID x .070" Thk, Poppet

1шт.

74

A52378

RING,Split, 3.56mm ID x 6.3mm OD x 1.32mm Thk

- back-up

1шт.

75

238-6009

O-RING,0.07" Thk x 0.208" ID, -9, Cl 6, 90 Duro

3шт.

76

238-6008

O-RING,0.07" Thk x 0.176" ID, -8, Cl 6, 90 Duro

Shuttle, secondary -008, 90 Duro, .176" ID x .070" Thk

1шт.

77

237-6003

O-RING,0.064" Thk x 0.301" ID, -903, Cl 6, 90 Duro

3-1, .301" ID x .064" Thk, Shuttle, secondary

1шт.

78

238-6010

O-RING,0.07" Thk x 0.239" ID, -10, Cl 6, 90 Duro

Shuttle, primary -010, 90 Duro, .239" ID x .070" Thk

1шт.

79

237-6004

O-RING,0.072" Thk x 0.351" ID, -904, Cl 6, 90 Duro

4-1, 90 Duro, .351" ID x .072" Thk, Shuttle, primary

1шт.

A47210

PLUG

SHUTTLE ASSEMBLY - secondary, no longer available, order component parts separately, Includes: Ref. 83 and 84

1шт.

R30185

SEAL KIT

KIT - seal, Includes: Ref. 83 and 84

1шт.

83

238-6008

O-RING,0.07" Thk x 0.176" ID, -8, Cl 6, 90 Duro

Shuttle, secondary -008, 90 Duro, .176" ID x .070" Thk

1шт.

84

237-6003

O-RING,0.064" Thk x 0.301" ID, -903, Cl 6, 90 Duro

3-1, .301" ID x .064" Thk, Shuttle, secondary

1шт.

85

A47204

PLUG

BODY - shuttle, secondary

1шт.

A52435

HOUSING ASSY.

HOUSING ASSEMBLY - detent, Includes: Ref. 88 - 113

1шт.

88

238-5008

O-RING,0.07" Thk x 0.18" ID, -8, Cl 5, 75 Duro

-008, 70 Duro, .176" ID x .070" Thk, Poppet

1шт.

89

D71056

RING,Split, 4.47mm ID x 7.21mm OD x 1.32mm Thk

- backup

1шт.

90

A52436

HOUSING ASSY.

HOUSING - detent

1шт.

91

A48931

WASHER

- guide

1шт.

92

211-1007

BALL,7/32" Dia

- chrome alloy steel, 7/32", Gr 24

8шт.

93

A48932

PISTON

- kickout

1шт.

94

238-5022

O-RING,0.07" Thk x 0.99" ID, -22, Cl 5, 75 Duro

-022, 70 Duro, .989" ID x .070" Thk, Piston

1шт.

95

A52208

SEAL,25.98mm ID x 28.73mm OD x 1.32mm Thk

RING - backup

1шт.

96

100-21118

SNAP RING,1.188", Int, #118

Ring, Snap, (Replaces A30975) 1.188", Int, #118

1шт.

97

A48933

RING

RETAINER - piston

1шт.

98

A48934

SPRING

- detent

1шт.

99

238-5021

O-RING,0.07" Thk x 0.926" ID, -21, Cl 5, 75 Duro

-021, 70 Duro, .926" ID x .070" Thk, Piston

1шт.

100

L35295

SEALING RING,Split, 24.38mm ID x 27.13mm OD x 1.32mm Thk

RING - backup

1шт.

104

A47658

PLUG

- orifice

1шт.

105

A47201

SEAT

- pilot float

1шт.

106

A48958

VALVE POPPET

POPPET - relief

1шт.

107

A48961

RETAINER

SPRING - valve

1шт.

108

A48935

WASHER

- poppet valve, spring

1шт.

109

A48936

GOVERNOR

PISTON - regulator

1шт.

110

A47173

SCREW,3/8" - 24 x 0.96"

- adjusting

1шт.

111

425-156

JAM NUT,Jam, 3/8"-24, G5

1шт.

112

238-5006

O-RING,0.07" Thk x 0.114" ID, -6, Cl 5, 75 Duro

-006, 70 Duro, .114" ID x .070" Thk, Poppet

1шт.

113

A52378

RING,Split, 3.56mm ID x 6.3mm OD x 1.32mm Thk

- back-up

1шт.

Выбрано товаров: 49