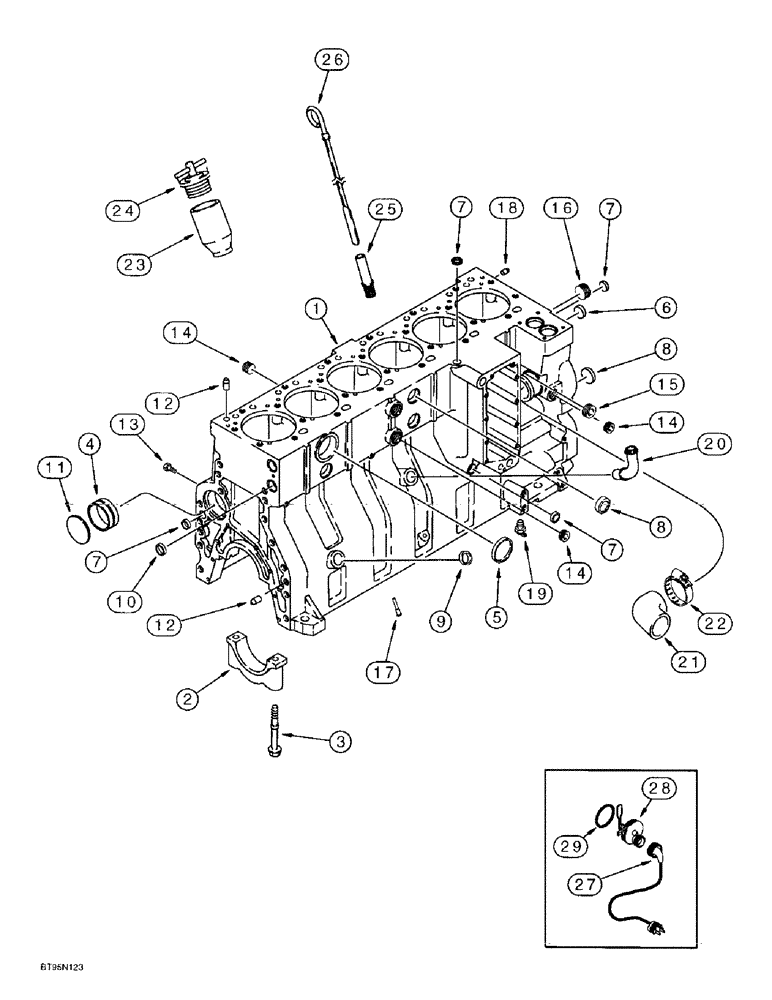
Запчасти Case IH 9330 (2-062) - CYL. BLOCK, 6TA-830 EMISSIONS CERTIFIED ENGINE, 9330, S/N JEE0036501 & AFTER, ENGINE BLOCK HEAT (02) - ENGINE

Схема запчастей Case IH 9330 - (2-062) - CYL. BLOCK, 6TA-830 EMISSIONS CERTIFIED ENGINE, 9330, S/N JEE0036501 & AFTER, ENGINE BLOCK HEAT (02) - ENGINE
8
1
20
26
7
16
2
12
7
29
9
25
14
15
4
21
10
18
17
8
13
6
22
3
7
11
12
23
14
14
19
28
27
24
7
5
FIT
1:1
100%

Артикул

Название

Примечание

Количество

124707A2

ENGINE ASSEMBLY

ENGINE ASSY ENGINE ASSEMBLY - 6TA-830 Emissions Certified, complete, for service order basic engine below, Includes: Ref. 2 - 20

1шт.

The engine part number is stamped on a metal tag, which is mounted on the front gear cover.

1шт.

199985A1

BASIC ENGINE

ENGINE ASSEMBLY - basic, Includes: Ref. 2 - 20

1шт.

Includes all parts except starter, alternator, fan, fan belt, air cleaner, muffler, exhaust manifold, flywheel and housing, oil fill and dipstick, fuel injection pump, injectors and lines, front pulley, belt tensioner, turbocharger and aftercooler

1шт.

199985A1R

REMAN-BASIC ENGINE

Engine Assembly, Remanufactured, Component Parts Shown On This Figure Do Not Apply To The Remanufactured Asssembly, Includes: Ref. 2 - 20; See Note

1шт.

199985A1C

CORE-BASIC ENGINE

Return Part Number, Use This Part Number To Return Engine Core For Credit When Using a Remanufactured Assembly, Includes: Ref. 2 - 20

1шт.

1

J931187

SKELETON ENGINE

BLOCK ASSEMBLY - short, new, includes stripped block, pistons, connecting rods and bearings, crankshaft and bearings, Includes: Ref. 2 - 20

1шт.

1

JR931187

BLOCK

Block Assembly, Short, Remanufactured, Component Parts Shown On This Figure Do Not Apply To The Remanufactured Assembly, Includes: Ref. 2 - 20

1шт.

1

JC931187

CORE-ENGINE

Return Part Number, Use This Part Number To Return Block Core For Credit When Using a Remanufactured Assembly, Includes: Ref. 2 - 20

1шт.

1

87448701

REMAN-SHORT ENGINE

Reman for New PN J931187

1шт.

1

6-830-SHBC

CORE

Return Part Number, Short Block

1шт.

2

J917313

BEARING CAP

CAP - bearing, main

7шт.

3

J916369

FLANGE BOLT,Hex, M14 x 2 x 128mm, Cl 10.9

SCREW, , Bearing cap to block Hex Flg Hd, M14 x 128

14шт.

4

J901685

BUSHING

BUSHING - camshaft, see page 2-57, Ref. 6

7шт.

5

A77782

PLUG

PLUG - expansion, 58 mm OD

1шт.

6

A77586

PLUG

PLUG - expansion, 28.9 mm OD

1шт.

7

A77506

PLUG

PLUG - expansion, 21 mm OD

4шт.

8

J905401

PLUG

PLUG - expansion, 35 mm OD

4шт.

9

J920706

PLUG

PLUG - expansion, 22 mm OD

1шт.

10

A77530

PLUG

PLUG - expansion, 30 mm OD, not used in this application

2шт.

11

41-3044

PLUG,Exp, 2 3/4"

PLUG, Exp, 2 3/4"

1шт.

12

J901846

PIN,12.01mm OD x 24mm L

PIN - dowel

4шт.

13

J906619

PLUG,1/8" - 27

PLUG - hex, 1/8 inch PT

6шт.

14

A77429

PLUG

PLUG - hex socket, 1/2 inch PT

4шт.

15

A77505

PLUG

PLUG - hex socket, 3/4 inch PT

2шт.

16

A77533

PLUG

PLUG - hex socket, 1 inch PT

1шт.

17

J928031

NOZZLE,8.5mm OD x 30mm L

NOZZLE - piston cooling

12шт.

18

J900257

PIN,10.01mm OD x 16mm L

PIN - dowel, 16 mm long

2шт.

19

217-103

COCK, DRAIN

VALVE - 1/4 inch PT, coolant

1шт.

20

J903744

PIPE FITTING,22.42 mm ID x 28 mm OD x 90.2, 64 mm L

TUBE - turbocharger oil drain, not used in this application

1шт.

21

J920762

ELBOW

HOSE - 79 mm (3-1/8 inch), water

1шт.

22

J918521

HOSE CLAMP,59mm - 83mm

CLAMP - adj, 1-13/16 - 2-3/4 inch dia, coolant

1шт.

23

J905408

TUBE,35.13 mm ID x 52.39 mm OD x 100 mm L

TUBE - oil filler

1шт.

24

A77424

FILLER CAP

CAP - oil fill tube

1шт.

25

J905425

TUBE,9.52 mm OD x 93 mm L

TUBE - dipstick, oil

1шт.

26

J908772

DIPSTICK

DIPSTICK - oil gauge, 298 mm long

1шт.

196804A1

KIT

KIT - engine block heater, Includes: Ref. 27 - 30

1шт.

27

J905113

CABLE

CABLE - engine block heater

1шт.

P/N J905113 and 196466A1 are 6 ft. long. For 1 ft. long cord, order A44813.

1шт.

28

NSS

NOT SOLD SEPARAT

ELEMENT - heater, 120 volt, engine block

1шт.

29

J910517

O-RING

O-RING - heater sealing, engine block

1шт.

30

L18337

CABLE TIE,9.95"-12.1" lg

CABLE STRAP STRAP - tie, 15 inch, not shown, engine block

1шт.

Выбрано товаров: 42