Запчасти Case IH 9330 (4-026) - GAUGE PANEL, PRIOR TO P.I.N. JEE0071001 (04) - ELECTRICAL SYSTEMS

Схема запчастей Case IH 9330 - (4-026) - GAUGE PANEL, PRIOR TO P.I.N. JEE0071001 (04) - ELECTRICAL SYSTEMS
37
22
18
19
19
28
30
2
26
35
22
35
8
4
1
21
31
3
9
20
25
6
24
18
23
22
10
29
32
36
27
21
7
20
34
24
FIT
1:1
100%

Артикул

Название

Примечание

Количество

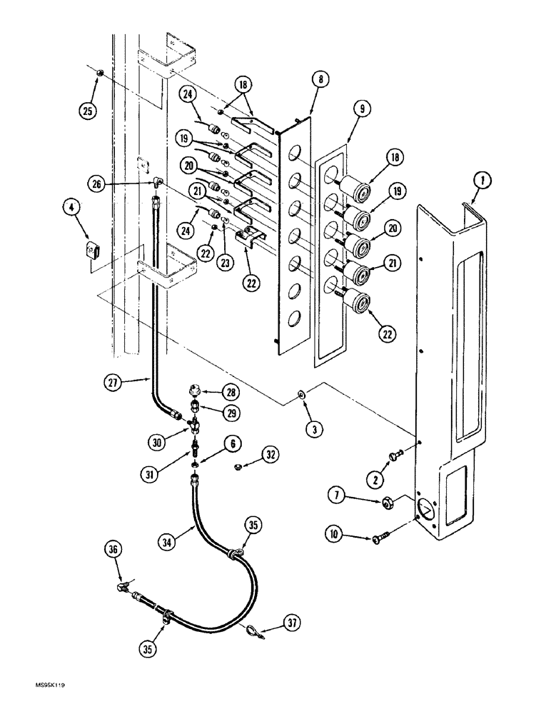
1

60-7056T2

COVER

- panel, cab

1шт.

1

60-6166T1

COVER

- panel, ROPS, gauge, not shown

1шт.

2

19-6136

STUD

- quarter turn

6шт.

3

19-5668

WASHER

- flat, 1/4 x 3/4 x 3/16 inch, five used on ROPS

6шт.

4

A36042

CLIP

RETAINER - quarter turn, five used on ROPS

6шт.

6

425-117

NUT,7/16"-20, G5

- hex, 7/16 inch NF

1шт.

7

225-14106

NUT,#6-32

4шт.

60-6291T91

PANEL, INSTRUMENTS

PANEL ASSEMBLY - gauge, not available as an assembly, order components separately, Includes: Ref. 8 - 24

1шт.

8

60-5756T1

PANEL

- gauge

1шт.

9

60-5939T2

DECAL

- gauge panel

1шт.

10

140-101

SCREW,Cross Pan Hd, #6 - 32 x 1/2"

4шт.

18

20-2018T2

HOURMETER

GAUGE - hourmeter

1шт.

19

20-2466T2

VOLTMETER

GAUGE - voltmeter

1шт.

20

20-2464T2

FUEL GAUGE

GAUGE - fuel level

1шт.

21

20-2465T2

GAUGE ASSY.

GAUGE - water temperature, engine

1шт.

22

60-6145T1

OIL PRESSURE GAUGE

GAUGE - oil pressure, engine

1шт.

23

23731R1

BULB,C2F, #1893, 14V

- lamp, No.1893

5шт.

24

60-6292T4

HARNESS

- instrument panel lamp

1шт.

25

9411893

LOCK NUT,#10-32, GB

NUT - hex, self-locking, No. 10 NF

4шт.

26

31-2740

ELBOW

- 90 degree, 1/8 PT x 7/16 inch thread

1шт.

27

31-2784

HOSE

- 1067 mm (42 inch) long

1шт.

28

60-6330T1

ASSEMBLY

SWITCH - oil pressure, engine

1шт.

29

218-1557

HYD CONNECTOR,37º, Sw, 7/16"-20 x 1/8"-27 NPTF

ADAPTER - straight, 7/16-20 swivel x 1/8 inch female PT

1шт.

30

218-5478

TEE,7/16" - 20 JIC x 7/16" - 20 JIC x 7/16" - 20 JIC

- 7/16-20 inch flare branch x flare x swivel

1шт.

31

218-671

FITTING,Blkhd, 7/16"-20, 37 Degree x 7/16"-20, 37 Degree

ADAPTER - straight, 7/16-20 inch flare x bulkhead flare

1шт.

32

64-146

PLUG

- hole, access

1шт.

34

31-3024

HOSE

- 2743 mm (108 inch) long

1шт.

35

515-23190

CLAMP,3/4", Insul, 3/8" Bolt

P-type 3/4", Insul, 3/8" Bolt

2шт.

36

218-481

ELBOW,90 Degree Elbow, 7/16" - 20 Male JIC x 1/8" - 27 Male NPTF

- 90 degree, 7/16-20 flare x 1/8 inch PT

1шт.

37

50-2037T1

STRAP

- tie

1шт.

Выбрано товаров: 30