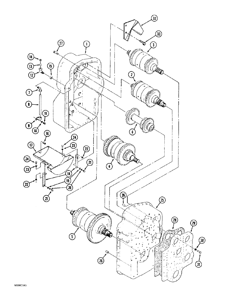
Запчасти Case IH 9350 (6-014) - POWER SHIFT TRANSMISSION ASSEMBLY, HOUSINGS AND CLUTCHES (06) - POWER TRAIN

Схема запчастей Case IH 9350 - (6-014) - POWER SHIFT TRANSMISSION ASSEMBLY, HOUSINGS AND CLUTCHES (06) - POWER TRAIN
5
18
11
27
23
2
24
25
6
30
10
15
3
31
14
1
13
19
28
12
20
22
32
16
29
26
8
22
9
26
7
4
33
21
17
21
23
24
FIT
1:1
100%

Артикул

Название

Примечание

Количество

90-8453T91

TRANSMISSION

ASSEMBLY - powershift, parts list Figure 6-6 - 6-34, continued, replaces 90-7015T91 transmission, Includes: Ref. 1 - 33

1шт.

1

33-1560T1

HOUSING

- transmission, rear

1шт.

2

S2000S02F

CLUTCH & DISC ASSY

PACK ASSEMBLY - clutch, input, parts list Figure 6-18, replaces S2000S01A pack

1шт.

3

S3000S02F

CLUTCH HOUSING

PACK ASSEMBLY - clutch, second, parts list Figure 6-20, replaces S3000S01F pack

1шт.

4

S5000S00F

CLUTCH HOUSING

PACK ASSEMBLY - clutch, 9 inch, parts list Figure 6-24

1шт.

5

S4000S02F

CLUTCH HOUSING

PACK ASSEMBLY - clutch, 8 inch, parts list Figure 6-22

1шт.

6

33-1436T1

SHAFT

- compound, assembly no longer available, order component parts separately, parts list Figure 6-16

1шт.

7

33-1472T1

ELBOW

- breather tube

1шт.

8

33-1471T1

TUBE

- breather

1шт.

9

33-1473T1

MOUNTING CLIP

CLAMP - breather tube

1шт.

10

892-11012

LOCK WASHER,M12

WASHER, LOCK, M12

1шт.

11

SM8124225

BOLT

BOLT - hex, 12 mm - 1.25 x 25 mm

1шт.

12

33-1455T1

VENTILATION PIPE

ELBOW - 90 degree, breather filter

1шт.

13

33-1454T1

BREATHER

FILTER - breather

1шт.

14

SAS99900F

PLUG

- retension, filter element

1шт.

15

SM8911246

NUT

- hex, 16 mm - 1.5

1шт.

16

33-1423T1

PIN, ROLL

PIN - roll

1шт.

17

33-1425T1

PAN, ENGINE OIL

BAFFLE - oil

1шт.

18

33-1424T1

STRAP

- oil baffle

2шт.

19

895-11012

WASHER,13.5mm ID x 24mm OD x 2.5mm Thk

- flat, 13.5 x 24 x 2.5 mm

2шт.

20

892-11012

LOCK WASHER,M12

WASHER, LOCK, M12

2шт.

21

SM8124225

BOLT

BOLT - hex, 12 mm - 1.25 x 25 mm

2шт.

22

825-11410

NUT,M10 x 1.25, Cl 8

2шт.

24

SM8124020

BOLT

BOLT - hex, 10 - 1.25 x 20 mm

2шт.

25

S1400S01F

HOUSING

- transmission, front

1шт.

26

33-1467T1

DOWEL

PIN - dowel

2шт.

27

SM8121240

BOLT

BOLT - hex, 12 - 1.75 x 40 mm

30шт.

28

S1590S01F

GASKET

- oil supply plate

1шт.

Part of transmission rebuild gasket kit P/N 33-1559T2

1шт.

29

S1580S00F

LARGE PLATE

PLATE - oil supply

1шт.

30

892-11010

LOCK WASHER,M10

7шт.

31

514-738

BOLT,Hex, M10 x 1.25 x 45mm, Cl 8.8, Full Thd

7шт.

32

90-8403T1

CHANNEL

GUTTER - oil

1шт.

33

614-6012

BOLT,Hex, M6 x 1 x 12mm, Cl 8.8, Full Thd

2шт.

33-1559T2

GASKET

KIT - gasket, transmission rebuild, Includes: Ref. 28. Also see Figures 6-6 - 6-28

1шт.

23

895-11010

WASHER,11mm ID x 20mm OD x 2mm Thk

- flat, 11 x 20 x 2 mm

2шт.

Выбрано товаров: 36