Запчасти Case IH 9350 (6-064) - 12 SPEED SYNCHROSHIFT TRANSMISSION ASSEMBLY, CONTROL VALVE (06) - POWER TRAIN

Схема запчастей Case IH 9350 - (6-064) - 12 SPEED SYNCHROSHIFT TRANSMISSION ASSEMBLY, CONTROL VALVE (06) - POWER TRAIN
5
14
5
21
9
3
8
19
23
16
5
20
24
11
15
4
18
2
11
13
5
12
10
1
7
17
3
6
22
5
FIT
1:1
100%

Артикул

Название

Примечание

Количество

90-7774T91

TRANSMISSION

ASSEMBLY - manual shift, parts list Figures 6-36 - 6-66, Includes: Ref. 1 - 24

1шт.

90-8200T91

VALVE

ASSEMBLY - control, Includes: Ref. 1 - 24

1шт.

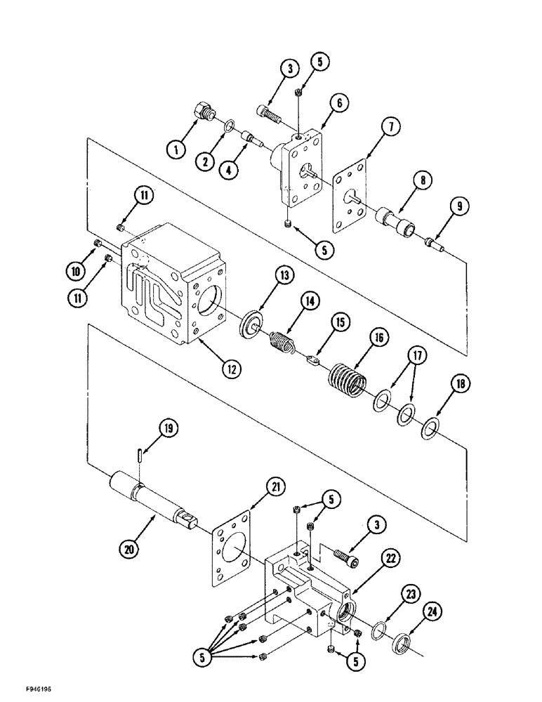
1

S6170S00F

PLUG

- hex, valve

1шт.

2

S6180S00F

O-RING

- plug

1шт.

Part of transmission gasket kit P/N 90-8401T91.

1шт.

3

S6260S00F

SCREW

BOLT - socket head, special

8шт.

4

S6010S00F

SPOOL

- reducing

1шт.

5

S6220S00F

PLUG

- valve

11шт.

6

S6020S00F

COVER

- valve

1шт.

7

S6030S00F

GASKET

- valve cover

1шт.

Part of transmission gasket kit P/N 90-8401T91.

1шт.

8

S6040S00F

SPOOL

- modulator

1шт.

9

S6160S00F

PIN

POPPET - spool, valve

1шт.

10

S6240S00F

ORIFICE

PLUG - orifice

1шт.

11

S6230S00F

ORIFICE

PLUG - orifice

2шт.

12

90-8016T1

VALVE BODY

BODY - control valve

1шт.

13

S6060S00F

SPRING SEAT

SEAT - spring

1шт.

14

90-8199T1

SPRING

- tension

1шт.

15

S6080S00F

LINK, CONNECTING

LINK - connecting

1шт.

16

S6150S00F

SPRING

- compression

1шт.

17

S6140S00F

SHIM,1.0mm Thk

(30 mm) 1.0mm Thk

1шт.

18

S6200S00F

SPACER

- 31 x 1.2 mm thick

1шт.

19

S6130S00F

PIN, ROLL

PIN - roll

1шт.

20

S6100S00F

HOUSING

STEM - control

1шт.

21

90-8017T1

GASKET

- cover

1шт.

Part of transmission gasket kit P/N 90-8401T91.

1шт.

22

90-8018T1

COVER

- control stem

1шт.

23

S6120S00F

O-RING

- control stem

1шт.

Part of transmission gasket kit P/N 90-8401T91.

1шт.

24

S6110S00F

OIL SEAL

- control stem

1шт.

Part of transmission gasket kit P/N 90-8401T91.

1шт.

90-7927T92

GASKET KIT

KIT - gasket, transmission, Includes Figures 6-36 - 6-66, Serial Range: -JEE0071001

1шт.

90-8401T91

GASKET KIT

KIT - gasket, transmission, Includes: Refs. 2, 7, 21, 23 and 24. Also see Figures 6-36 - 6-66, Start Serial: JEE0071001

1шт.

Выбрано товаров: 0