Запчасти Case IH 9350 (6-136) - PTO CONTROLS (06) - POWER TRAIN

Схема запчастей Case IH 9350 - (6-136) - PTO CONTROLS (06) - POWER TRAIN
24
26
4
47
31
15
14
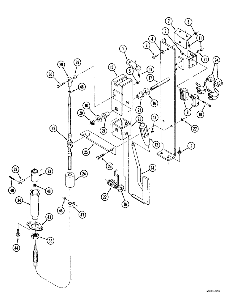
1
25
27
46
5
48
17
30
6
3
44
33
11
20
9
9a
7
28
13
29
43
34
23
38
39
16
12
21
16
5
11
32
10
46
22
16
40
2
21
FIT
1:1
100%

Артикул

Название

Примечание

Количество

1

60-4269T1

LARGE PLATE

STRIP - wear, lever

1шт.

2

231-1445

NUT,5/16"-18, GB

NUT - hex, self-locking, 5/16 inch NC

2шт.

3

225-14104

NUT,#4-40

2шт.

4

495-21031

WASHER,1/4"

- flat, 5/16 x 3/4 x 1/16 inch

1шт.

5

231-1444

NUT,1/4"-20, GB

NUT, LOCK, 1/4"-20, GB

2шт.

6

426-412

BOLT,Hex, 1/4" - 20 x 3/4", Gr 8

- hex, 1/4 NC x 3/4 inch, grade 8

1шт.

7

60-4270T1

SUPPORT

BRACKET - support, console to mounting bracket

1шт.

8

60-5608T1

SUPPORT

BRACKET - micro switch mounting

1шт.

20-2340T91

IGNITION SWITCH

SWITCH ASSEMBLY - micro, neutral safety and PTO tachometer, no longer available, order component parts separately, Includes: Ref. 9 and 9A

2шт.

9

20-2333T1

SWITCH

- micro

1шт.

9a

60-2666T1

ELECTRICAL WIRE

WIRE - switch

1шт.

10

470-10428

SCREW,Slotted Pan Hd, #4-40 x 1 3/4"

- machine, pan head slotted, No. 4 NC x 1-3/4 inch

2шт.

11

86632551

NUT,#10-24, GB

NUT, LOCK, #10-24, GB

6шт.

12

60-4272T1

HANDLE

KNOB - lever, PTO actuating

1шт.

13

19-5798

SET SCREW

SCREW - set, No. 8 NC

1шт.

14

60-4265T2

LEVER

- actuating, PTO

1шт.

15

60-4296T2

SUPPORT

BRACKET - cable actuating

1шт.

16

496-11053

WASHER,17/32" x 1 1/16" x .095", HDN

3шт.

17

60-5858T1

SUPPORT

BRACKET - mounting, PTO controls

1шт.

20

231-1448

NUT,1/2"-13, GB

- hex, self-locking, 1/2 inch NC

1шт.

21

90-4367T1

BRONZE BUSHING

BUSHING - pivot

2шт.

22

60-4294T1

SPRING

- tension

1шт.

23

60-4293T1

JOINT

TRUNNION - lever

1шт.

24

60-6066T1

FOAM

SEAL - foam, cab, Serial Range: floor-cable

1шт.

25

60-5020T1

SUPPORT

BRACKET - cable mounting

1шт.

26

426-512

BOLT,Hex, 5/16" - 18 x 3/4", Gr 8

- hex, 5/16 NC x 3/4 inch, grade 8

2шт.

27

19-5777

LOCK NUT

- hex, special

2шт.

28

60-5021T1

SPACER,0.282" ID x 0.500" OD x 0.312" Thk

- rod end

1шт.

29

L53928

BALL JOINT

JOINT - ball, cable, PTO, replaces A146456 joint

1шт.

30

426-420

BOLT,Hex, 1/4" - 20 x 1-1/4", Gr 8

- hex, 1/4 NC x 1-1/4 inch, grade 8

1шт.

31

495-31022

WASHER,#10

2шт.

32

60-5022T1

CABLE

- actuating, PTO

1шт.

33

60-6240T1

END FITTING

YOKE - cable

1шт.

34

90-8047T1

SLEEVE

GUARD - cable, replaces 2-4692T1 guard

1шт.

38

425-1512

JAM NUT,Jam, 3/4"-10, G5

- hex, jam, 3/4 inch NF

1шт.

39

19-6041

PIN

- headless

1шт.

40

32-212

COTTER PIN,1/32" x 3/4"

PIN, SPLIT (COTTER), 1/32" x 3/4"

2шт.

43

90-8048T1

FLANGE

RETAINER - cable guard

1шт.

44

458-412

BOLT,Hex, 1/4" - 20 x 3/4", Gr 5

- hex flange, 1/4 NC x 3/4 inch

2шт.

45

60-5609T1

SPACER

- switch mounting

1шт.

46

425-114

NUT,1/4"-28, G5

2шт.

47

515-23127

CLAMP,1/2", Insul, 3/8" Bolt

P-type, Tube 1/2", Insul, 3/8" Bolt

1шт.

48

425-105

NUT,5/16"-18, G5

- hex, 5/16 inch NC

1шт.

35-1827T93

KIT - PTO, hydraulic, without three point hitch, order from Machinery Price List.

1шт.

Выбрано товаров: 0