Запчасти Case IH 9350 (6-146) - PTO CLUTCH ASSEMBLY, CONTROL VALVE ASSEMBLY (06) - POWER TRAIN

Схема запчастей Case IH 9350 - (6-146) - PTO CLUTCH ASSEMBLY, CONTROL VALVE ASSEMBLY (06) - POWER TRAIN
20
8
7
1
9
25
10
24
23
26
5
6
17
4
18
15
2
13
24
12
14
26
16
19
25
22
24
2
FIT
1:1
100%

Артикул

Название

Примечание

Количество

90-7045T93

REAR PTO ASSY

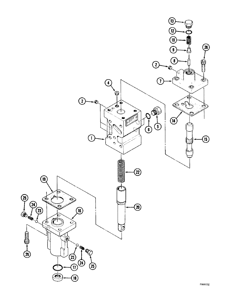
CLUTCH ASSEMBLY - PTO, includes parts listed on Figures 6-140 - 6-146, continued, Includes: Ref. 1 - 26

1шт.

S9500S00F

VALVE

ASSEMBLY - PTO control, Includes: Ref. 1 - 26

1шт.

1

S9580S00F

BODY

- modulator

1шт.

2

S9720S00F

PLUG

- pipe

4шт.

4

S9730S00F

PLUG

- orifice

1шт.

5

S1390S00F

PLUG

- O-ring boss

2шт.

6

S1320S00F

O-RING

- plug

2шт.

7

S9610S00F

COVER

- valve

1шт.

8

S9620S00F

PISTON

SPOOL - reducing, valve

1шт.

9

S9640S00F

PIN

- centering

1шт.

10

S9650S00F

SPRING

- compression

1шт.

12

S9660S00F

GASKET

O-RING - plug

1шт.

13

S9670S00F

PLUG

- O-ring boss

1шт.

14

S9600S00F

GASKET

- cover

1шт.

Part of PTO clutch overhaul kit P/N S9870S01F

1шт.

15

S9590S00F

PISTON

SPOOL - modulator

1шт.

16

S9550S00F

CAP

COVER - control stem

1шт.

17

S9540S00F

GASKET

O-RING - seal

1шт.

18

S9530S00F

SEAL

- control stem

1шт.

19

S9570S00F

GASKET

- stem cover

1шт.

Part of PTO clutch overhaul kit P/N S9870S01F

1шт.

20

S9520S00F

STEM

- control

1шт.

22

S9560S00F

SPRING

- compression

1шт.

23

S9690S00F

BALL

- steel

2шт.

24

S9700S00F

SPRING

- compression

2шт.

25

S9710S00F

PLUG

- hex

2шт.

26

S9680S00F

SCREW

BOLT - hex

8шт.

S9870S01F

KIT

- overhaul, PTO clutch, includes: Refs. 14 and 19. Also includes Figures 6-140 - 6-146.

1шт.

Выбрано товаров: 0