Запчасти Case IH 9350 (8-38) - THREE POINT HITCH HYDRAULICS, MANUAL CONTROLLED (08) - HYDRAULICS

Схема запчастей Case IH 9350 - (8-38) - THREE POINT HITCH HYDRAULICS, MANUAL CONTROLLED (08) - HYDRAULICS
37
34
6
3
2
31
15
33
15
18
36
6
35
6
29
8
16
38
30
2
17
30
6
22
34
34
14
1
22
33
30
3
34
33
7
23
32
1
29
21
25
24
15
FIT
1:1
100%

Артикул

Название

Примечание

Количество

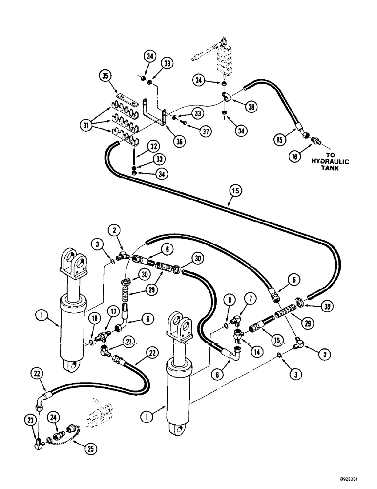
1

50-3499T91

CYLINDER ASSY.

CYLINDER ASSEMBLY - three point hitch, parts list Figure 8-50

2шт.

2

218-5136

ELBOW,45 Degree Elbow, 3/4" - 16 Male JIC x 3/4" - 16 Male ORB

- 45 degree, 3/4-16 inch flare x adj O-ring boss, Incl. Ref 3

2шт.

3

237-6008

O-RING,0.087" Thk x 0.644" ID, -908, Cl 6, 90 Duro

8-1, 90 Duro, .644" ID x .087" Thk

2шт.

6

31-3041

HOSE

- 1702 mm (67 inch), Serial Range: long,-cylinder

2шт.

7

218-5106

90 ELBOW,90 Degree Elbow, 3/4" - 16 Male JIC x 3/4" - 16 Male ORB

- 90 degree, 3/4-16 inch flare x adj O-ring boss, Includes: Ref. 8

1шт.

8

237-6008

O-RING,0.087" Thk x 0.644" ID, -908, Cl 6, 90 Duro

8-1, 90 Duro, .644" ID x .087" Thk

1шт.

14

218-845

TEE,37 Degree, 3/4"-16 x 3/4"-16, Fem Sw Run

- 3/4-16 inch flare branch x flare x swivel

1шт.

15

31-2910

HOSE

- 2870 mm (113 inch), Serial Range: long,-tank

1шт.

16

218-456

HYD CONNECTOR,3/4" - 16 Male JIC x 1/2" - 14 Male NPTF

ADAPTER - straight, 3/4-16 flare x 1/2 inch PT

1шт.

17

218-5242

TEE,3/4" - 16 Male JIC x 3/4" - 16 Male JIC x 3/4" - 16 Male ORB

- 3/4-16 inch flare branch x flare x adj O-ring boss, Includes: Ref. 18

1шт.

18

237-6008

O-RING,0.087" Thk x 0.644" ID, -908, Cl 6, 90 Duro

8-1, 90 Duro, .644" ID x .087" Thk

1шт.

21

218-5230

ELBOW,90 Degree, 3/4"-16, 37 Degree x 3/4"-16, 37 Degree Fem Sw

- 90 degree, 3/4-16 inch flare x swivel

1шт.

22

31-1288

HOSE

- 610 mm (24 inch), Serial Range: long,-coupler

1шт.

23

218-493

ELBOW,90 Degree Elbow, 3/4" - 16 Male JIC x 1/2" - 14 Male NPTF

- 90 degree, 3/4-16 flare x 1/2 inch PT

1шт.

24

1-7141

FITTING

CARTRIDGE - coupler, remote

1шт.

25

1-7142

CAP

- dust, coupler, rubber

1шт.

29

50-3087T1

CONDUIT

- hose protective, 1499 mm (59 inch) long, cut from S119717X bulk conduit, see below

3шт.

30

19-135

CABLE TIE

STRAP - tie, nylon

9шт.

31

50-3339T1

SHIN

CLAMP - hose

3шт.

32

50-3343T1

STUD

- clamp

2шт.

33

495-21044

WASHER,3/8"

(7/16 x 1 x 5/64 inch) 3/8"

6шт.

34

425-105

NUT,5/16"-18, G5

- hex, 5/16 inch NC

8шт.

35

50-3449T1

LARGE PLATE

PLATE - clamp mounting, replaces 50-3340T1 plate

1шт.

36

90-7352T1

SUPPORT

BRACKET - hose support

1шт.

37

413-512

BOLT,Hex, 5/16" - 18 x 3/4", Gr 5

- hex, 5/16 NC x 3/4 inch

4шт.

38

515-23222

CLAMP,7/8", Insul, 3/8" Bolt

P-type, Hose 7/8", Insul, 3/8" Bolt

1шт.

S119717X

CONDUIT

- bulk, 25 (1) ID x 4877 mm (192 inch) long

1шт.

Выбрано товаров: 27