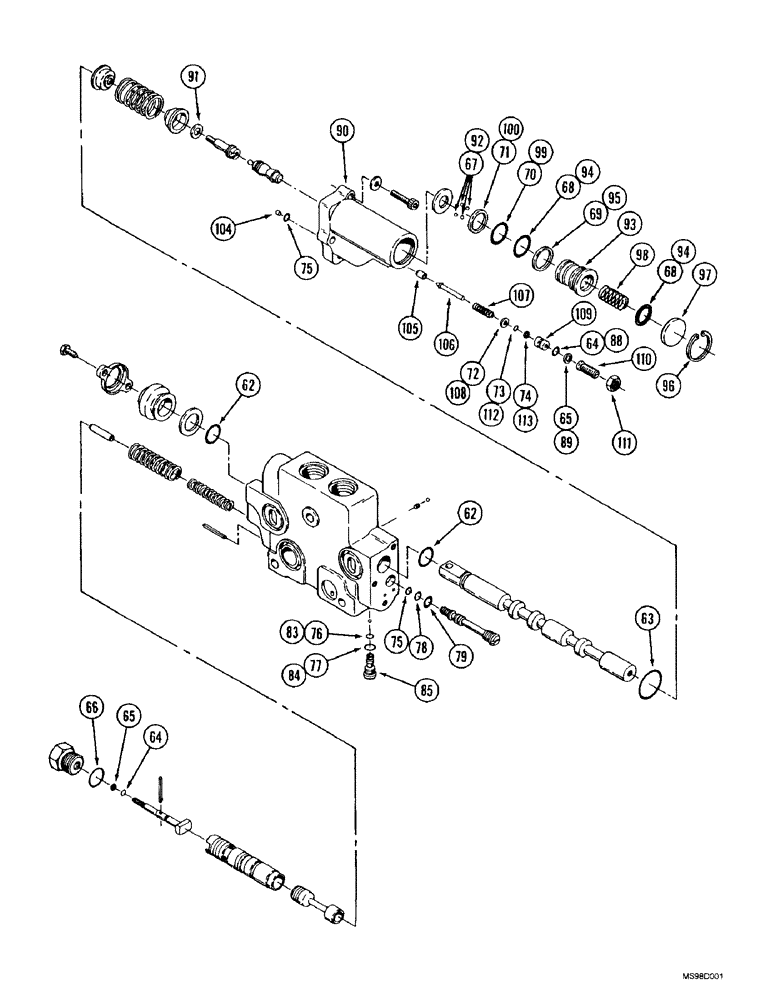
Запчасти Case IH 9350 (8-66) - HYDRAULIC REMOTE VALVE SECTION, FIRST, SECOND, THIRD OR FOURTH SECTIONS WITH FLOAT ONLY, (CONT) (08) - HYDRAULICS

Схема запчастей Case IH 9350 - (8-66) - HYDRAULIC REMOTE VALVE SECTION, FIRST, SECOND, THIRD OR FOURTH SECTIONS WITH FLOAT ONLY, (CONT) (08) - HYDRAULICS
92
78
111
90
112
67
100
109
74
96
113
107
83
106
88
64
89
70
77
72
91
62
75
94
95
76
62
85
79
65
97
94
99
71
69
84
73
105
64
65
104
68
63
66
110
98
68
108
75
93
FIT
1:1
100%

Артикул

Название

Примечание

Количество

50-2302T91

ASSEMBLY

SECTION ASSEMBLY - valve, float, continued, Includes: Ref. 62 - 110 and 1 - 58 on Fig. 8-64

1шт.

50-2388T1

SEAL KIT

KIT - seal, detent, primary and secondary, Includes: Ref. 62 - 79

1шт.

62

238-5116

O-RING,0.103" Thk x 0.75" ID, -116, Cl 5, 75 Duro

Spool -116, 70 Duro, .737" ID x .103" Thk

2шт.

63

238-5026

O-RING,0.07" Thk x 1.239" ID, -26, Cl 5, 75 Duro

-026, 70 Duro, 1.239" ID x .070" Thk, Detent housing

1шт.

64

238-5008

O-RING,0.07" Thk x 0.18" ID, -8, Cl 5, 75 Duro

-008, 70 Duro, .176" ID x .070" Thk

2шт.

65

D71056

RING,Split, 4.47mm ID x 7.21mm OD x 1.32mm Thk

- backup

2шт.

66

237-6010

O-RING,0.097" Thk x 0.755" ID, -910, Cl 6, 90 Duro

10-1, 90 Duro, .755" ID x .097" Thk, Plug

1шт.

67

211-1007

BALL,7/32" Dia

- chrome alloy steel, 7/32", Gr 24

8шт.

68

238-5022

O-RING,0.07" Thk x 0.99" ID, -22, Cl 5, 75 Duro

-022, 70 Duro, .989" ID x .070" Thk, Kickout piston

1шт.

69

A52208

SEAL,25.98mm ID x 28.73mm OD x 1.32mm Thk

RING - backup

1шт.

70

238-5021

O-RING,0.07" Thk x 0.926" ID, -21, Cl 5, 75 Duro

-021, 70 Duro, .926" ID x .070" Thk, Kickout piston

1шт.

71

L35295

SEALING RING,Split, 24.38mm ID x 27.13mm OD x 1.32mm Thk

RING - backup

1шт.

72

A48935

WASHER

- poppet valve, spring

1шт.

73

238-5006

O-RING,0.07" Thk x 0.114" ID, -6, Cl 5, 75 Duro

-006, 70 Duro, .114" ID x .070" Thk, Poppet

1шт.

74

A52378

RING,Split, 3.56mm ID x 6.3mm OD x 1.32mm Thk

- backup

1шт.

75

238-6009

O-RING,0.07" Thk x 0.208" ID, -9, Cl 6, 90 Duro

3шт.

76

238-6008

O-RING,0.07" Thk x 0.176" ID, -8, Cl 6, 90 Duro

Shuttle, secondary -008, 90 Duro, .176" ID x .070" Thk

1шт.

78

238-6010

O-RING,0.07" Thk x 0.239" ID, -10, Cl 6, 90 Duro

Shuttle, primary -010, 90 Duro, .239" ID x .070" Thk

1шт.

77

237-6003

O-RING,0.064" Thk x 0.301" ID, -903, Cl 6, 90 Duro

3-1, .301" ID x .064" Thk, Shuttle, secondary

1шт.

A47210

PLUG

SHUTTLE ASSEMBLY - secondary, no longer available, order component parts separately

1шт.

R30185

SEAL KIT

KIT - seal, Includes: Ref. 83 and 84

1шт.

83

238-6008

O-RING,0.07" Thk x 0.176" ID, -8, Cl 6, 90 Duro

Shuttle, secondary -008, 90 Duro, .176" ID x .070" Thk

1шт.

84

237-6003

O-RING,0.064" Thk x 0.301" ID, -903, Cl 6, 90 Duro

3-1, .301" ID x .064" Thk, Shuttle, secondary

1шт.

85

A47204

PLUG

BODY - shuttle, secondary

1шт.

338703A1

KIT

- housing, detent, replaces A48940 housing, Includes: Ref. 88 - 110

1шт.

88

238-5008

O-RING,0.07" Thk x 0.18" ID, -8, Cl 5, 75 Duro

-008, 70 Duro, .176" ID x .070" Thk, Poppet

1шт.

89

D71056

RING,Split, 4.47mm ID x 7.21mm OD x 1.32mm Thk

- backup

1шт.

90

NSS

NOT SOLD SEPARAT

HOUSING - detent

1шт.

91

A48931

WASHER

- guide

1шт.

Balloon is pointing to incorrect part. Should be pointing to washer with no Ref #, just to left of detent balls. On previous figure, number assigned Ref #7, is correct.

1шт.

92

211-1007

BALL,7/32" Dia

- chrome alloy steel, 7/32", Gr 24

8шт.

93

A48932

PISTON

- kickout

1шт.

94

238-5022

O-RING,0.07" Thk x 0.99" ID, -22, Cl 5, 75 Duro

-022, 70 Duro, .989" ID x .070" Thk, Piston

2шт.

95

A52208

SEAL,25.98mm ID x 28.73mm OD x 1.32mm Thk

RING - backup

1шт.

96

100-21118

SNAP RING,1.188", Int, #118

Ring, Snap, 1.188", Int, #118

1шт.

97

A48933

RING

RETAINER - piston

1шт.

98

A48934

SPRING

- detent

1шт.

99

238-5021

O-RING,0.07" Thk x 0.926" ID, -21, Cl 5, 75 Duro

-021, 70 Duro, .926" ID x .070" Thk, Piston

1шт.

100

L35295

SEALING RING,Split, 24.38mm ID x 27.13mm OD x 1.32mm Thk

RING - backup

1шт.

101

NSS

NOT SOLD SEPARAT

PLUG - orifice

1шт.

102

NSS

NOT SOLD SEPARAT

SEAT - pilot float

1шт.

103

NSS

NOT SOLD SEPARAT

POPPET - relief

1шт.

Part of detent seal kit P/N A48942

1шт.

104

NSS

NOT SOLD SEPARAT

SPRING - valve, poppet

1шт.

Part of detent seal kit P/N A48942

1шт.

105

A48935

WASHER

- poppet valve, spring

1шт.

106

A48936

GOVERNOR

PISTON - regulator

1шт.

107

A52437

SET SCREW,3/8" - 24 x 1", Gr 7

- adjusting

1шт.

108

425-156

JAM NUT,Jam, 3/8"-24, G5

- hex, jam, 3/8 inch NF

1шт.

109

238-5006

O-RING,0.07" Thk x 0.114" ID, -6, Cl 5, 75 Duro

-006, 70 Duro, .114" ID x .070" Thk, Poppet

1шт.

110

A52378

RING,Split, 3.56mm ID x 6.3mm OD x 1.32mm Thk

- backup

1шт.

A48942

KIT

- seal, detent, Includes: Refs. 103 and 104. Also all references marked in figures 8-66 - 8-74 and 8-78

1шт.

79

237-6004

O-RING,0.072" Thk x 0.351" ID, -904, Cl 6, 90 Duro

4-1, 90 Duro, .351" ID x .072" Thk, Shuttle, primary

1шт.

Выбрано товаров: 53