Запчасти Case IH 9350 (8-74) - HYDRAULIC REMOTE VALVE SECTION, SECOND AND THIRD SECTIONS WITH B PORT LOAD LOCK AND FLOAT, (CONT) (08) - HYDRAULICS

Схема запчастей Case IH 9350 - (8-74) - HYDRAULIC REMOTE VALVE SECTION, SECOND AND THIRD SECTIONS WITH B PORT LOAD LOCK AND FLOAT, (CONT) (08) - HYDRAULICS
64
65
74
64
83
84
110
93
79
69
78
105
71
73
113
68
101
66
85
92
90
75
109
72
96
108
99
106
67
63
89
68
62
65
94
77
76
97
94
100
98
62
75
91
70
111
88
95
104
112
FIT
1:1
100%

Артикул

Название

Примечание

Количество

50-3563T91

HYD VALVE SECTION

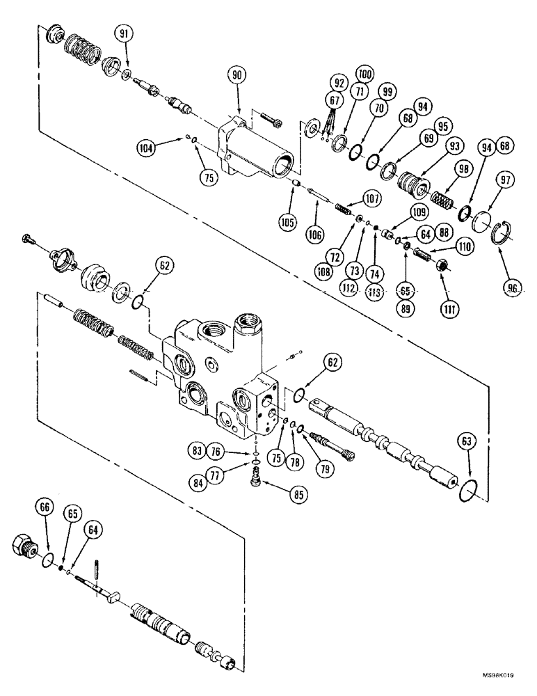
SECTION ASSEMBLY - "B" port load lock and float, continued, Includes: Ref. 55 - 99 and 1 - 51 on Fig. 8-72

1шт.

A47209

SPOOL

SHUTTLE ASSEMBLY - primary, continued

1шт.

50-1655T1

SEAL KIT

KIT - seal, primary shuttle, no longer available, order component parts separately, Includes: Ref. 55 - 57

1шт.

55

238-6009

O-RING,0.07" Thk x 0.208" ID, -9, Cl 6, 90 Duro

1шт.

56

238-6010

O-RING,0.07" Thk x 0.239" ID, -10, Cl 6, 90 Duro

1шт.

58

A47776

SPOOL

SHUTTLE - primary

1шт.

50-2388T1

SEAL KIT

KIT - seal, detent, primary and secondary, Includes: Ref. 62 - 79

1шт.

62

238-5116

O-RING,0.103" Thk x 0.75" ID, -116, Cl 5, 75 Duro

Spool -116, 70 Duro, .737" ID x .103" Thk

2шт.

63

238-5026

O-RING,0.07" Thk x 1.239" ID, -26, Cl 5, 75 Duro

-026, 70 Duro, 1.239" ID x .070" Thk, Detent housing

1шт.

64

238-5008

O-RING,0.07" Thk x 0.18" ID, -8, Cl 5, 75 Duro

-008, 70 Duro, .176" ID x .070" Thk

2шт.

65

D71056

RING,Split, 4.47mm ID x 7.21mm OD x 1.32mm Thk

- backup

2шт.

66

237-6010

O-RING,0.097" Thk x 0.755" ID, -910, Cl 6, 90 Duro

10-1, 90 Duro, .755" ID x .097" Thk, Plug

1шт.

67

211-1007

BALL,7/32" Dia

- chrome alloy steel, 7/32", Gr 24

8шт.

68

238-5022

O-RING,0.07" Thk x 0.99" ID, -22, Cl 5, 75 Duro

-022, 70 Duro, .989" ID x .070" Thk, Kickout piston

1шт.

69

A52208

SEAL,25.98mm ID x 28.73mm OD x 1.32mm Thk

RING - backup

1шт.

70

238-5021

O-RING,0.07" Thk x 0.926" ID, -21, Cl 5, 75 Duro

-021, 70 Duro, .926" ID x .070" Thk, Kickout piston

1шт.

71

L35295

SEALING RING,Split, 24.38mm ID x 27.13mm OD x 1.32mm Thk

RING - backup

1шт.

72

A48935

WASHER

- poppet valve, spring

1шт.

73

238-5006

O-RING,0.07" Thk x 0.114" ID, -6, Cl 5, 75 Duro

-006, 70 Duro, .114" ID x .070" Thk, Poppet

1шт.

74

A52378

RING,Split, 3.56mm ID x 6.3mm OD x 1.32mm Thk

- backup

1шт.

75

238-6009

O-RING,0.07" Thk x 0.208" ID, -9, Cl 6, 90 Duro

3шт.

76

238-6008

O-RING,0.07" Thk x 0.176" ID, -8, Cl 6, 90 Duro

Shuttle, secondary -008, 90 Duro, .176" ID x .070" Thk

1шт.

77

237-6003

O-RING,0.064" Thk x 0.301" ID, -903, Cl 6, 90 Duro

3-1, .301" ID x .064" Thk, Shuttle, secondary

1шт.

78

238-6010

O-RING,0.07" Thk x 0.239" ID, -10, Cl 6, 90 Duro

Shuttle, primary -010, 90 Duro, .239" ID x .070" Thk

1шт.

A47210

PLUG

SHUTTLE ASSEMBLY - secondary, no longer available, order component parts separately

1шт.

R30185

SEAL KIT

KIT - seal, Includes: Ref. 83 and 84

1шт.

83

238-6008

O-RING,0.07" Thk x 0.176" ID, -8, Cl 6, 90 Duro

Shuttle, secondary -008, 90 Duro, .176" ID x .070" Thk

1шт.

84

237-6003

O-RING,0.064" Thk x 0.301" ID, -903, Cl 6, 90 Duro

3-1, .301" ID x .064" Thk, Shuttle, secondary

1шт.

85

A47204

PLUG

BODY - shuttle, secondary

1шт.

338703A1

KIT

- housing, detent, replaces A48940 housing, Includes: Ref. 88 - 99

1шт.

88

238-5008

O-RING,0.07" Thk x 0.18" ID, -8, Cl 5, 75 Duro

-008, 70 Duro, .176" ID x .070" Thk, Poppet

1шт.

89

D71056

RING,Split, 4.47mm ID x 7.21mm OD x 1.32mm Thk

- backup

1шт.

90

NSS

NOT SOLD SEPARAT

HOUSING - detent

1шт.

91

A48931

WASHER

- guide

1шт.

92

211-1007

BALL,7/32" Dia

- chrome alloy steel, 7/32", Gr 24

8шт.

93

A48932

PISTON

- kickout

1шт.

94

238-5022

O-RING,0.07" Thk x 0.99" ID, -22, Cl 5, 75 Duro

-022, 70 Duro, .989" ID x .070" Thk, Piston

2шт.

95

A52208

SEAL,25.98mm ID x 28.73mm OD x 1.32mm Thk

RING - backup

1шт.

96

100-21118

SNAP RING,1.188", Int, #118

Ring, Snap, (Replaces A30975) 1.188", Int, #118

1шт.

97

NSS

NOT SOLD SEPARAT

RETAINER - piston

1шт.

98

A48934

SPRING

- detent

1шт.

99

238-5021

O-RING,0.07" Thk x 0.926" ID, -21, Cl 5, 75 Duro

-021, 70 Duro, .926" ID x .070" Thk, Piston

1шт.

99

L35295

SEALING RING,Split, 24.38mm ID x 27.13mm OD x 1.32mm Thk

RING - backup

1шт.

99

A47658

PLUG

- orifice

1шт.

99

A47201

SEAT

- pilot float

1шт.

99

NSS

NOT SOLD SEPARAT

POPPET - relief

1шт.

99

NSS

NOT SOLD SEPARAT

SPRING - valve, poppet

1шт.

99

A48935

WASHER

- poppet valve, spring

1шт.

99

A48936

GOVERNOR

PISTON - regulator

1шт.

99

A52437

SET SCREW,3/8" - 24 x 1", Gr 7

- adjusting

1шт.

99

425-156

JAM NUT,Jam, 3/8"-24, G5

- hex, jam, 3/8 inch NF

1шт.

99

238-5006

O-RING,0.07" Thk x 0.114" ID, -6, Cl 5, 75 Duro

-006, 70 Duro, .114" ID x .070" Thk, Poppet

1шт.

99

A52378

RING,Split, 3.56mm ID x 6.3mm OD x 1.32mm Thk

- backup

1шт.

A48942

KIT

- seal, detent, includes parts on Figures 8-66 - 8-72

1шт.

57

237-6004

O-RING,0.072" Thk x 0.351" ID, -904, Cl 6, 90 Duro

4-1, 90 Duro, .351" ID x .072" Thk

1шт.

79

237-6004

O-RING,0.072" Thk x 0.351" ID, -904, Cl 6, 90 Duro

4-1, 90 Duro, .351" ID x .072" Thk, Shuttle, primary

1шт.

Выбрано товаров: 56