Запчасти Case IH 9350 (9-010) - QUICK HITCH COUPLER (09) - CHASSIS/ATTACHMENTS

Схема запчастей Case IH 9350 - (9-010) - QUICK HITCH COUPLER (09) - CHASSIS/ATTACHMENTS
16
11
10
15
2
3
3
14
5
4
10
1
6
12
7
4
9
8
13
FIT
1:1
100%

Артикул

Название

Примечание

Количество

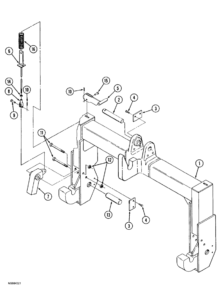
1

70-6430T1

ATTACHMENT

HITCH - quick attachment

1шт.

2

70-6452T1

PIN

- mounting, 4-15/16 inch long

1шт.

3

70-3082T2

LARGE PLATE

BLOCK - pin retaining

3шт.

4

426-816

BOLT,Hex, 1/2" - 13 x 1", Gr 8

- hex, 1/2 NC x 1 inch, grade 8

6шт.

5

70-4320T1

HANDLE

- hitch release, replaces 70-6461T1 handle

2шт.

6

70-4324T1

THREADED ROD

LINK - hitch release

2шт.

7

70-6310T2

TRIGGER

LATCH - hitch release

2шт.

8

213-126

ADJUSTABLE CLEVIS,3/8"-24 x 2 1/2"

CLEVIS - adjustable, 3/8 inch NF

2шт.

9

427-6106

CLEVIS PIN,9.53mm OD x 26.92mm L

PIN, CLEVIS, , Hardened 3/8" x 1 1/16"

2шт.

10

432-616

COTTER PIN,3/32" x 1"

3/32" x 1"

4шт.

11

426-1072

BOLT,Hex, 5/8" - 11 x 4-1/2", Gr 8

- hex, 5/8 NC x 4-1/2 inch, G8

4шт.

12

232-41110

NUT,5/8"-11, GC

NUT, LOCK, 5/8"-11, GC

4шт.

13

70-4293T1

PIN,36.5mm OD x 125.73mm L

- hitch, lower

2шт.

14

425-156

JAM NUT,Jam, 3/8"-24, G5

- hex, jam, 3/8 inch NF

2шт.

15

19-5423

CLEVIS PIN

3/8 x 7/8"

2шт.

16

70-4340T1

COMPRESSION SPRING

2шт.

Выбрано товаров: 16