Запчасти Case IH 9350 (9-014) - LONG DRAWBAR (09) - CHASSIS/ATTACHMENTS

Схема запчастей Case IH 9350 - (9-014) - LONG DRAWBAR (09) - CHASSIS/ATTACHMENTS
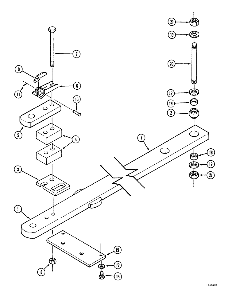
1
20
6
19
8
7
18
15
2
21
16
4
11
17
19
19
10
21
9
3
5
18
1
FIT
1:1
100%

Артикул

Название

Примечание

Количество

70-6718T91

DRAWBAR

ASSEMBLY - fixed, long, no longer available, order component parts separately, Includes: Ref. 1 - 11

1шт.

1

70-6400T91

DRAWBAR, SWINGING

DRAWBAR - tractor, 119-9/64 inch long, Includes: Ref. 2

1шт.

2

613524C91

SPHERICAL BEARING,44.44mm ID x 71.44mm OD x 38.89mm W

- self-aligning

1шт.

3

70-6263T2

LARGE PLATE

PLATE - spacer block

1шт.

4

70-6264T2

LARGE PLATE

BLOCK - spacer, 1-1/2 inch thick

2шт.

5

70-6265T1

LARGE PLATE

PLATE - hammerstrap

1шт.

6

70-6249T1

LATCH

- mount

1шт.

7

90-7494T1

SCREW,#0 - 8 x 9 1/4""

BOLT - hex, special, 1 NC x 9-1/4 inch

2шт.

8

425-1016

NUT,1"-8, G5

- hex, 1 inch NC

2шт.

9

1965315C2

LEVER

- hammerstrap

1шт.

10

527-204

CLEVIS PIN,M12 x 43

PIN - clevis, 10 x 43 mm

1шт.

11

432-816

COTTER PIN,1/8" x 1"

1/8" x 1"

1шт.

15

70-6394T1

LARGE PLATE

PLATE - drawbar retaining

1шт.

16

426-1216

SCREW

BOLT - hex, 3/4 NC x 1 inch, grade 8

2шт.

17

495-11081

WASHER,3/4", SAE

2шт.

18

70-5913T1

SPACER

- drawbar tube

2шт.

19

1-4088

WASHER,45mm ID x 69.9mm OD x 6.35mm Thk

- flat, 1-3/4 x 2-3/4 x 1/4 inch

3шт.

20

70-4189T1

PIN,44.37mm OD x 339.85mm L

- threaded, and center link

1шт.

21

70-6221T1

JAM NUT

- special locking

2шт.

Выбрано товаров: 19