Запчасти Case IH 9350 (9-102) - STORAGE BOX (09) - CHASSIS/ATTACHMENTS

Схема запчастей Case IH 9350 - (9-102) - STORAGE BOX (09) - CHASSIS/ATTACHMENTS
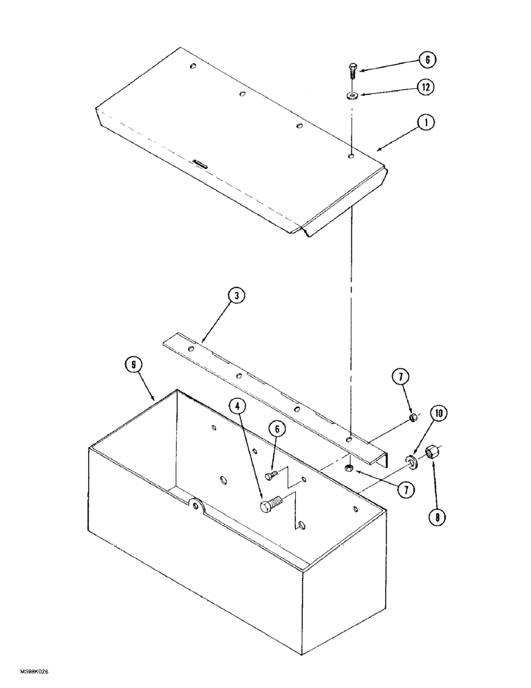
1
10
12
7
9
4
3
7
6
6
8
FIT
1:1
100%

Артикул

Название

Примечание

Количество

35-1978T91

PACKAGE

KIT - storage box, no longer available, order component parts separately, Includes: Ref. 1 - 12

1шт.

1

70-6747T1

PANEL

- top

1шт.

2

70-6745T1

SUPPORT

BRACKET - mounting, not shown, not used in this application

1шт.

3

70-6748T1

HINGE

- storage box

1шт.

4

426-828

BOLT,Hex, 1/2" - 13 x 1-3/4", Gr 8

- hex, 1/2 NC x 1-3/4 inch, grade 8

2шт.

5

426-820

BOLT,Hex, 1/2" - 13 x 1-1/4", Gr 8

Not shown, Not used in this application Hex, 1/2"-13 x 1 1/4", G8, Full Thd

2шт.

6

426-48

BOLT,Hex, 1/4" - 20 x 1/2", Gr 8

- hex, 1/4 NC x 1/2 inch, grade 8

7шт.

7

425-104

NUT,1/4"-20, Cl 5

- hex, 1/4 inch NC

7шт.

8

425-108

NUT,1/2" - 13, Gr 5

NUT, , Hex 1/2"-13, G5

2шт.

9

70-6752T1

BOX

- storage

1шт.

10

495-11053

WASHER,1/2", SAE

(17/32" x 1-1/16" x 3/32") 1/2", SAE

2шт.

12

495-11028

WASHER,1/4", SAE

(flat, 9/32 x 5/8 x 1/16") 1/4", SAE

4шт.

Выбрано товаров: 12