Запчасти Case IH 9350 (3-10) - THROTTLE CABLE BRACKETS (03) - FUEL SYSTEM

Схема запчастей Case IH 9350 - (3-10) - THROTTLE CABLE BRACKETS (03) - FUEL SYSTEM
4
6
1
5
2
3
7
FIT
1:1
100%

Артикул

Название

Примечание

Количество

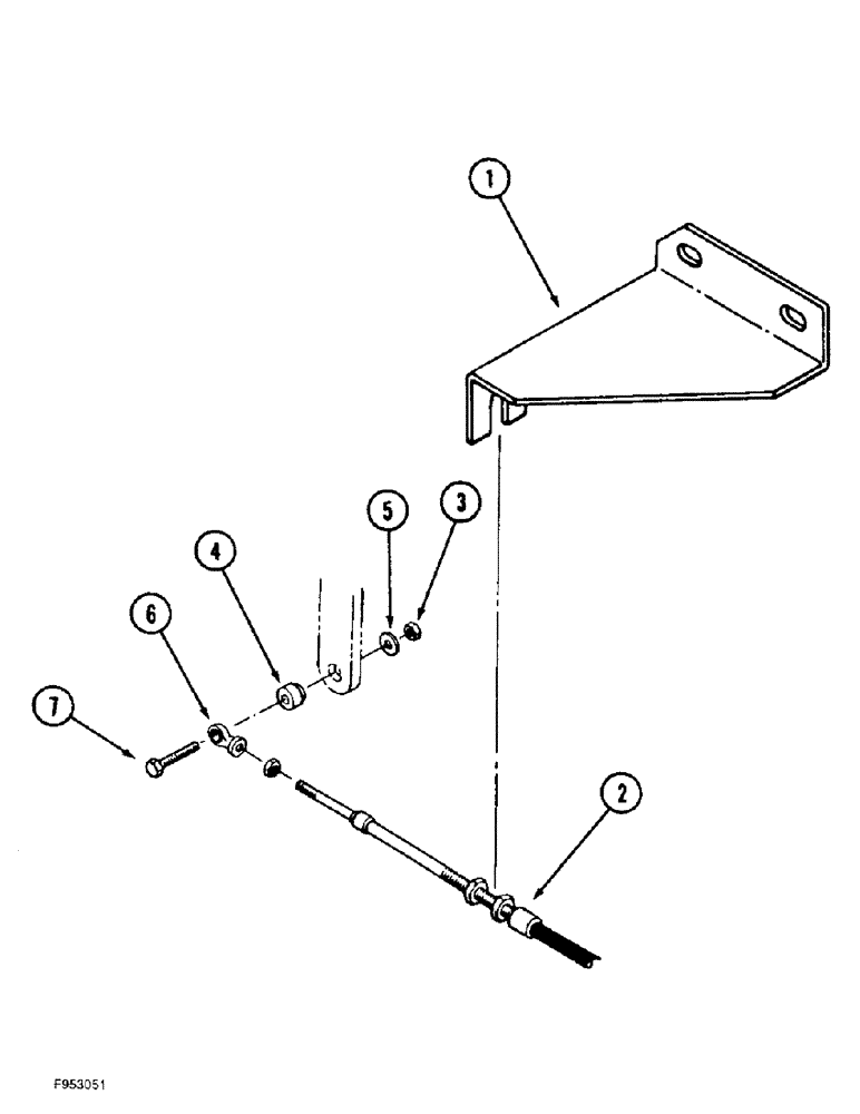
1

90-7728T1

SUPPORT

BRACKET - throttle cable

1шт.

2

60-6425T1

CABLE,3048mm L

- throttle

1шт.

3

86625057

NUT,#10-24, GB

NUT, LOCK, #10-24, GB

1шт.

4

90-7749T1

SPACER

Ball Joint

1шт.

5

495-31025

WASHER,3/16"

- flat, 1/4 x 9/16 x 3/64 inch

1шт.

6

H433283

BALL JOINT

JOINT - ball

1шт.

7

163-55

SCREW,Hex, #10 - 24 x 1 1/4", Gr 5

- machine, hex head, No. 10 NC x 1-1/4 inch

1шт.

Выбрано товаров: 7