Качественные детали и логистика
Оригинальные и аналоговые запчасти с доставкой по России, Казахстану и Беларуси
©2022 PartSell ООО "Система" ИНН 2463123282 ОГРН 1212400004838
Центральный офис: г. Красноярск, Академика Киренского, д.87, пом.4
Телефон: 8 (800) 777-65-74 Email: zakaz@partsell.ru
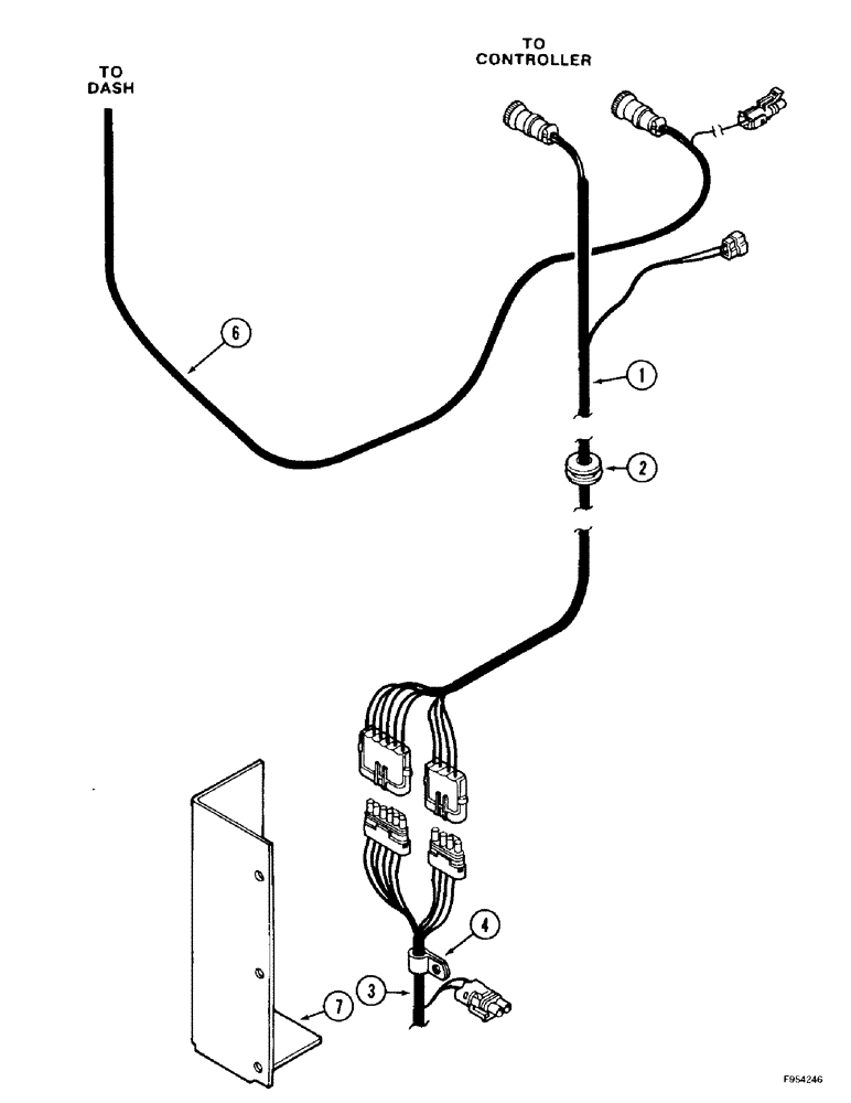
(4-22) - TRANSMISSION SOLENOID HARNESS, POWER SHIFT TRACTOR
№
Артикул
Название
Примечание
Количество
1
60-6288T1
HARNESS
- transmission solenoid, upper
1шт.
2
1-1051
GROMMET
- harness protection
3
60-6800T1
- transmission solenoid, lower
4
515-23190
CLAMP,3/4", Insul, 3/8" Bolt
P-type 3/4", Insul, 3/8" Bolt
6
60-6089T1
- dash display
7
50-3322T2
SHIELD
COVER - protective, transmission solenoids
Выбрано товаров: 0