Запчасти Case IH 9350 (4-24) - FRONT HEADLAMP HARNESS (04) - ELECTRICAL SYSTEMS

Схема запчастей Case IH 9350 - (4-24) - FRONT HEADLAMP HARNESS (04) - ELECTRICAL SYSTEMS
6
7
2
4
1
2
2
3
3
5
5
3
FIT
1:1
100%

Артикул

Название

Примечание

Количество

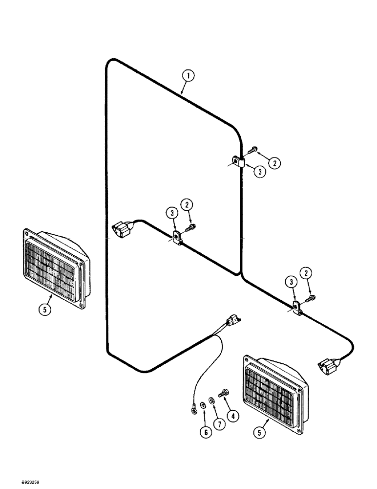
1

60-6783T2

HARNESS

- headlamp, front

1шт.

2

281-14712

SELF-TAP SCREW,Hex Washer, 1/4" - 20 x 3/4"

SCREW - self-tapping, hex washer head, 1/4 NC x 3/4 inch

3шт.

3

515-2395

CLAMP,3/8", Insul, 3/8" Bolt

3шт.

4

281-14812

SELF-TAP SCREW,Hex Washer, 5/16" - 18 x 3/4"

SCREW - self-tapping, hex washer head, 5/16 NC x 3/4 inch

1шт.

5

60-6730T91

HEADLIGHT

LAMP - head

2шт.

6

493-41039

LOCK WASHER,Ext Tooth, 3/8"

WASHER, LOCK, Ext Tooth, 3/8"

1шт.

7

495-21038

WASHER,5/16"

(flat, 3/8 x 7/8 x 3/32") 5/16"

1шт.

Выбрано товаров: 7