Запчасти Case IH 9350 (4-34) - GAUGE PANEL, P.I.N. JEE0071001 AND AFTER (04) - ELECTRICAL SYSTEMS

Схема запчастей Case IH 9350 - (4-34) - GAUGE PANEL, P.I.N. JEE0071001 AND AFTER (04) - ELECTRICAL SYSTEMS
28
19
33
42
19
35
20
39
25
34
21
4
24
3
2
41
10
34
24
20
22
30
42
9
37
42
38
26
36
29
12
36
43
40
8
27
5
22
35
34
21
31
11
23
22
1
32
6
FIT
1:1
100%

Артикул

Название

Примечание

Количество

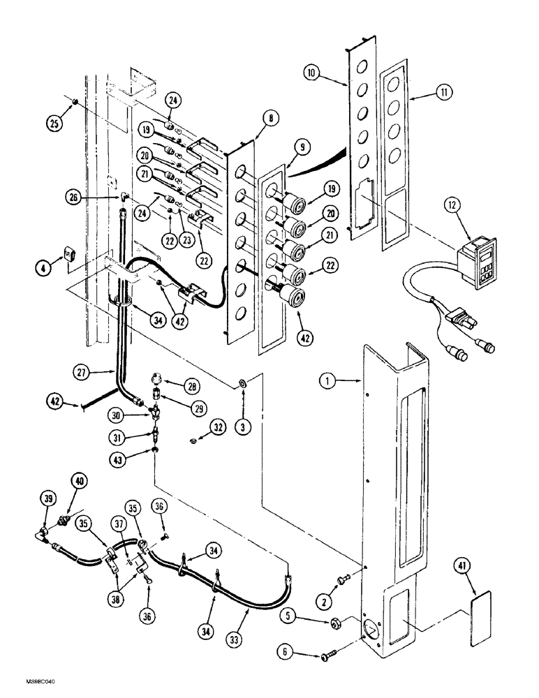
1

60-7056T1

COVER

- panel, cab

1шт.

1

60-6166T1

COVER

- panel, ROPS, not shown

1шт.

2

19-6136

STUD

- quarter turn

6шт.

3

19-5668

WASHER

- flat, 1/4 x 3/4 x 3/16 inch, five washers used on ROPS

6шт.

4

A36042

CLIP

RETAINER - quarter turn, five retainers used on ROPS

6шт.

5

230-14106

LOCK NUT,#6-32, GB

NUT - hex, self-locking, No. 6 NC

4шт.

6

140-101

SCREW,Cross Pan Hd, #6 - 32 x 1/2"

4шт.

8

60-5756T1

PANEL

- gauge, if used

1шт.

9

60-5939T3

DECAL

- gauge panel, if used

1шт.

10

60-7295T1

PANEL ASSY.

PANEL - gauge, if used

1шт.

Part of area meter installation kit P/N 35 - 2012T91

1шт.

11

60-7297T1

DECAL

- gauge panel, if used

1шт.

Part of area meter installation kit P/N 35 - 2012T91

1шт.

12

60-7298T1

METER

- area, if equipped

1шт.

Part of area meter installation kit P/N 35 - 2012T91

1шт.

19

20-2466T2

VOLTMETER

GAUGE - voltmeter

1шт.

20

20-2464T2

FUEL GAUGE

GAUGE - fuel level

1шт.

21

20-2465T2

GAUGE ASSY.

GAUGE - water temperature, engine

1шт.

22

60-6145T2

OIL PRESSURE GAUGE

GAUGE - oil pressure, engine

2шт.

23

23731R1

BULB,C2F, #1893, 14V

- lamp, No.1893

4шт.

24

60-6292T4

HARNESS

- instrument panel lamp

1шт.

25

9411893

LOCK NUT,#10-32, GB

NUT - hex, self-locking, No. 10 NF

4шт.

26

31-2740

ELBOW

- 90 degree, 1/8 PT x 7/16 inch thread

1шт.

27

31-3213

HOSE

- 1143 mm (45 inch) long

1шт.

28

60-6330T1

ASSEMBLY

SWITCH - oil pressure, engine

1шт.

29

218-1557

HYD CONNECTOR,37º, Sw, 7/16"-20 x 1/8"-27 NPTF

ADAPTER - straight, 7/16-20 swivel x 1/8 inch female PT

1шт.

30

218-5478

TEE,7/16" - 20 JIC x 7/16" - 20 JIC x 7/16" - 20 JIC

- 7/16-20 inch flare branch x flare x swivel

1шт.

31

218-671

FITTING,Blkhd, 7/16"-20, 37 Degree x 7/16"-20, 37 Degree

ADAPTER - straight, 7/16-20 inch flare x bulkhead flare

1шт.

32

64-146

PLUG

- hole, access

1шт.

33

31-3024

HOSE

- 2743 mm (108 inch) long

1шт.

34

22-824

CABLE TIE,3/16" x 7 1/4"

STRAP - tie, 7 inch

6шт.

35

515-23190

CLAMP,3/4", Insul, 3/8" Bolt

P-type 3/4", Insul, 3/8" Bolt

4шт.

36

426-612

BOLT,Hex, 3/8" - 16 x 3/4", Gr 8

- hex, 3/8 NC x 3/4 inch, grade 8

2шт.

37

425-106

NUT,3/8"-16, Cl 5

2шт.

38

90-5994T1

SUPPORT

BRACKET - mounting, cable clamp

2шт.

39

218-5228

ELBOW,90 Degree, 7/16"-20, 37 Degree x 7/16"-20, 37 Degree Fem Sw

- 90 degree, 7/16-20 inch flare x swivel

1шт.

40

218-1022

HYD CONNECTOR,7/16"-20, 37 Degree x 1/4"-18, NPTF

ADAPTER - straight, 7/16-20 flare x 1/4 inch PT

1шт.

41

REF

INSTRUCTION

DECAL - gauge panel mph, see Figure 9-114 for correct decal

1шт.

42

60-7130T1

SIGHTGLASS

DISPLAY - steering, steerable axle models only

1шт.

43

425-117

NUT,7/16"-20, G5

- hex, 7/16 inch NF

1шт.

35-2010T91

PACKAGE, REPAIR

KIT - area meter installation, includes (1) 60-7298T1 meter, Ref. 12, and (2) 22-824 tie wraps, not shown, Start Serial: JEE0072111

1шт.

35-2011T91

PACKAGE, REPAIR

KIT - area meter installation, Includes: Ref. 10 - 12, Serial Range: -JEE0072111

1шт.

35-2012T91

IGNITION SWITCH

KIT - implement status switch, not shown, includes (1) 221545A1 switch and (2) 221546A1 harness, may be used with area meter

1шт.

Выбрано товаров: 43