Запчасти Case IH 9350 (4-80) - STEERABLE AXLE HARNESS (04) - ELECTRICAL SYSTEMS

Схема запчастей Case IH 9350 - (4-80) - STEERABLE AXLE HARNESS (04) - ELECTRICAL SYSTEMS
16
20
19
25
9
10
11
24
1
16
3
7
17
15
18
8
26
22
2
16
15
5
6
FIT
1:1
100%

Артикул

Название

Примечание

Количество

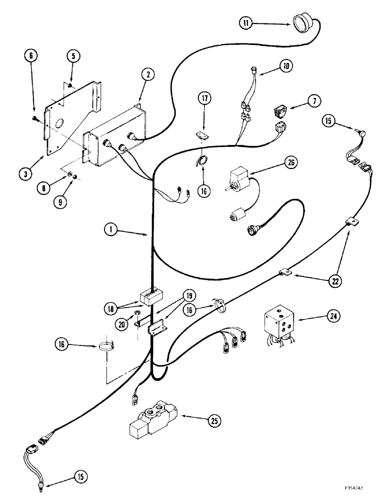
1

60-7135T1

RELAY

HARNESS - steering axle

1шт.

2

60-7127T4

TESTER

CONTROLLER - electronic, steerable axle

1шт.

3

60-7094T1

SUPPORT

BRACKET - control box

1шт.

5

425-105

NUT,5/16"-18, G5

- hex, 5/16 inch NC

4шт.

6

426-412

BOLT,Hex, 1/4" - 20 x 3/4", Gr 8

- hex, 1/4 NC x 3/4 inch, grade 8

2шт.

7

245012C1

SWITCH

- rocker

2шт.

8

495-11028

WASHER,1/4", SAE

(flat, 9/32 x 5/8 x 1/16") 1/4", SAE

2шт.

9

231-1444

NUT,1/4"-20, GB

NUT, LOCK, 1/4"-20, GB

2шт.

10

1-7128

IGNITION SWITCH

SWITCH - calibration

1шт.

11

60-7130T1

SIGHTGLASS

DISPLAY - steering

1шт.

15

60-7129T2

POTENTIOMETER,1000 Ohm

Electrical 1000 Ohm

2шт.

16

22-824

CABLE TIE,3/16" x 7 1/4"

STRAP - tie, 7 inch

3шт.

17

22-823

MOUNT

MOUNT - adhesive back, strap

1шт.

18

60-6066T1

FOAM

SEAL - foam

2шт.

19

60-6065T1

ANGLE BAR

ANGLE - retaining, foam

2шт.

20

231-1445

NUT,5/16"-18, GB

NUT - hex, self-locking, 5/16 inch NC

4шт.

22

515-23127

CLAMP,1/2", Insul, 3/8" Bolt

P-type 1/2", Insul, 3/8" Bolt

2шт.

24

50-3081T92

VALVE

ASSEMBLY - makeup, parts list Figure 5-38

1шт.

25

50-3234T92

VALVE

ASSEMBLY - double selector, parts list Figure 5-36

1шт.

26

60-7125T91

TRANSMITTER

ENCODER ASSEMBLY - steerable axle, parts list Figure 4-82

1шт.

Выбрано товаров: 0