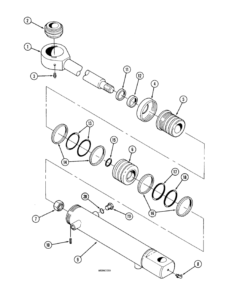
Запчасти Case IH 9350 (5-34) - STEERING CYLINDER, STEERABLE FRONT AXLE CYLINDERS, P.I.N. JEE0074300 AND AFTER (05) - STEERING

Схема запчастей Case IH 9350 - (5-34) - STEERING CYLINDER, STEERABLE FRONT AXLE CYLINDERS, P.I.N. JEE0074300 AND AFTER (05) - STEERING
7
12
9
1
19
15
18
10
2
17
3
5
4
8
6
16
20
11
14
13
FIT
1:1
100%

Артикул

Название

Примечание

Количество

50-3668T91

STEERING CYLINDER

CYLINDER ASSEMBLY - steering, Includes: Ref. 1 - 20

1шт.

1

50-3667T1

ROD

- piston

1шт.

2

70-5517T1

BUSHING,38.09mm ID x 54.74mm OD x 33.33mm L

BEARING - self-aligning

1шт.

3

86636814

LUBE NIPPLE,1/4"-28 x .52" lg

FITTING - grease, straight, 1/4-28 special threads x 1/2"

1шт.

4

50-3660T1

COLLAR

- locking, rod guide

1шт.

5

50-3659T1

GUIDE

- rod

1шт.

6

50-3026T1

JACK PISTON

PISTON - cylinder

1шт.

7

19-5578

LOCK NUT

- hex, self-locking

1шт.

8

219-57

LUBE NIPPLE,90 Degree Elbow, 1/4" - 28 NPTF

FITTING - grease, 90 degree, 1/4-28 taper x 3/4 inch

1шт.

9

50-3665T1

TUBE ASSY.

TUBE - cylinder

1шт.

10

38-31208

PIN,3/16" x 1/2", Coiled

1шт.

50-3669T1

SEAL KIT

KIT - seal, Includes: Ref. 11 - 20

1шт.

11

D95142

WIPER SEAL,1.5" ID x 2" OD x 0.31" Thk

WIPER - piston rod

1шт.

12

G107921

SEAL,38.07mm ID x 50.93mm OD x 10.69mm Thk

- U-cup, piston rod, wide, with O-ring

1шт.

13

238-5232

O-RING,0.139" Thk x 2.734" ID, -232, Cl 5, 75 Duro

Guide rod -232, 70 Duro, 2.734" ID x .139" Thk

2шт.

14

50-2299T1

SEAL,69.85mm ID x 76.2mm OD x 1.09mm Thk

- backup, seal

2шт.

15

238-5214

O-RING,0.139" Thk x 0.984" ID, -214, Cl 5, 75 Duro

Piston rod -214, 70 Duro, .984" ID x .139" Thk

1шт.

16

2-1287

WEAR RING,Split, 69.85mm ID x 76.2mm OD x 6.35mm Thk

RING - wear, piston

2шт.

17

238-5145

O-RING,0.103" Thk x 2.55" ID, -145, Cl 5, 75 Duro

1шт.

18

2-1289

SEAL,71.02mm ID x 76.86mm OD x 2.92mm Thk

- piston

1шт.

19

214389

PLUG,3/4" - 16 ORB

Includes Ref. 20 Hex Hd, 3/4"-16 ORB

1шт.

20

237-6008

O-RING,0.087" Thk x 0.644" ID, -908, Cl 6, 90 Duro

8-1, 90 Duro, .644" ID x .087" Thk

1шт.

Выбрано товаров: 22