Запчасти Case IH 9370 (6-096) - 24 SPEED SYNCHROSHIFT TRANSMISSION ASSEMBLY, REGULATOR VALVE (06) - POWER TRAIN

Схема запчастей Case IH 9370 - (6-096) - 24 SPEED SYNCHROSHIFT TRANSMISSION ASSEMBLY, REGULATOR VALVE (06) - POWER TRAIN
11
9
13
7
2
16
4
6
5
1
10
12
14
9
13
15
3
8
12
FIT
1:1
100%

Артикул

Название

Примечание

Количество

90-7812T91

TRANSMISSION

ASSEMBLY - mechanical shift, 24-speed, parts list Figures 6-066 - 6-100, Includes: Ref. 1 - 16

1шт.

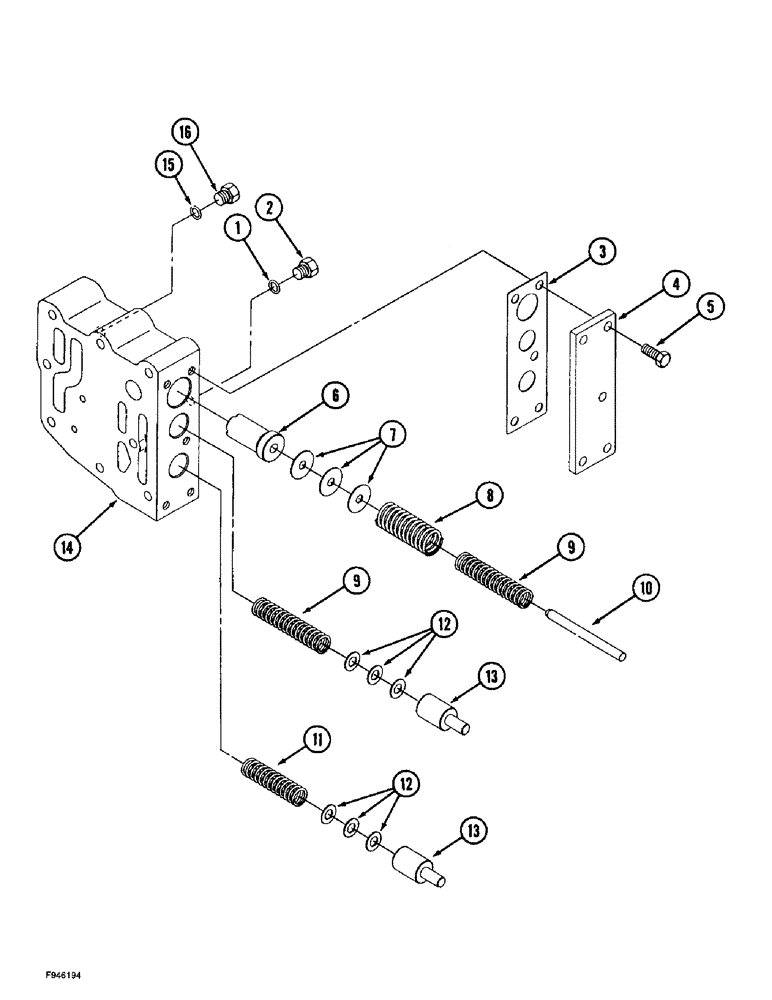
S7000S01F

VALVE

ASSEMBLY - regulator, Includes: Ref. 1 - 16

1шт.

1

S1040S00F

O-RING

- plug

9шт.

Part of transmission gasket kit P/N 90-8401T91.

1шт.

2

S1030S00F

PLUG

- hex, O-ring boss

1шт.

3

S7090S00F

GASKET

- valve cover

1шт.

Part of transmission gasket kit P/N 90-8401T91.

1шт.

4

S7110S00F

COVER

- valve body

1шт.

5

614-8020

BOLT,Hex, M8 x 1.25 x 20mm

- hex, full threads, 8 - 1.25 x 20 mm

5шт.

6

S7030S01F

VALVE

- regulator

1шт.

7

S7010S00F

SHIM,.039" Thk

1шт.

8

S7120S00F

SPRING

- compression

1шт.

9

S7050S00F

SPRING

- compression

2шт.

10

S7020S00F

STEM

ROD - pressure

1шт.

11

S7070S00F

SPRING

- compression

1шт.

12

S7080S00F

SHIM,.031" Thk

1шт.

13

S7060S00F

VALVE

- lube

2шт.

14

NSS

NOT SOLD SEPARAT

HOUSING - body, regulator, replaces S7040S00F body

1шт.

15

S1320S00F

O-RING

- plug

1шт.

Part of transmission gasket kit P/N 90-8401T91.

1шт.

16

S1390S00F

PLUG

- O-ring boss

1шт.

90-7927T92

GASKET KIT

KIT - gasket, transmission, Includes: parts on Figures 6-066 - 6-100, prior to P.I.N. JEE0071001

1шт.

90-8401T91

GASKET KIT

KIT - gasket, transmission, Includes: Ref. 1, 3, and 15, and parts on Figures 6-066 - 6-100, P.I.N. JEE0071001 and after

1шт.

Выбрано товаров: 23